GM Service Manual Online
For 1990-2009 cars only
Makes
🢒
Chevrolet
🢒
1999
🢒
Chevy P12 Chassis
🢒
Steering
🢒
Power Steering System
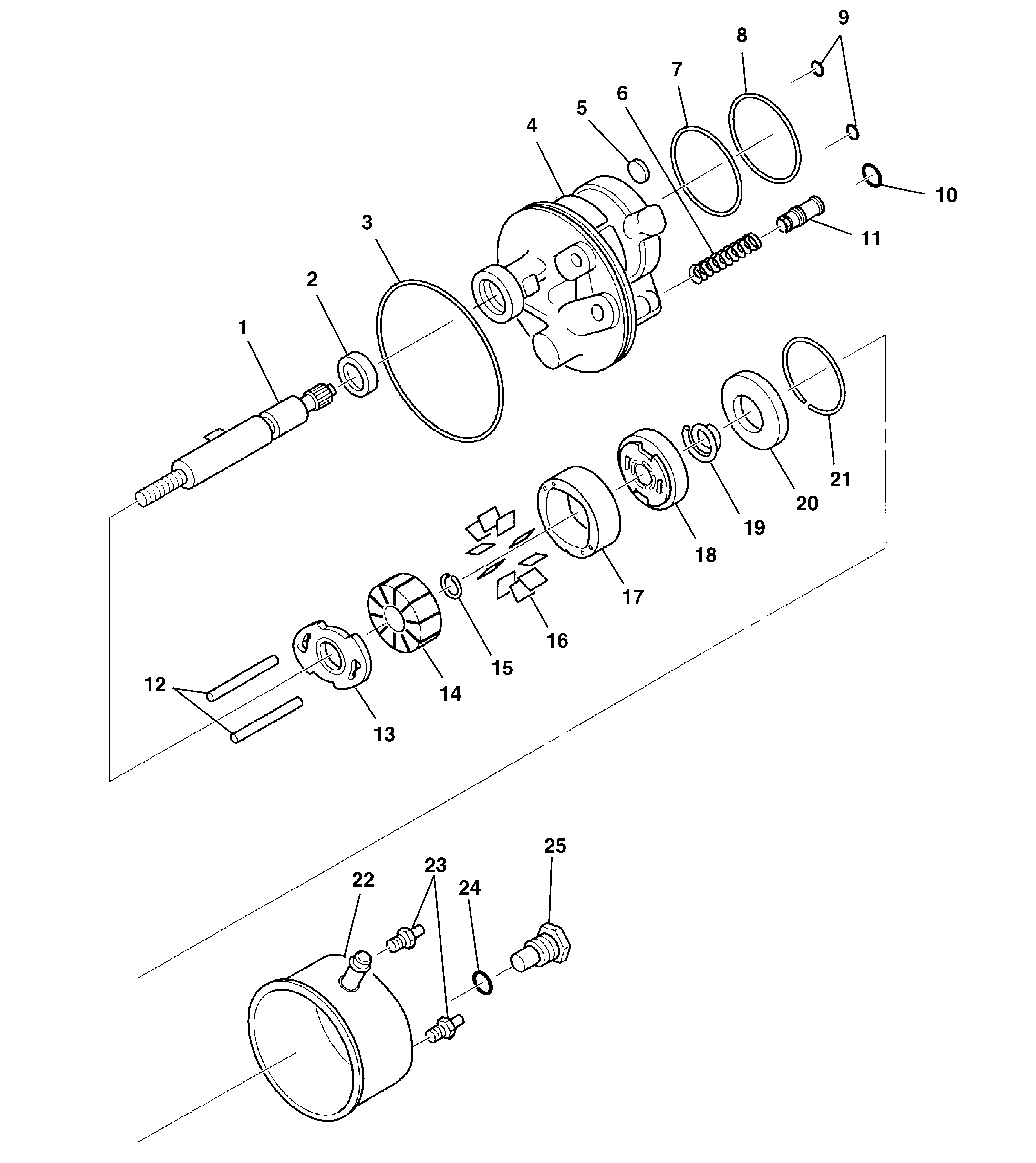
🢒 Power Steering Pump Disassembled View
Power Steering Pump
(1)
Drive Shaft
(2)
Drive Shaft Seal
(3)
O-ring Seal
(4)
Pump Housing Assembly
(5)
Magnet
(6)
Flow Control Spring
(7)
O-ring Seal
(8)
O-ring Seal
(9)
(Housing to Stud) O-ring Seals
(10)
Rectangular Section Seal
(11)
Control Valve Assembly
(12)
Dowel Pins
(13)
Thrust Plate
(14)
Pump Rotor
(15)
Shaft Retaining Ring
(16)
Pump Vane
(17)
Pump Ring
(18)
Pressure Plate
(19)
Pressure Plate Spring
(20)
End Plate
(21)
End Plate Retaining Ring
(22)
Reservoir Assembly
(23)
Pump Mounting Studs
(24)
O-ring Seal
(25)
Connector and Fitting Assembly