GM Service Manual Online
For 1990-2009 cars only

Removal Procedure

  1. Remove the relay rod. Refer to Relay Rod Replacement .

  2. Object Number: 247455  Size: SH
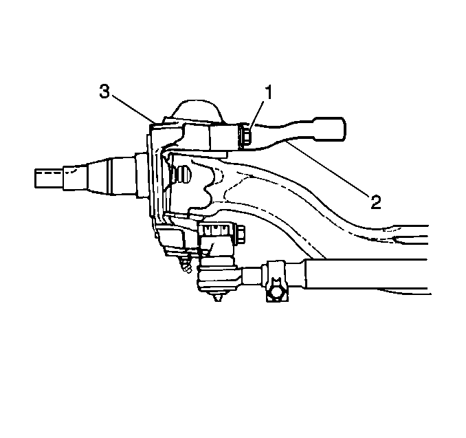
  3. Remove the steering arm bolt(s) (1) and the flat washers from the steering arm (2).
  4. Remove the steering arm (2).
  5. Important: The steering arm is non-repairable. Replace the steering arm if it is damaged or worn.

  6. Inspect the steering arm for the following conditions:
  7. • Damage
    • Wear

Installation Procedure


    Object Number: 247455  Size: SH
  1. Install the steering arm (2) to the knuckle (3).
  2. Install the flat washers.
  3. Notice: Use the correct fastener in the correct location. Replacement fasteners must be the correct part number for that application. Fasteners requiring replacement or fasteners requiring the use of thread locking compound or sealant are identified in the service procedure. Do not use paints, lubricants, or corrosion inhibitors on fasteners or fastener joint surfaces unless specified. These coatings affect fastener torque and joint clamping force and may damage the fastener. Use the correct tightening sequence and specifications when installing fasteners in order to avoid damage to parts and systems.

  4. Install the steering arm bolt(s) (1).
  5. Tighten
    Tighten the steering arm bolts to 620-700 N·m (457-516 lb ft).

  6. Install the relay rod to the steering arm. Refer to Relay Rod Replacement .