GM Service Manual Online
For 1990-2009 cars only

Object Number: 282729  Size: SH

       Notice: Vehicles involved in accidents resulting in frame damage, major body or sheet metal damage, or where the steering column has been impacted, may also have a damaged or a misaligned steering column.

       Important: All capsules must be securely seated in the bracket slots and checked for any loose conditions when pushed or pulled by hand.

    • Replace the jacket assembly if loose conditions prevail. Refer to Steering Shaft, Lower Bearing, and Jacket - Disassemble - Off Vehicle and Steering Shaft, Lower Bearing, and Jacket - Assemble - Off Vehicle .
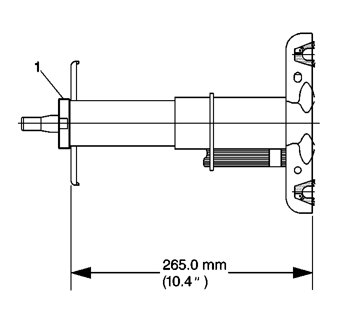
    • Inspect the jack assembly collapse by measuring the distance as shown between adapter and bearing assembly (1) (when removed) and the bracket midpoint holes. If the measured dimension is not within specifications, a new jacket assembly must be installed.
    • Inspect the steering shaft for sheared injected plastic.
    • Replace the shaft or the column if sheared plastic is found.
    • Inspect for any frame damage which could cause a bent steering shaft.