GM Service Manual Online
For 1990-2009 cars only
Makes
🢒
Chevrolet
🢒
1999
🢒
Chevy P12 Chassis
🢒
Body and Accessories
🢒
Wipers/Washer Systems
🢒 Wiper/Washer Component Views
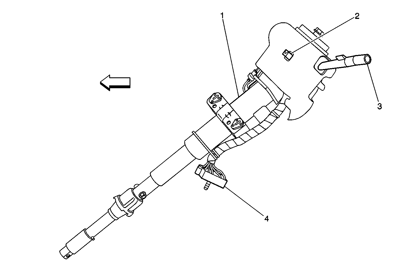
Figure
1:
Engine to Steering Column
(1)
Steering Column Assembly
(2)
Hazard Lamp Switch
(3)
Multifunction Turn Signal Lever
(4)
Steering Column Connector
Figure
2:
Dash Wiring-Right Side
(1)
Park Brake Pull Button Switch Connector
(2)
Windshield Wiper Pulse Control Module Connector
(3)
Accelerator Pedal Position (APP) Sensor Connector
(4)
Stoplamp Switch Connector
(5)
S223
(6)
S224