GM Service Manual Online
For 1990-2009 cars only

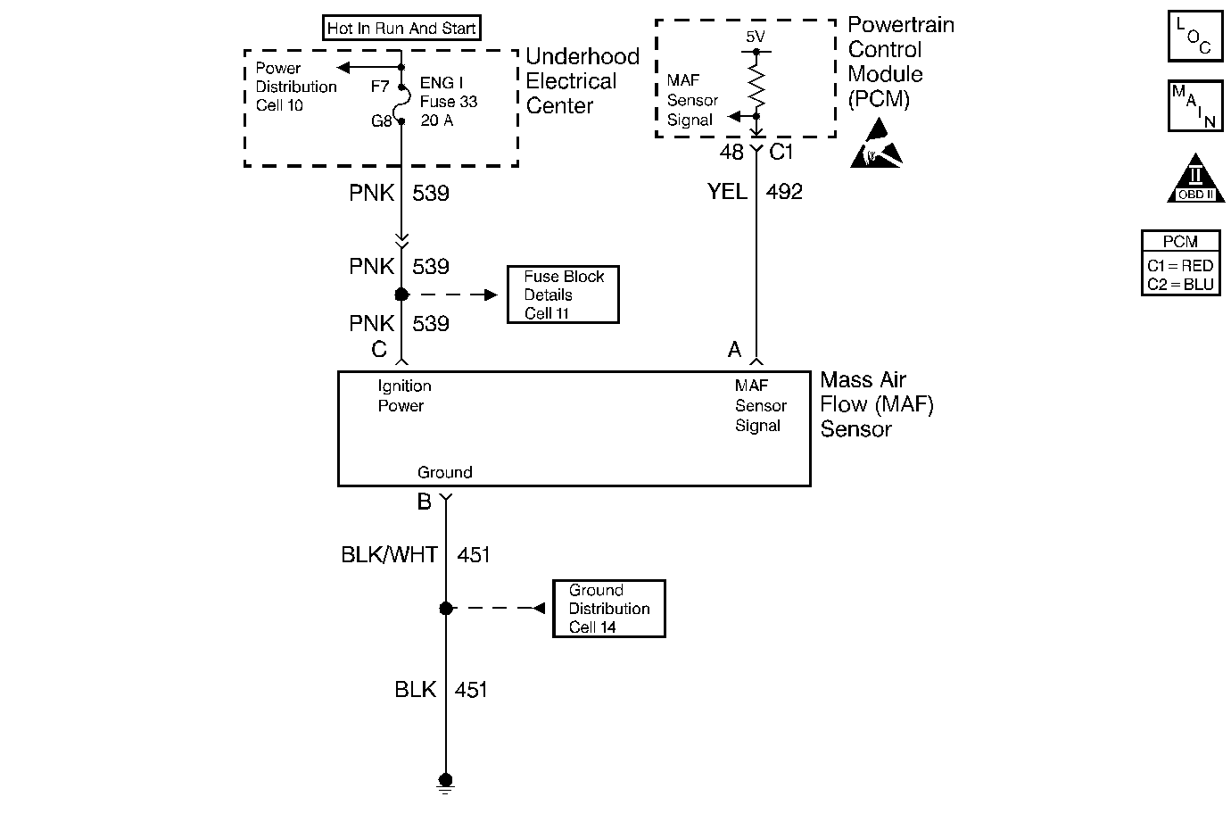
Object Number: 214754  Size: MF
Engine Controls Components
Cell 20: Engine Data Sensors 3 - MAF, VSS, and Speedometer
OBD II Symbol Description Notice
Handling ESD Sensitive Parts Notice

Circuit Description

The Mass Air Flow (MAF) sensor measures the amount of air that is ingested by the engine. The direct measurement of air entering the engine is more accurate than calculating the airflow from speed/density (MAP, IAT, and RPM ). The MAF sensor has a battery feed, ground and signal circuit. The MAF sensor used on this vehicle is a hot wire type and is used to measure the air flow rate. The MAF output frequency is a function of the power required to keep the air flow sensing elements (hot wires) at a fixed temperature above ambient temperature. Air flowing through the sensor cools the sensing elements. The amount of cooling is proportional to the amount of air flow. As the air flow increases, a greater amount of current is required to maintain the hot wires at a constant temperature. The MAF sensor converts the changes in current draw to a frequency signal which is read by the PCM. The PCM calculates air flow (gram per seconds) based on this signal. The PCM monitors the MAF sensor frequency and can determine if the sensor is stuck low, high, or not providing the airflow value expected for a given operating condition. Another possibility the signal appears to be stuck based on a lack of signal variation expected during normal operation. This diagnostic checks for too low of an airflow rate. When the PCM detects that the MAF sensor grams per second is below a predetermined value.

Conditions for Setting the DTC

    • The engine is OFF
    • The ignition is ON for 2 seconds
    • MAF sensor is no more than 60Hz

Low Frequency Test

    • The engine is running.
    • Engine run time is greater than 0.4 seconds.
    • System voltage isgreater than 8.0 volts.
    • Throttle Position is less than 89.8%.
    • MAF signal frequency is no more than 2 g/s.
    • Above conditions present for greater than 2 seconds
    •  This DTC sets if the signal from the MAF senor measures below the possible range of a normally operating MAF sensor.

Action Taken When the DTC Sets

    • The PCM turns on the malfunction indicator lamp (MIL) after 2 consecutive driving cycles with the fault active.
    • The PCM will utilize speed density (RPM, MAP, IAT) for fuel management.
    • The PCM will record operating conditions at the time the diagnostic fails. The first time the diagnostic fails, this information will be stored in Failure Records. If the diagnostic reports a failure on the second consecutive drive trip, the operating conditions at the time of failure will be written to Freeze Frame and the Failure record will be updated.

Conditions for Clearing the MIL/DTC

    • The PCM turns the MIL OFF after 3 consecutive drive trips when the test has Run and Passed and not Failed.
    • A history DTC will clear if no fault conditions have been detected for 40 warm-up cycles (coolant temperature has risen 22°C (40°F) from the startup coolant temperature and the engine coolant temperature exceeds 70°C (160°F) during the same ignition cycle).
    • Use the scan tool Clear Information function.
    • A last test failed (Current DTC) will clear when the diagnostic runs and does not fail.
    • Disconnect the PCM battery feed for 30 seconds.

Diagnostic Aids

Important: Water entering the air intake system that reaches the MAF sensor could cause this DTC to set. The water rapidly cools the hot wires in the sensor, causing a false indication of excessive airflow. Inspect the air intake system for evidence (witness marks) of water intrusion.

Inspect for a poor connections at the PCM. Perform the following procedures:

    •  Inspect harness connectors for the following conditions:
       - Backed out terminals
       - Improper mating
       - Broken locks
       - Improperly formed or damaged terminals
       - Poor terminal to wire connection
    • Inspect for a misrouted harness. Inspect the MAF sensor harness in order to ensure that it is not routed too close to high voltage wires such as spark plug leads.
    • Inspect for a damaged harness. Inspect the wiring harness for damage. If the harness appears to be OK, observe the scan tool while moving the connectors and the wiring harnesses related to the MAF sensor. A change in the display indicates the location of the fault.
    • Inspect for any unmetered air. Unmetered air may cause this DTC to set. Inspect for the following conditions:
       - An engine vacuum leak
       - The PCV system for vacuum leaks
       - An incorrect PCV valve
       - The oil dip stick not fully seated
       - The engine oil fill cap loose or missing

For any test that requires probing the PCM or component harness connectors, use the Connector Test Adapter Kit J 35616 . Using this kit prevents any damage to the harness connector terminals.

Test Description

The numbers below refer to the step numbers on the diagnostic table.

  1. Monitoring the MAF sensor frequency will determine if the fault is present or the malfunction is intermittent. For any test that requires probing the PCM or component harness connectors, use the Connector Test Adapter Kit J 35616 . Using this kit will prevent any damage to the harness connector terminals.

  2. Using the Freeze Frame and/or Failure Records data may aid in locating an intermittent condition. If you cannot duplicate the DTC, the information included in the Freeze Frame and/or Failure Records data can help determine how many miles since the DTC set. The Fail Counter and Pass Counter can also help determine how many ignition cycles the diagnostic reported a pass and/or a fail. Operate the vehicle within the same freeze frame conditions (RPM, load, vehicle speed, temperature etc.) that you observed. This will isolate when the DTC failed. For any test that requires probing the PCM or component harness connectors, use the Connector Test Adapter Kit J 35616 . Using this kit prevents any damage to the harness connector terminals.

  3. This step checks whether the MAF sensor signal circuit is open or shorted to a ground. If 5.0 volts is present the circuit is OK.

  4. This step checks whether the B+ supply and the ground circuit are OK.

  5. This step checks whether B+ is available at the MAF sensor.

  6. Inspect the ENG-1 20 amp fuse for being open. If the fuse is open, inspect the MAF sensor ignition feed circuit for a short to ground. If no voltage is on the ignition feed circuit to the MAF sensor, inspect the ignition relay for proper operation. Probe both sides of the ENG-1 fuse in order to determine if the ignition switch is suppling the voltage. Refer to Body and Accessories for further diagnosis of the ignition switch.

  7. Inspect for proper terminal tension/connections at the PCM harness before replacing the PCM.

Step

Action

Value(s)

Yes

No

1

Did you perform the Powertrain On-Board Diagnostic (OBD) System Check?

--

Go to Step 2

Go to Powertrain On Board Diagnostic (OBD) System Check

2

  1. Install a scan tool.
  2. Idle the engine.
  3. Monitor the MAF sensor frequency display on the Engine 2 Data List of the scan tool.

Is the MAF sensor frequency below the specified value?

10 Hz

Go to Step 4

Go to Step 3

3

  1. Turn ON the ignition leaving the engine OFF.
  2. Review the Freeze Frame and/or Failure Records data for this DTC and observe the parameters.
  3. Turn OFF the ignition for 15 seconds.
  4. Start the engine.
  5. Operate the vehicle within the conditions required for this diagnostic to run, and as close to the conditions recorded in the Freeze Frame/Failure Records as possible. Special operating conditions that you need to meet before the PCM will run this diagnostic, where applicable, are listed in Conditions for Setting the DTC.
  6. Select the Diagnostic Trouble Code (DTC) option, the Specific DTC option, then enter the DTC number using the scan tool.

Does the scan tool indicate that this diagnostic failed this ignition?

--

Go to Step 4

Go to Diagnostic Aids

4

  1. Turn OFF the ignition.
  2. Disconnect the MAF sensor connector.
  3. Turn ON the ignition leaving the engine OFF.
  4. Measure the voltage between the MAF sensor signal circuit and the battery ground using a DMM J 39200 .

Is the voltage near the specified value?

5.0V

Go to Step 5

Go to Step 8

5

Connect a test lamp J 35616-200 between the MAF sensor ignition feed circuit and the ground circuit at the MAF sensor harness connector.

Is the test lamp illuminated?

--

Go to Step 7

Go to Step 6

6

Connect a test lamp J 35616-200 between the MAF sensor ignition feed circuit and the battery ground.

Is the test lamp illuminated?

--

Go to Step 9

Go to Step 10

7

  1. Check for a poor connection at the MAF sensor harness terminals.
  2. If you find a poor connection, replace the faulty terminal(s).

Did you find a poor connection?

--

Go to Step 13

Go to Step 11

8

  1. Check the MAF sensor signal circuit between the PCM and the MAF sensor for the following:
  2. • An open circuit
    • Short to a ground
    • Short to the MAF sensor ground circuit
    • Short to voltage
  3. If you find the MAF sensor signal circuit is open or shorted, repair the circuit as necessary.

Did you find the MAF sensor signal circuit open or shorted?

--

Go to Step 13

Go to Step 12

9

Locate and repair the open in the ground circuit to the MAF sensor. Refer to Wiring Repairs in wiring systems.

Is the action complete?

--

Go to Step 13

--

10

Repair the ignition feed circuit to the MAF sensor. Refer to Wiring Repairs in wiring systems.

Is the action complete?

--

Go to Step 13

--

11

Replace the MAF sensor. Refer to Mass Airflow Sensor Replacement .

Is the action complete?

--

Go to Step 13

--

12

Important:: Program the replacement PCM. Refer to Powertrain Control Module Replacement .

Replace the PCM.

Is the action complete?

--

Go to Step 13

--

13

  1. Select the Diagnostic Trouble Code (DTC) option and the Clear DTC Information option using the scan tool.
  2. Idle the engine at the normal operating temperature.
  3. Select the Diagnostic Trouble Code (DTC) option and the Specific DTC option, then enter the DTC number using the scan tool.
  4. Operate the vehicle within the Conditions for Setting the DTC as specified in the supporting text, if applicable.

Does the scan tool indicate that this test ran and passed?

--

Go to Step 14

Go to Step 2

14

Select the Capture Info option and the Review Info option using the scan tool.

Does the scan tool display any DTCs that you have not diagnosed?

--

Go to the applicable DTC table

System OK