GM Service Manual Online
For 1990-2009 cars only

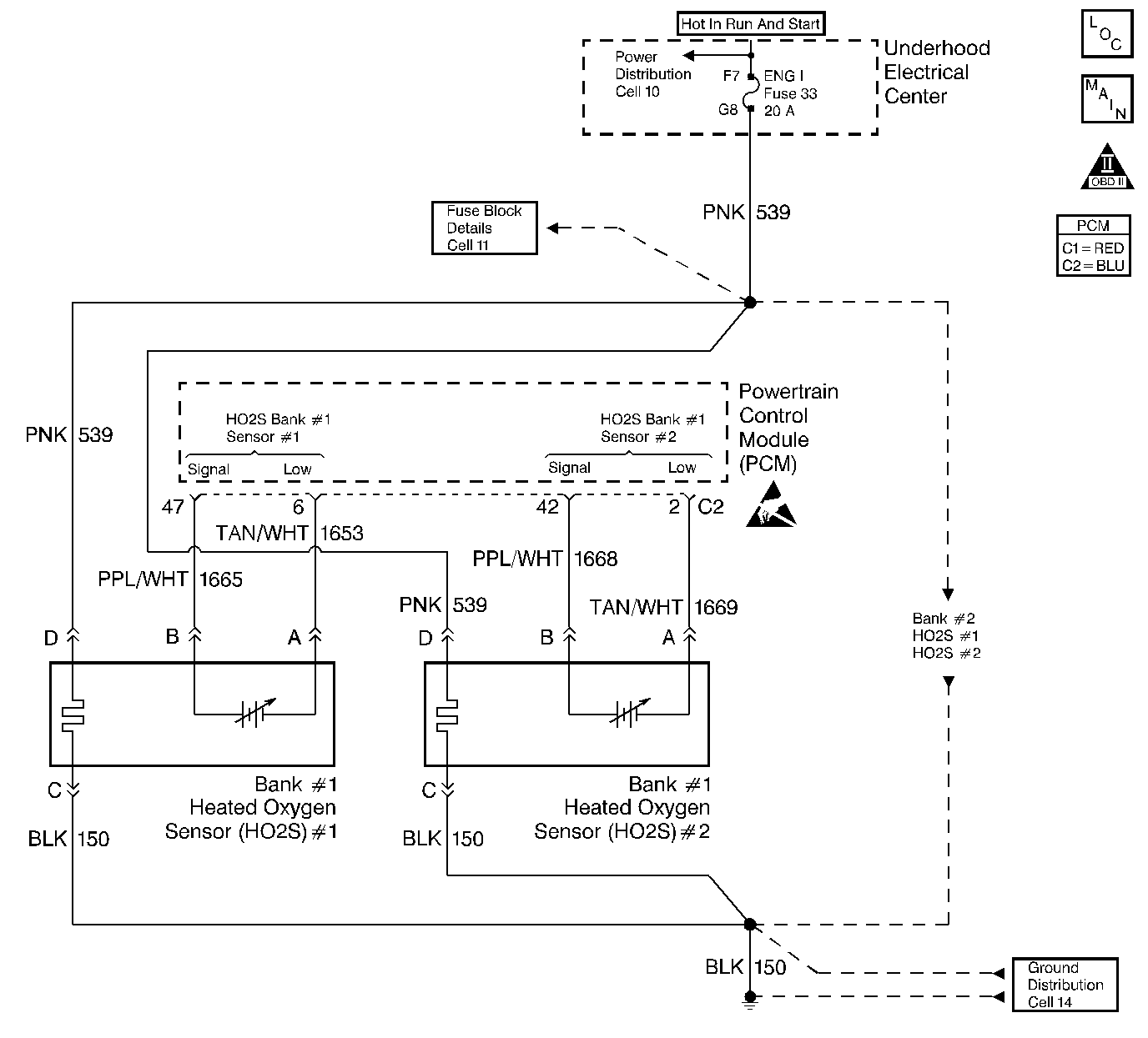
Object Number: 214875  Size: LF
Engine Controls Components
Cell 20: Engine Data Sensors 2 - HO2S
OBD II Symbol Description Notice
Handling ESD Sensitive Parts Notice

Circuit Description

The PCM supplies a voltage of about 450 mV between the HO2S high and low signal circuits. The oxygen sensor varies the voltage over a range from about 1000 mV when the exhaust is rich, down through about 10 mV when the exhaust is lean.

The PCM monitors and stores the heated oxygen sensor (HO2S) voltage information. The PCM evaluates the HO2S voltage samples in order to determine the amount of time the HO2S voltage was out of range. The PCM compares the stored HO2S voltage samples taken within each sample period and determines if majority of the samples are out of the operating range.

The PCM monitors the HO2S voltage and detects if the voltage goes out of the bias range. If the PCM does not detect the voltage went out of the bias range, this DTC will set .

Conditions for Setting the DTC

    • DTCs P0102, P0103, P0112, P0113, P0117, P0118, P0335, P0336, P1120, P1220, P1221, not set.
    • The engine run time is greater than 70 seconds.
    • The fuel system is operating in Closed Loop.
    • The engine coolant temperature is greater than 60°C (140°F).
    • The HO2S signal voltage is steady between 409 mV and 489 mV for 2.5 minutes.

Action Taken When the DTC Sets

    • The PCM illuminate the malfunction indicator lamp (MIL) on the second consecutive drive trip that the diagnostic runs and fails, if the diagnostic fails under the same conditions (load, RPM, temperature, etc.) as the previous ignition cycle that the test ran and failed.
    • The first time the diagnostic fails, the PCM records the operating conditions in Failure Records.
    • The second consecutive drive trip that this diagnostic fails under the same conditions (load, RPM, temperature, etc.) as the previous ignition cycle that the test ran and failed, the PCM stores this information in Freeze Frame. The PCM copies any data previously stored in Freeze Frame and copies the data into the Failure Records. The PCM then overwrites the Freeze Frame and the PCM updates the HO2S data in the Failure Records.
    • Open Loop Fueling.

Conditions for Clearing the MIL/DTC

       Important: If the last failure was during a non-typical driving condition, the MIL may remain ON longer than the three drive trips. Review the Freeze Frame and Failure Records for the last failure conditions.

    • The PCM turns the MIL OFF after 3  consecutive drive trips that the diagnostic runs and does not fail within the same conditions that the DTC last failed.
    • A History DTC clears after 40 consecutive warm-up cycles, if this or any other emission related diagnostic does not report any failures.
    • A last test failed (Current DTC) clears when the diagnostic runs and does not fail.
    • The PCM battery voltage is interrupted.
    • Use a scan tool in order to clear the MIL/DTC.

Diagnostic Aids

Important: Remove any debris from the PCM connector surfaces before servicing the PCM. Inspect the PCM connector gaskets when diagnosing/replacing the PCM. Ensure that the gaskets are installed correctly. The gaskets prevent water intrusion into the PCM.

    • An oxygen supply inside the HO2S is necessary for proper operation. The HO2S wires provides the supply of oxygen. Inspect the HO2S wires and connections for breaks or contamination. Refer to Body and Accessories/Wiring Systems.
    • For an intermittent condition, refer to Symptoms .

Test Description

The numbers below refer to the step numbers on the diagnostic table.

  1. The engine must be at the normal operating temperature before performing this test. For any test that requires probing the PCM or a component harness connector, use the Connector Test Adapter Kit J 35616 . Using this kit prevents any damage to the harness connector terminals.

  2. Using the Freeze Frame and/or Failure Records data may aid in locating an intermittent condition. If you cannot duplicated the DTC, the information included in the Freeze Frame and/or Failure Records data can help determine how many miles since the DTC set. The Fail Counter and Pass Counter can also be used to determine how many ignition cycles the diagnostic reported a pass and/or a fail. Operate the vehicle within the same freeze frame conditions (RPM, load, vehicle speed, temperature etc.) that you observed. This will isolate when the DTC failed. Refer to Symptoms for further diagnosis.

  3. If the scan tool reads the HO2S voltage goes below 200 mV, then the HO2S circuits and PCM are OK.

  4. This step checks whether the signal circuit from the PCM is OK.

  5. Disconnecting the PCM allows using the DMM J 39200 in order to check continuity of the circuits. This aids in locating an open or shorted circuit.

  6. Disconnecting the PCM allows using the DMM J 39200 in order to check continuity of the circuits. This aids in locating an open or shorted circuit.

Step

Action

Value(s)

Yes

No

1

Did you perform the Powertrain On-Board Diagnostic (OBD) System Check?

--

Go to Step 2

Go to Powertrain On Board Diagnostic (OBD) System Check

2

Important: Before proceeding with this DTC, check the HO2S for being secure. A sensor that is loose could cause this DTC to set.

  1. Install the scan tool.
  2. Idle the engine until the normal operating temperature is reached.
  3. Operate the engine above 1200 RPM for two minutes.
  4. Monitor the HO2S voltage display on the Engine 1 Data List using the scan tool.

Does the scan tool indicate the HO2S voltage varying outside the specified range?

409-489 mV

Go to Step 3

Go to Step 4

3

  1. Turn ON the ignition leaving the engine OFF.
  2. Review the Freeze Frame and/or Failure Records data for this DTC and observe the parameters.
  3. Turn OFF the ignition for 15 seconds.
  4. Start the engine.
  5. Operate the vehicle within the conditions required for this diagnostic to run, and as close to the conditions recorded in Freeze Frame/Failure Records as possible. Special operating conditions that you need to meet before the PCM will run this diagnostic, where applicable, are listed in Conditions for Setting the DTC.
  6. Select the Diagnostic Trouble Code (DTC) option, the Specific DTC option, and then enter the DTC number using the scan tool.

Does the scan tool indicate that this diagnostic failed this ignition?

--

Go to Step 4

Go to Diagnostic Aids

4

  1. Turn ON the ignition leaving the engine OFF.
  2. Disconnect the HO2S.
  3. Jumper the HO2S high and low (PCM side) signal circuits to ground.
  4. Monitor the HO2S voltage using the scan tool.

Is the HO2S voltage below the specified value?

200 mV

Go to Step 8

Go to Step 5

5

  1. Remove the jumper wire.
  2. Measure the voltage between the HO2S high signal circuit (PCM side) and the HO2S heater ground circuit using the DMM J 39200 .

Does the HO2S voltage measure above the specified value?

375 mV

Go to Step 6

Go to Step 7

6

  1. Turn OFF the ignition.
  2. Disconnect the PCM connector. Refer to Powertrain Control Module Replacement .
  3. Check the continuity of the HO2S low circuit.
  4. Repair the open or the poor connection if the HO2S low circuit measures over the specified value.

Refer to Wiring Repairs in wiring systems.

Did you find and corrected the condition?

2ohms

Go to Step 13

Go to Step 9

7

  1. Turn OFF the ignition.
  2. Disconnect the PCM connector. Refer to Powertrain Control Module Replacement .
  3. Check the continuity of the HO2S signal circuit.
  4. Repair the open or the poor connection if the HO2S signal circuit measures over the specified value.

Refer to Wiring Repairs in wiring systems.

Did you find and corrected the condition?

2ohms

Go to Step 13

Go to Step 10

8

  1. Check for a poor connection at the HO2S signal or low circuit.
  2. If you find a poor connection, repair/replace the terminal(s) as necessary.

Refer to Wiring Repairs in wiring systems.

Did any terminals require replacement?

--

Go to Step 13

Go to Step 11

9

  1. Check for a poor connection at the HO2S low circuit terminal at the PCM.
  2. If you find a poor connection, repair/replace the terminal(s) as necessary.

Refer to Wiring Repairs in wiring systems.

Did the terminal require replacement?

--

Go to Step 13

Go to Step 12

10

  1. Check for a poor connection at the HO2S signal circuit terminal at the PCM.
  2. If you find a poor connection, repair/replace the terminal(s) as necessary.

Refer to Wiring Repairs in wiring systems.

Did the terminal require replacement?

--

Go to Step 13

Go to Step 12

11

Replace the HO2S. Refer to Heated Oxygen Sensor Replacement - Bank 2 .

Is the action complete?

--

Go to Step 13

--

12

Important:: Program the replacement PCM. Refer to Powertrain Control Module Replacement .

Replace the PCM.

Is the action complete?

--

Go to Step 13

--

13

  1. Select the Diagnostic Trouble Code (DTC) option and the Clear DTC Information option using the scan tool.
  2. Idle the engine at the normal operating temperature.
  3. Select the Diagnostic Trouble Code (DTC) option and the Specific DTC option, then enter the DTC number using the scan tool.
  4. Operate the vehicle within the Conditions for Running the DTC as specified in the supporting text, if applicable.

Does the scan tool indicate that this test ran and passed?

--

Go to Step 14

Go to Step 2

14

Select the Capture Info option and the Review Info option using the scan tool.

Does the scan tool display any DTCs that you have not diagnosed?

--

Go to the applicable DTC table

System OK