GM Service Manual Online
For 1990-2009 cars only

Removal Procedure

    Caution: In order to help avoid being burned, do not remove the radiator cap while the engine and the radiator are hot. Scalding fluid and steam can be blown out under pressure if the cap is removed too soon.


    Object Number: 26541  Size: SH
  1. Drain the coolant from the radiator. Refer to Draining, Filling, Recovery of Cooling System.
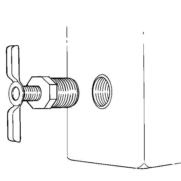
  2. Remove the drain cock from the threaded hole in the side of the radiator (P72 chassis) or in the bottom of the lower radiator tube (P92 chassis).

Installation Procedure


    Object Number: 26541  Size: SH
  1. Apply sealing compound to the threads on the drain cock.
  2. Insert the drain cock into the threaded hole.
  3. Tighten
    Tighten the drain cock to 28 N·m (21 lb ft).

    Notice: Use the correct fastener in the correct location. Replacement fasteners must be the correct part number for that application. Fasteners requiring replacement or fasteners requiring the use of thread locking compound or sealant are identified in the service procedure. Do not use paints, lubricants, or corrosion inhibitors on fasteners or fastener joint surfaces unless specified. These coatings affect fastener torque and joint clamping force and may damage the fastener. Use the correct tightening sequence and specifications when installing fasteners in order to avoid damage to parts and systems.

  4. Fill the radiator with the recommended coolant. Refer to Recommended Fluids and Lubricants in General Information..
  5. Start the engine and check for leaks.