GM Service Manual Online
For 1990-2009 cars only

Fan Clutch Replacement P72

Removal Procedure


    Object Number: 40839  Size: SH
  1. Disconnect the negative battery cable. Refer to

    Caution: Unless directed otherwise, the ignition and start switch must be in the OFF or LOCK position, and all electrical loads must be OFF before servicing any electrical component. Disconnect the negative battery cable to prevent an electrical spark should a tool or equipment come in contact with an exposed electrical terminal. Failure to follow these precautions may result in personal injury and/or damage to the vehicle or its components.

    in General Information.
  2. Drain the coolant from the radiator into an appropriate container.
  3. Remove the cooling fan. Refer to Fan (P72).
  4. Apply 620-827 kPa (90-120 psi) of air pressure in order to disengage the fan clutch.
  5. Line up the mounting bolts with the access holes in the clutch. Release the air pressure in order to allow the clutch to engage.

  6. Object Number: 40834  Size: SH
  7. Remove the bolts and the clutch from the water pump and spacer.

Installation Procedure


    Object Number: 40839  Size: SH
  1. Apply 620-827 kPa (90-120 psi) of air pressure in order to disengage the fan clutch if the holes for the mounting bolts on the fan clutch are not lined up with the access holes.
  2. Align the mounting holes with the access holes. Release the air pressure.
  3. Install the clutch on the water pump and spacer.

  4. Object Number: 40834  Size: SH
  5. Tighten the mounting bolts in the correct sequence.
  6. Tighten
    Tighten the mounting bolts to 50 N·m (36 lb ft).

    Notice: Use the correct fastener in the correct location. Replacement fasteners must be the correct part number for that application. Fasteners requiring replacement or fasteners requiring the use of thread locking compound or sealant are identified in the service procedure. Do not use paints, lubricants, or corrosion inhibitors on fasteners or fastener joint surfaces unless specified. These coatings affect fastener torque and joint clamping force and may damage the fastener. Use the correct tightening sequence and specifications when installing fasteners in order to avoid damage to parts and systems.

  7. Install the cooling fan. Refer to Fan (P72).
  8. Fill the radiator with coolant up to the proper level.
  9. Connect the negative battery cable.

Fan Clutch Replacement P92

Removal Procedure


    Object Number: 40840  Size: SH
  1. Disconnect the negative battery cable. Refer to

    Caution: Unless directed otherwise, the ignition and start switch must be in the OFF or LOCK position, and all electrical loads must be OFF before servicing any electrical component. Disconnect the negative battery cable to prevent an electrical spark should a tool or equipment come in contact with an exposed electrical terminal. Failure to follow these precautions may result in personal injury and/or damage to the vehicle or its components.

    in General Information.
  2. Remove the serpentine drive belt.
  3. Remove the cooling fan. Refer to Fan (P92).
  4. Disconnect the air line from the base of the clutch assembly.
  5. CAUTION:: The clutch assembly is heavy. Have a partner hold the clutch assembly in place when removing or installing the mounting bolts in order to avoid personal injury.


    Object Number: 40829  Size: SH
  6. Remove the bolts and the clutch assembly from the engine.

Installation Procedure

    CAUTION:: The clutch assembly is heavy. Have a partner hold the clutch assembly in place when removing or installing the mounting bolts in order to avoid personal injury.


    Object Number: 40829  Size: SH
  1. Install the clutch assembly to the engine with the mounting bolts.
  2. NOTICE: The air lines are made of brass and plastic. Do not overtighten the air lines. Overtightening can strip the threads or crush the air line.


    Object Number: 40840  Size: SH
  3. Connect the air line to the base of the clutch assembly.
  4. Install the cooling fan. Refer to Fan (P92).
  5. Install the serpentine drive belt.
  6. Connect the negative battery cable.

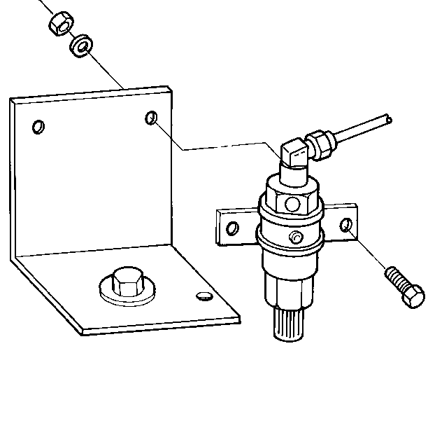
Fan Clutch Replacement P72 Control Valve

Removal Procedure


    Object Number: 40853  Size: SH
  1. Disconnect the negative battery cable. Refer to

    Caution: Unless directed otherwise, the ignition and start switch must be in the OFF or LOCK position, and all electrical loads must be OFF before servicing any electrical component. Disconnect the negative battery cable to prevent an electrical spark should a tool or equipment come in contact with an exposed electrical terminal. Failure to follow these precautions may result in personal injury and/or damage to the vehicle or its components.

    in General Information.
  2. Disconnect the control valve electrical connector.
  3. Disconnect the hydraulic line to the fan clutch at the quick-disconnect fitting.

  4. Object Number: 40855  Size: SH
  5. Disconnect the pressure and the return hydraulic lines at the control valve.

  6. Object Number: 40857  Size: SH
  7. Remove the control valve and the mounting bracket.

Installation Procedure


    Object Number: 40857  Size: SH
  1. Install the control valve and the mounting bracket.

  2. Object Number: 40855  Size: SH
  3. Connect the pressure and the return hydraulic lines at the control valve.

  4. Object Number: 40853  Size: SH
  5. Connect the hydraulic line to the fan clutch at the quick-disconnect fitting.
  6. Connect the control valve electrical connector.
  7. Connect the negative battery cable.

Fan Clutch Replacement P92 Control Valve

Removal Procedure


    Object Number: 40845  Size: SH
  1. Disconnect the negative battery cable. Refer to

    Caution: Unless directed otherwise, the ignition and start switch must be in the OFF or LOCK position, and all electrical loads must be OFF before servicing any electrical component. Disconnect the negative battery cable to prevent an electrical spark should a tool or equipment come in contact with an exposed electrical terminal. Failure to follow these precautions may result in personal injury and/or damage to the vehicle or its components.

    in General Information.
  2. Open the valve on the bottom of the filter in order to relieve air pressure. Close the valve when the pressure is relieved.

  3. Object Number: 40842  Size: SH
  4. Disconnect the air line from the fan clutch air filter.

  5. Object Number: 40843  Size: SH
  6. Remove the air filter.

  7. Object Number: 40844  Size: SH
  8. Disconnect the fan clutch solenoid wiring.

  9. Object Number: 40846  Size: SH
  10. Disconnect the air line from the solenoid.

  11. Object Number: 40847  Size: SH
  12. Remove the fan clutch control solenoid from the mount.

Installation Procedure

    NOTICE: The air lines are made of brass and plastic. Do not overtighten the air lines. Overtightening can strip the threads or crush the air line.


    Object Number: 40847  Size: SH
  1. Install the fan clutch control solenoid on the mount.

  2. Object Number: 40846  Size: SH
  3. Connect the air line from the solenoid.

  4. Object Number: 40844  Size: SH
  5. Connect the fan clutch solenoid wiring.

  6. Object Number: 40843  Size: SH
  7. Install the air filter on the control solenoid.

  8. Object Number: 40842  Size: SH
  9. Connect the air line to the fan clutch air filter.
  10. Connect the negative battery cable.