GM Service Manual Online
For 1990-2009 cars only

Engine Coolant Fan Shroud Replacement P72

Removal Procedure


    Object Number: 26544  Size: SH
  1. Remove the radiator. Refer to Radiator Replacement (P72).
  2. Lift the shroud away from the engine and out of the vehicle.
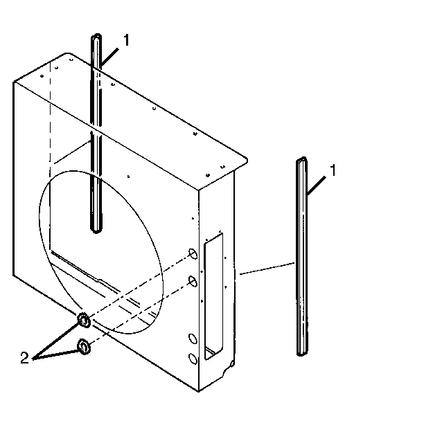
  3. Remove the seals (1) and the loom (2) from the shroud, if replacing the shroud.

Installation Procedure


    Object Number: 26544  Size: SH
  1. Install the seals (1) and the loom (2) to the shroud, if installing a new shroud.
  2. Install the shroud to the vehicle.
  3. Install the radiator. Refer to Radiator Replacement (P72).

Engine Coolant Fan Shroud Replacement P92

Removal Procedure


    Object Number: 26543  Size: SH
  1. Remove the radiator. Refer to Radiator Replacement (P92).
  2. Remove the clamps and the air-to-air aftercooler.
  3. Remove the clamps and the adapters from the air tubes.
  4. Lift the shroud away from the engine and out of the vehicle.

Installation Procedure


    Object Number: 26543  Size: SH
  1. Install the shroud to the vehicle.
  2. Install the adapter on the air tubes with the clamps.
  3. Install the air-to-air aftercooler to the adapters with the clamps.
  4. Install the radiator. Refer to Radiator Replacement (P92).