GM Service Manual Online
For 1990-2009 cars only

Radiator Replacement P72

Removal Procedure


    Object Number: 26630  Size: SH
  1. Drain the coolant from the cooling system. Refer to Draining, Filling, Recovery of Cooling System. Close the drain cock when the draining is complete.
  2. Remove the coolant recovery reservoir and the associated hoses. Refer to Coolant Recovery Reservoir Replacement.

  3. Object Number: 26619  Size: SH
  4. Remove the surge tank and the associated hoses. Refer to Radiator Surge Tank (P72).

  5. Object Number: 26565  Size: SH
  6. Remove the upper and the lower radiator hoses. Refer to Radiator Hose Replacement (Upper) and Radiator Hose Replacement (Lower).
  7. Remove the engine oil dipstick, the oil fill tube and the bracket. Set them aside but do not remove them from the engine.
  8. Remove the transmission dipstick and the bracket. Set them aside but do not remove them from the transmission.
  9. Remove the power steering reservoir from the brace and set it aside. Do not disconnect the power steering hoses. Refer to Remote Reservoir (P72) in Power Steering System.

  10. Object Number: 26564  Size: SH
  11. Remove the bolts, the washers, the nuts, the brackets and the radiator braces.

  12. Object Number: 26562  Size: SH
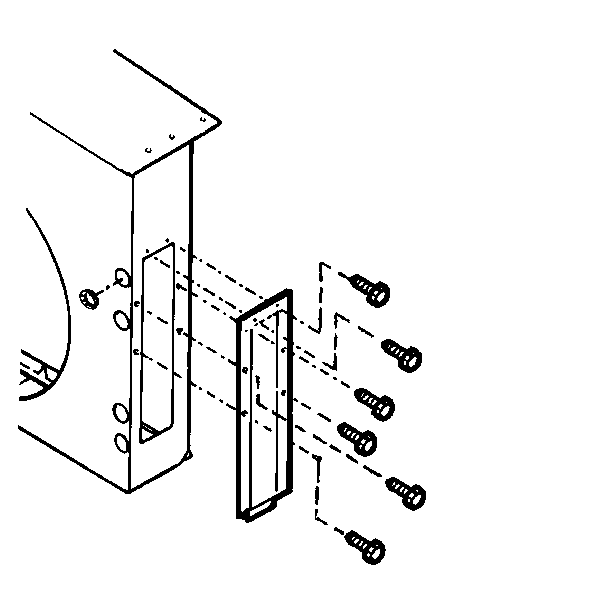
  13. Remove the screws and the shroud access panel.

  14. Object Number: 26561  Size: SH
  15. Remove the oil cooler lines and the reducer fittings (4L80-E transmission only) from the oil cooler.
  16. Important: Tie the oil cooler lines up so they drip as little as possible. Place a drain pan beneath the lines in order to catch any drips.


    Object Number: 26559  Size: SH
  17. Remove the shroud mounting bolts.

  18. Object Number: 26557  Size: SH
  19. Remove the two nuts, the washers and the radiator from the crossmember.

  20. Object Number: 26555  Size: SH
  21. Remove the bolts and the oil cooler from the radiator.

Installation Procedure


    Object Number: 26555  Size: SH
  1. Install the oil cooler with the bolts.

  2. Object Number: 26557  Size: SH
  3. Install the radiator to the crossmember with the two washers and the nuts.
  4. Tighten
    Tighten the radiator-to-crossmember nut to 61 N·m (45 lb ft).

    Notice: Use the correct fastener in the correct location. Replacement fasteners must be the correct part number for that application. Fasteners requiring replacement or fasteners requiring the use of thread locking compound or sealant are identified in the service procedure. Do not use paints, lubricants, or corrosion inhibitors on fasteners or fastener joint surfaces unless specified. These coatings affect fastener torque and joint clamping force and may damage the fastener. Use the correct tightening sequence and specifications when installing fasteners in order to avoid damage to parts and systems.


    Object Number: 26559  Size: SH
  5. Install the shroud to the radiator with the ten mounting bolts.
  6. Tighten
    Tighten the shroud-to-radiator bolts to 54 N·m (39 lb ft).


    Object Number: 26561  Size: SH
  7. Install the oil cooler lines and the reducer fittings (transmission lines with 4L80-E only) to the oil cooler.
  8. Tighten
    Tighten the engine oil cooler line fittings to 73 N·m (54 lb ft).

    Tighten
    Tighten the transmission oil cooler line fittings to 28 N·m (21 lb ft).

    Tighten
    Tighten the transmission reducer fittings to 73 N·m (54 lb ft).


    Object Number: 26562  Size: SH
  9. Install the access panel to the shroud with the screws.

  10. Object Number: 26564  Size: SH
  11. Install the radiator braces and the brackets to the radiator and the frame with the bolts, the washers and the nuts.

  12. Object Number: 26565  Size: SH
  13. Install the power steering reservoir to the radiator brace. Refer to Remote Reservoir (P72) in Power Steering System.
  14. Tighten
    Tighten the access panel screws to 5.5 N·m (49 lb in).

    Tighten
    Tighten the radiator brace-to-frame bolts to 140 N·m (103 lb ft).

    Tighten
    Tighten the brace and mounting bracket-to-radiator bolts to 61 N·m (45 lb ft).


    Object Number: 26619  Size: SH
  15. Install the surge tank and the associated hoses to the top of the shroud. Refer to Radiator Surge Tank (P72).
  16. Install the transmission dipstick and the bracket to the surge tank mount .
  17. Install the engine oil dipstick, the oil fill tube and the bracket to the surge tank mount.
  18. Tighten
    Tighten the dipstick and the fill tube bracket-to-surge tank mount bolts to 12 N·m (106 lb in).

  19. Connect the upper and lower radiator hoses. Refer to Radiator Hose Replacement (Upper) and Radiator Hose Replacement (Lower).

  20. Object Number: 26630  Size: SH
  21. Install the coolant recovery reservoir and the associated hoses. Refer to Coolant Recovery Reservoir Replacement.
  22. Fill the radiator with coolant. Refer to Draining, Filling, Recovery of Cooling System.

Radiator Replacement P92

Removal Procedure


    Object Number: 26630  Size: SH
  1. Drain the coolant from the cooling system. Refer to Draining, Filling, Recovery of Cooling System. Close the drain cock when the draining is complete.
  2. Remove the coolant recovery reservoir and the associated hoses. Refer to Coolant Recovery Reservoir Replacement.

  3. Object Number: 26619  Size: SH
  4. Remove the upper and the lower radiator hoses. Refer to Radiator Hose Replacement (Upper) and Radiator Hose Replacement (Lower).
  5. Remove the surge tank and the associated hoses. Refer to Radiator Surge Tank.
  6. Remove the engine oil dipstick, the oil fill tube and the bracket. Set them aside but do not remove them from the engine.

  7. Object Number: 26536  Size: SH
  8. Remove the transmission dipstick and the bracket. Set them aside but do not remove them from the transmission.

  9. Object Number: 26565  Size: SH
  10. Remove the power steering reservoir from the mounting bracket and set it aside. Do not disconnect the power steering hoses. Refer to Remote Reservoir (P92) in Power Steering System.

  11. Object Number: 26561  Size: SH
  12. Remove the transmission oil cooler lines and the adapters from the radiator side tank.
  13. Important: Tie the oil cooler lines up so they drip as little as possible. Place a drain pan beneath the lines in order to catch any drips.


    Object Number: 26552  Size: SH
  14. Remove the bolts, the washers, the nuts, and the radiator braces from the left and the right radiator frames.
  15. Remove the frame.

  16. Object Number: 26550  Size: SH
  17. Remove the bolts from the aftercooler supports.

  18. Object Number: 26549  Size: SH
  19. Remove the bolts, the washers, the power steering reservoir and the coolant recovery tank mounting brackets from the radiator frame.
  20. Remove the mounting bolts from the shroud and the bottom radiator frame.

  21. Object Number: 26546  Size: SH
  22. Remove the two nuts, the washers, and the radiator frame from the crossmember.
  23. Remove the eight bolts and the radiator frame from the radiator.

Installation Procedure

    Important: Take care not to damage the radiator fins while installing the radiator into the vehicle.


    Object Number: 26546  Size: SH
  1. Install the radiator to the crossmember with two washers and the nuts.
  2. Tighten
    Tighten the radiator-to-crossmember nuts to 61 N·m (45 lb ft).

    Notice: Use the correct fastener in the correct location. Replacement fasteners must be the correct part number for that application. Fasteners requiring replacement or fasteners requiring the use of thread locking compound or sealant are identified in the service procedure. Do not use paints, lubricants, or corrosion inhibitors on fasteners or fastener joint surfaces unless specified. These coatings affect fastener torque and joint clamping force and may damage the fastener. Use the correct tightening sequence and specifications when installing fasteners in order to avoid damage to parts and systems.

  3. Install the oil cooler to the radiator with the bolts.

  4. Object Number: 26549  Size: SH
  5. Install the shroud to the radiator with the ten mounting bolts.
  6. Tighten
    Tighten the shroud-to-radiator bolts to 54 N·m (39 lb ft).


    Object Number: 26552  Size: SH
  7. Install the radiator braces and the brackets to the radiator and the frame with the bolts, the washers and the nuts.

  8. Object Number: 26565  Size: SH
  9. Install the power steering reservoir to the radiator brace. Refer to Remote Reservoir in Power Steering System.
  10. Tighten
    Tighten the radiator brace-to-frame bolts to 140 N·m (103 lb ft).

    Tighten
    Tighten the brace- and mounting bracket-to-radiator bolts to 61 N·m (45 lb ft).


    Object Number: 26536  Size: SH
  11. Install the transmission dipstick and the bracket to the shroud.

  12. Object Number: 40863  Size: SH
  13. Install the engine oil dipstick, the oil fill tube and the bracket to the surge tank mount.
  14. Tighten
    Tighten the dipstick and the fill tube bracket-to-surge tank mount bolts to 12 N·m (106 lb in).

  15. Install the upper and the lower radiator hoses. Refer to Radiator Hose Replacement (Upper) and Radiator Hose Replacement (Lower).
  16. Install the surge tank and the associated hoses to the top of the shroud. Refer to Radiator Surge Tank.

  17. Object Number: 26630  Size: SH
  18. Install the coolant recovery reservoir and the associated hoses. Refer to Coolant Recovery Reservoir Replacement.
  19. Fill the radiator with coolant. Refer to Draining, Filling, Recovery of Cooling System.