GM Service Manual Online
For 1990-2009 cars only

Removal Procedure

    Important: Do not use the front crossmember in order to support the vehicle. Use the frame side rails.


    Object Number: 22027  Size: SH
  1. Raise the vehicle. Support the vehicle with suitable safety stands.
  2. Remove both front tires and wheels. Refer to Wheel Removal and Tire Mounting and Dismounting in Tires and Wheels.
  3. Remove both calipers. Refer to Brake Caliper Replacement in Disc Brakes.
  4. Remove both front hub and rotor assemblies. Refer to Wheel Hub, Rotor, Bearing, and Seal Replacement .
  5. Remove both front shock absorbers.

  6. Object Number: 22052  Size: SH
  7. Remove the power steering gear. Refer to Power Steering Gear in Power Steering.
  8. Remove the tie rod. Refer to Tie Rod Replacement in Steering Linkage.
  9. Support the front axle with suitable safety stands.

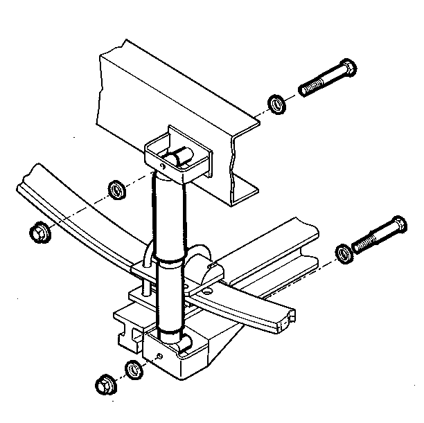
  10. Object Number: 22065  Size: SH
  11. Remove the jam nuts, the nuts, the washers, and the lower shock absorber mount from the axle.

  12. Object Number: 22066  Size: SH
  13. Remove the U-bolt, the front spring spacer, and the axle mounting plate from the axle and the leaf spring.

  14. Object Number: 22067  Size: SH
  15. Remove the axle and the shim from under the vehicle.
  16. Remove the steering knuckles from the axle. Refer to Steering Knuckle .

Inspection Procedure


    Object Number: 22067  Size: SH
  1. Inspect the axle for wear and damage. Use x-ray inspection equipment, if available, in order to inspect the axle for minute cracks, checks and fractures.
  2. Inspect the axle center for twist with alignment instruments. If the axle center has been twisted or bent more than 5 degrees (13 mm or 1/2 in) from the original shape, it should be replaced.
  3. Inspect the axle king pin bore for scratches, burrs and corrosion. Smooth the bore using crocus cloth or fine grit sandpaper if needed. Then clean the bore.

Installation Procedure


    Object Number: 22067  Size: SH
  1. Install the steering knuckle on the axle. Refer to Steering Knuckle .
  2. Position the axle and the shim under the vehicle. Support the axle with suitable safety stands.

  3. Object Number: 22066  Size: SH
  4. Install the axle mounting plate, the front spring spacer, and the U-bolt on the leaf spring and around the axle.

  5. Object Number: 22065  Size: SH
  6. Install the lower shock absorber mount under the axle, the washers, the nuts, and the jam nuts on the U-bolt.
  7. Tighten
    Tighten the nuts and the jam nuts to 340 N·m (250 lb ft).

    Notice: Use the correct fastener in the correct location. Replacement fasteners must be the correct part number for that application. Fasteners requiring replacement or fasteners requiring the use of thread locking compound or sealant are identified in the service procedure. Do not use paints, lubricants, or corrosion inhibitors on fasteners or fastener joint surfaces unless specified. These coatings affect fastener torque and joint clamping force and may damage the fastener. Use the correct tightening sequence and specifications when installing fasteners in order to avoid damage to parts and systems.

  8. Remove the safety stands from the axle.

  9. Object Number: 22052  Size: SH
  10. Install the power steering gear. Refer to Power Steering Gear in Power Steering.
  11. Install the tie rod. Refer to Tie Rod Replacement in Steering Linkage.

  12. Object Number: 22027  Size: SH
  13. Install the shock absorbers.
  14. Install the hub and rotor assemblies. Refer to Wheel Hub, Rotor, Bearing, and Seal Replacement .
  15. Install the calipers. Refer to Brake Caliper Replacement in Disc Brakes.
  16. Install the tires and the wheels. Refer to Wheel Removal and Tire Mounting and Dismounting in Tires and Wheels.
  17. Lower the vehicle.