GM Service Manual Online
For 1990-2009 cars only
Makes
🢒
Chevrolet
🢒
1997
🢒
Chevy P32 RV/Van Chassis
🢒
Suspension
🢒
Front Suspension
🢒 Front Suspension Components
Front Suspension Components Front Suspension and Axle
(1)
Frame
(2)
Upper Shock Absorber Mount
(3)
Stabilizer Bar
(4)
Front Spring Hanger
(5)
Shock Absorber
(6)
Lower Shock Absorber Mount
(7)
Front Axle
(8)
Steering Knuckle
(9)
Leaf Spring
(10)
Spring Shackle
(11)
Rear Spring Hanger
Front Suspension Components Wheel Hub and Bearing
(31)
Wear Sleeve
(32)
Spindle
(33)
Hub Cap
(34)
Gasket
(35)
Adjusting Nut
(36)
Cotter Pin
(37)
Washer
(38)
Bolt
(39)
Wheel Nut
(40)
Wheel Stud
(41)
Wheel Hub and Rotor
(42)
Bearing Washer
(43)
Inner Oil Seal
(44)
Inner Bearing
(45)
Bearing Cup
(46)
Bearing Cup
(47)
Outer Bearing
(48)
Spindle Nut (P72)
(49)
Lock Nut (P72)
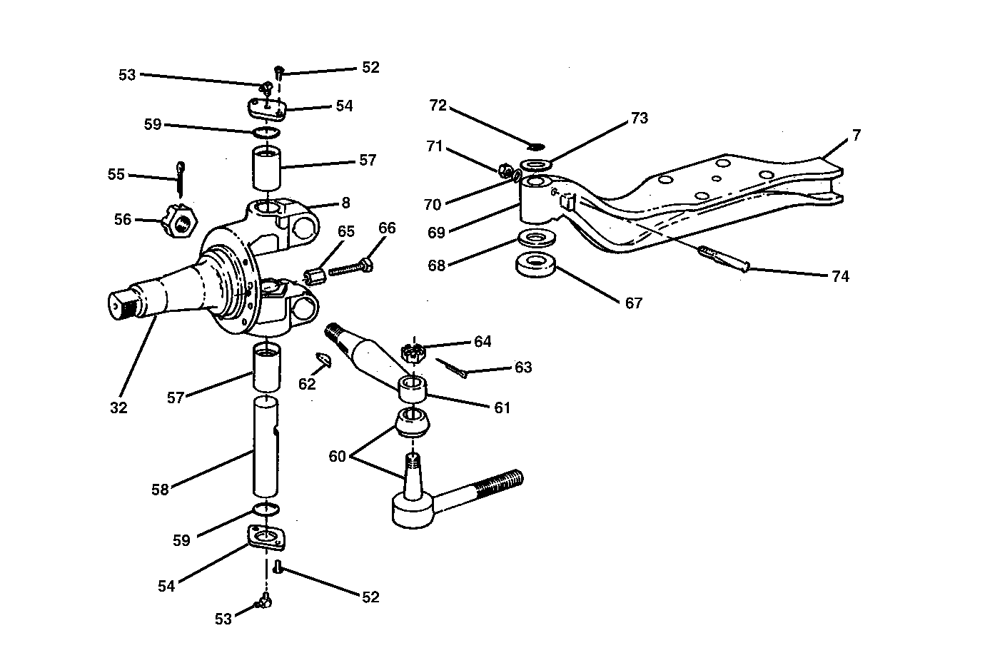
Front Suspension Components Steering Arm, Knuckle and Sp
(7)
I-Beam Front Axle
(8)
Steering Knuckle
(32)
Spindle
(52)
Screw
(53)
Grease Fitting
(54)
Dust Cap
(55)
Cotter Pin
(56)
Castellated Nut
(57)
Bushing
(58)
King Pin
(59)
O-Ring
(60)
Tie Rod End
(61)
Steering Arm
(62)
Steering Arm Key
(63)
Cotter Pin
(64)
Castellated Nut
(65)
Jam Nut
(66)
Steering Knuckle Stop Screw
(67)
Thrust Bearing
(68)
King Pin Oil Seal (Lower)
(69)
Axle Center
(70)
Lock Washer
(71)
Nut
(72)
King Pin Oil Seal (Upper)
(73)
Shim
(74)
Tapered Pin