GM Service Manual Online
For 1990-2009 cars only

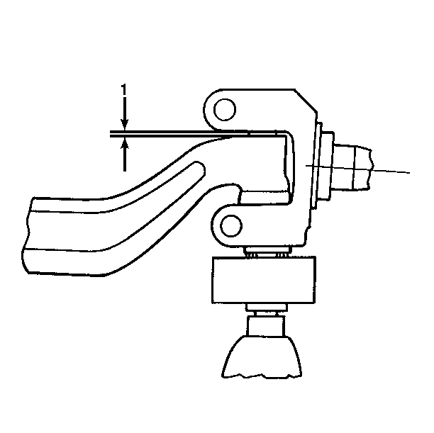
King Pin to Bushing Clearance Check

    Important: Measurements must be taken prior to normal lubrication or they will not be accurate.


    Object Number: 22069  Size: SH
  1. Raise the front axle wheels off the floor and support the axle at the outer ends so it cannot rock.
  2. Apply the brakes. Use a pedal jack to hold the brakes and lock the front wheels.
  3. Mark the tire at a 443 mm (17.5 in) radius from the center of the knuckle. Move the wheel inward at the top and measure the movement at the 443 mm (17.5 in) radius mark at the bottom (1).
  4. If more than 9.5 mm (3/8 in) movement is observed, the king pin and the bushings must be replaced.

Knuckle Vertical Movement Check

Knuckle vertical end play is the movement of the knuckle vertically on the king pin. A minimum of 0.127 mm (0.005 in) end play is required in order to eliminate possible binding on turns. Too much end play will cause contact between the king pin and the king pin end caps. There are two methods of measuring knuckle vertical end play.

Method A

    Important: Measurements must be taken prior to normal lubrication or they will not be accurate.


    Object Number: 22070  Size: SH
  1. Raise the front axle wheels off the floor and support the axle at the outer ends so it cannot rock.
  2. Raise the tire and wheel assembly so all clearance is taken up between the knuckle, the thrust bearing, and the lower knuckle yoke.
  3. Use a dial indicator in order to measure the clearance between the axle center and the knuckle.
  4. If more than 1.5 mm (0.060 in) clearance is observed, add the necessary shims to reduce the clearance to 0.127-0.381 mm (0.005-0.015 in). Refer to Steering Knuckle .

Method B

    Important: Measurements must be taken prior to normal lubrication or they will not be accurate.


    Object Number: 22071  Size: SH
  1. Raise the front axle wheels off the floor and support the axle at the outer ends so it cannot rock.
  2. Raise the tire and wheel assembly so all clearance is taken up between the knuckle, the thrust bearing, and the lower knuckle yoke.
  3. Measure the clearance between the upper knuckle yoke and the axle center using a feeler gauge.
  4. If more than 1.5 mm (0.060 in) clearance is observed, add the necessary shims in order to reduce the clearance to 0.127-0.381 mm (0.005-0.015 in). Refer to Steering Knuckle .