GM Service Manual Online
For 1990-2009 cars only

    Object Number: 22062  Size: SH
  1. After installing the new bushings in the knuckle, they must be reamed to the correct dimensions.
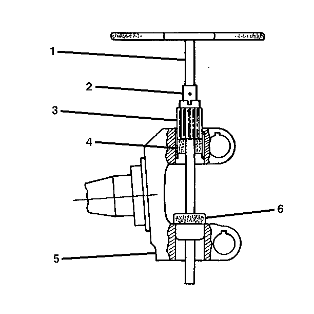
  2. Install the knuckle in a vise.

  3. Object Number: 22063  Size: SH
  4. Insert a pilot adapter (6) in the bottom of the knuckle (5).
  5. Important: Do not attempt to ream the knuckle bushings with a reamer that does not include a pilot adapter.

  6. Guide the reamer (3) down through the top of the knuckle until the tip of the arbor reaches the pilot adapter (1).
  7. Turn the arbor clockwise while pushing down on the handle. Keep turning and pushing down until the reamer is completely through the bushing (4).
  8. Remove the reamer and the pilot adapter. Turn the knuckle over in the vise. Repeat steps 3 through 5 for the lower bushing.
  9. When reaming is complete, carefully measure the bore in order to make sure that the bushings are the right size.
  10. Clean all of the metal shavings from the bushings and the knuckle. Apply a light coat of lubricant to the bushings.