GM Service Manual Online
For 1990-2009 cars only

Measure wheel runout with an accurate dial indicator. Measure with the wheel installed or with the wheel off of the vehicle. Use an accurate mounting surface such as a wheel balancer. You can measure with or without the tire mounted on the wheel.

Measure radial runout and lateral runout on the inboard and outboard rim flanges. With the dial indicator in position, rotate the wheel slowly one revolution. Record the total indicator reading. If any measurement exceeds the specifications, and if there is a vibration that wheel balancing does not correct, replace the wheel. Disregard any indicator readings that are due to welds, paint runs, or scratches.

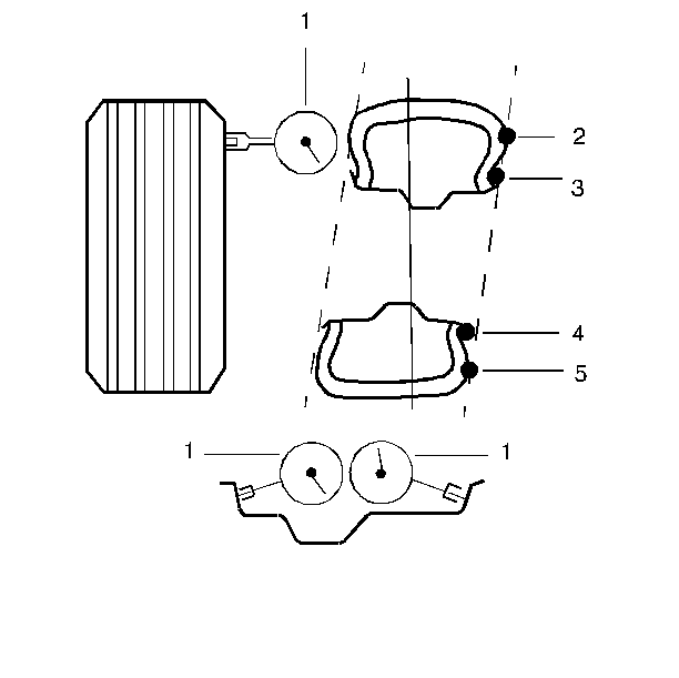
Radial Runout


Object Number: 978  Size: SH
(1)Dial Indicator
(2)High Spot
(3)Low Spot

Unlike a perfect circle, the tire shape of radial runout is oval. Measure radial tire runout from the center tire tread rib. You can measure other tread ribs. The gauge reads the total runout. The high spot is the location of the maximum runout. If either flange is beyond specifications, replace the rim.

    • Aluminum Wheels - 0.762 mm (0.030 in)
    • Steel Wheels - 1.015 mm (0.040 in)

Lateral Runout


Object Number: 977  Size: SH
(1)Dial Indicator
(2)Tire High Spot
(3)Wheel High Spot
(4)Wheel Low Spot
(5)Tire Low Spot

Lateral runout is a sideways variation of the wheel. This runout causes a twist or a wobble. Measure lateral runout on a side surface. On the tire and wheel assembly, measure the side wall of the tire as close to the tread shoulder design edge as possible. The gage reads the total runout. The high spot is the location of the maximum runout. If either flange is beyond guidelines, replace the rim.

    • Aluminum Wheels - 0.762 mm (0.030 in)
    • Steel Wheels - 1.143 mm (0.045 in)

Measurement Procedures

Do the following tire and wheel runout measurement:

  1. Inflate the tires to specifications.
  2. Warm up the tires before taking measurements. This eliminates flat spotting. You do not need to warm up newly installed tires.
  3. Raise the vehicle on a lift.
  4. If measurement is taken with the wheel off of the vehicle, mount each tire and wheel assembly on a dynamic balance machine.

  5. Mark the tire and wheel assemblies for exact replacement.
  6. 4.1. Mark a wheel hub bolt. Mark the hub bolt's exact position on the wheel.
    4.2. Mark each tire and wheel assembly for replacement on the exact hub/rotor assembly.
  7. Take a radial measurement or a lateral runout measurement.
  8. 5.1. Place the dial indicator in position.
    5.2. Rotate the tire and wheel assembly. Or rotate the wheel in order to find the wheel's low spot. Adjust the dial indicator to read zero.
    5.3. Rotate the tire and wheel assembly again in order to verify the low spot location. The dial indicator must return to zero. Disregard any dial activity due to welds, paint runs, or scratches on the wheel.
    5.4. Rotate the tire and wheel assembly, or rotate the wheel. Note the amount of variance (runout) from zero. Locate the high spot. Mark the high spot.
  9. If there is a large difference in runout measurements from on-vehicle to off-vehicle, excessive runout of the bolt circle or the hub may be causing the problem.
  10. If the measured runouts are not within specifications, vector the tire and wheel assembly in order to correct the problem.