GM Service Manual Online
For 1990-2009 cars only

INFORMATION ON 1997 4L80E TRANSMISSION PRODUCT UPDATES

SUBJECT: INFORMATION ON 1997 4L80E TRANSMISSION PRODUCT UPDATES

MODELS: 1997 CHEVROLET AND GMC C/K, G, P TRUCKS WITH HYDRA-MATIC 4L80E TRANSMISSION (RPO MT1)

THE FOLLOWING PRODUCT UPDATES HAVE BEEN IMPLEMENTED ON THE HYDRA-MATIC 4L80E TRANSMISSION DURING THE 1997 MODEL YEAR AND HAVE AN EFFECT ON SERVICE:

UPDATE DESCRIPTION CENTRALIZED LUBE DISTRIBUTION SYSTEM (FIGURE 1) THE CENTRALIZED LUBRICATION SYSTEM PROVIDES A MORE DESIRABLE DISTRIBUTION OF LUBRICATION OIL FLOW THROUGHOUT THE TRANSMISSION AND REDUCES THE EFFECT OF DECREASING LUBE AND COOLER FLOW AS INPUT SPEED INCREASES. THE NEW CENTRALIZED LUBE DISTRIBUTION SYSTEM IS DIVIDED INTO THREE INDEPENDENT SYSTEMS; FRONT, CENTER AND REAR. THE FRONT LUBE PROVIDES LUBRICATION TO ELEMENTS IN FRONT OF THE FORWARD CLUTCH INCLUDING THE FOURTH CLUTCH, THE OVERRUN CLUTCH, THE OVERDRIVE ROLLER CLUTCH AND THE OVERDRIVE GEARSET. THE FRONT LUBE SYSTEM IS SUPPLIED OIL BY THE REGULATED CONVERTER FEED OIL THROUGH MODIFICATIONS TO THE OIL PUMP ASSEMBLY. ONE OIL PUMP ASSEMBLY MODIFICATION IS A MACHINED SLOT BETWEEN A REGULATED CONVERTER FEED PASSAGE AND THE PASSAGE WHICH PROVIDES LUBE TO THE FRONT LUBE SYSTEM. THE SLOT ACTS AS AN ORIFICE PROVIDING A MEANS FOR CONTROLLING THE FLOW OF REGULATED CONVERTER FEED OIL THROUGH THE PUMP ASSEMBLY INTO THE FRONT LUBE SYSTEM. THE CENTER LUBE PROVIDES LUBRICATION TO ELEMENTS INCLUDING THE FORWARD CLUTCH, THE INTERMEDIATE CLUTCH, THE INTERMEDIATE SPRAG CLUTCH, THE LOW ROLLER CLUTCH AND THE REACTION AND OUTPUT GEARSETS. THE REAR LUBE PROVIDES LUBRICATION TO THE CASE BUSHING, THE CASE THRUST WASHER AND THE CASE EXTENSION.

IN THE CENTRALIZED LUBE DISTRIBUTION SYSTEM, THE CENTER LUBE IS ISOLATED FROM THE REAR LUBE SYSTEM AND IS SUPPLIED WITH RETURN COOLER OIL THROUGH A NEW PASSAGE IN THE CENTER SUPPORT. THE RETURN COOLER OIL LINE FITTING WAS MOVED TO THE REAR OF THE CASE IN LINE WITH THE CENTER SUPPORT. A SEAL AND A NEW LUBE PASSAGE WERE ADDED TO THE CENTER SUPPORT. THE CENTER SUPPORT BUSHING LENGTH HAS BEEN EXTENDED AND THE GROOVES WERE MODIFIED TO CONNECT THE REACTION CARRIER BUSHING LUBE PASSAGE TO CENTER LUBE SUPPLY AT THE OUTER-DIAMETER OF THE SUN GEAR SHAFT. THE INTERMEDIATE CLUTCH LUBE ORIFICE DIAMETER WAS ALSO REDUCED.

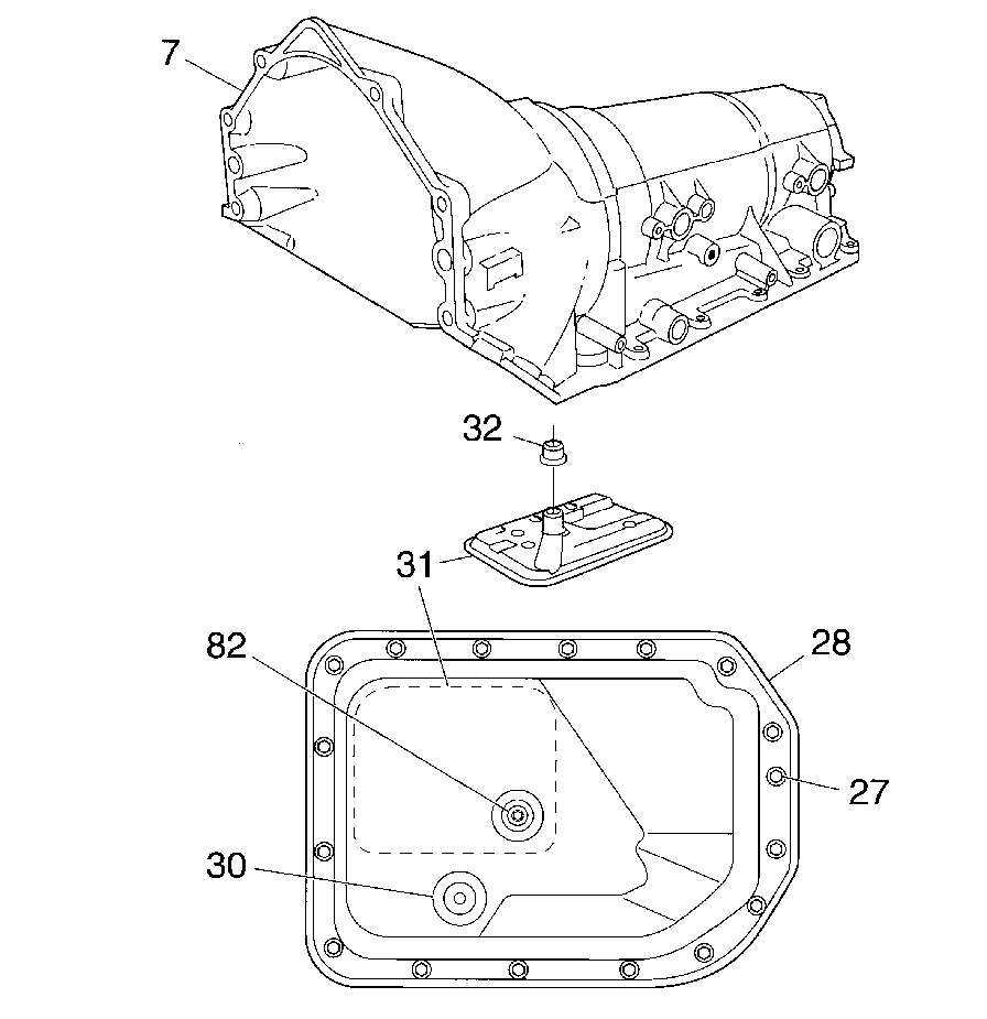
NEW OIL PAN (FIGURE 2) THE NEW OIL PAN PACKAGE IMPROVES LINE PRESSURE RESPONSE TIMES DURING LOW TEMPERATURE GARAGE SHIFT MANEUVERS. AIR INGESTION AND FLOW LIMITATIONS ARE REDUCED BY INCREASING THE PAN DEPTH AND EXTENDING THE FILTER INLET DEEPER INTO THE SUMP.

THE NEW OIL PAN HAS A CONTOURED SHAPE, IS 7 MM DEEPER THAN THE NON- CONTOURED OIL PAN, HAS A DRAIN PLUG AND HAS AN OIL LEVEL INDICATOR STOP INCORPORATED INTO THE OIL PAN STAMPING. THE OIL FILTER IS NEW AND HAS AN INLET WHICH EXTENDS DEEPER INTO THE SUMP.

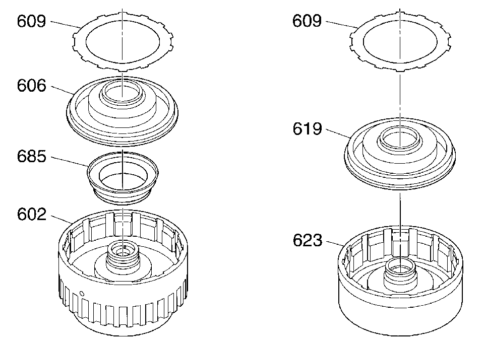
FOURTH CLUTCH AND OVERRUN CLUTCH IMPROVEMENT (FIGURE 3) NEW FOURTH CLUTCH AND OVERRUN CLUTCH STEEL PLATES INCLUDE TURBULATOR HOLES; 4 IN THE FOURTH CLUTCH PLATES AND 7 IN THE OVERRUN CLUTCH PLATES. THE HOLES INTERRUPT FLUID SURFACE PRESSURE TO IMPROVE EFFICIENCY.

GARAGE SHIFT IMPROVEMENTS (FIGURE 4) THE GARAGE SHIFT PACKAGE IMPROVES THE PARK TO REVERSE OR DRIVE SHIFT FEEL AND CLUTCH DURABILITY. THE NEW GARAGE SHIFT PACKAGE INCLUDES NEW FORWARD AND DIRECT CLUTCH ASSEMBLIES WITH A WAVE PLATE, (REPLACING THE BELLEVILLE PLATE), STAMPED STEEL PISTONS WITH BONDED PISTON SEALS AND A STAMPED STEEL FORWARD CLUTCH SLEEVE WITH A BONDED SEAL. THE FORWARD AND DIRECT CLUTCH PISTONS ARE REUSABLE. THERE ARE THREE NEW SELECTIVE WAVE PLATES THAT ARE MODEL DEPENDENT.

UPDATE IDENTIFICATION THIS PRODUCT UPDATE WAS IMPLEMENTED IN PRODUCTION ON ALL 1997 4L80E MODELS AT S.O.P.

EFFECT ON SERVICE THE PARTS DESCRIBED ABOVE WILL SERVICE 1997 MODELS ONLY. WHEN SERVICING A 4L80E TRANSMISSION, THE NEW OIL FILTER MUST BE USED WITH THE NEW OIL PAN.

NOTICE: THE OIL PAN CAN BE DAMAGED IF ANY SPACERS, WEDGES OR OTHER OBJECTS ARE PLACED BETWEEN THE TRANSMISSION JACK AND THE OIL PAN WHEN LIFTING THE TRANSMISSION. DAMAGE TO THE OIL PAN CAN RESTRICT OIL FLOW INTO THE OIL FILTER PICKUP AND CAUSE OIL PUMP CAVITATION, LOW LINE PRESSURE, NOISE AND/OR TRANSMISSION FAILURE. WHEN DIAGNOSING A TRANSMISSION WITH LOW LINE PRESSURE OR NOISE, INSPECT THE TRANSMISSION OIL PAN FOR DAMAGE THAT COULD RESTRICT OIL FLOW TO THE OIL FILTER PICK UP.

PARTS INFORMATION REFER TO THE GMSPO CATALOG FOR THE CORRECT PART NUMBERS OF THE DESCRIBED PARTS.

FIGURES: 4 ATTACHMENTS: 0

FIGURE 1 - CENTRALIZED LUBRICATION COMPONENTS FIGURE 2 - NEW TRANSMISSION OIL PAN AND FILTER FIGURE 3 - NEW FOURTH CLUTCH AND OVERRUN CLUTCH COMPONENTS FIGURE 4 - GARAGE SHIFT PACKAGE COMPONENTS


Object Number: 96547  Size: LF


Object Number: 96548  Size: LF


Object Number: 96549  Size: MF


Object Number: 96550  Size: MF

GENERAL MOTORS BULLETINS ARE INTENDED FOR USE BY PROFESSIONAL TECHNICIANS, NOT A "DO-IT-YOURSELFER". THEY ARE WRITTEN TO INFORM THOSE TECHNICIANS OF CONDITIONS THAT MAY OCCUR ON SOME VEHICLES, OR TO PROVIDE INFORMATION THAT COULD ASSIST IN THE PROPER SERVICE OF A VEHICLE. PROPERLY TRAINED TECHNICIANS HAVE THE EQUIPMENT, TOOLS, SAFETY INSTRUCTIONS AND KNOW-HOW TO DO A JOB PROPERLY AND SAFELY. IF A CONDITION IS DESCRIBED, DO NOT ASSUME THAT THE BULLETIN APPLIES TO YOUR VEHICLE, OR THAT YOUR VEHICLE WILL HAVE THAT CONDITION. SEE A GENERAL MOTORS DEALER SERVICING YOUR BRAND OF GENERAL MOTORS VEHICLE FOR INFORMATION ON WHETHER YOUR VEHICLE MAY BENEFIT FROM THE INFORMATION.

COPYRIGHT 1996. GENERAL MOTORS CORPORATION. ALL RIGHTS RESERVED.