GM Service Manual Online
For 1990-2009 cars only

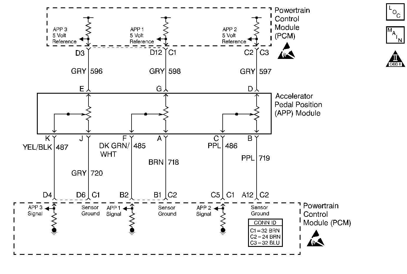
Object Number: 226926  Size: MF
Engine Controls Components
Engine Controls (Cell 22: Fuel Controls 5)
OBD II Symbol Description Notice
Handling ESD Sensitive Parts Notice
Handling ESD Sensitive Parts Notice

Circuit Description

The Accelerator Pedal Position (APP) module provides a voltage signal that changes relative to accelerator position. There are three sensors located within the APP module that are scaled differently.

Conditions for Setting the DTC

    • The ignition voltage is greater than 6.4 volts.
    • The engine speed is greater than 300 RPM.
    • The difference between APP 2 and APP 1 is greater than 0.23 volts (the PCM compares the pre-scaled voltage (internal to the PCM)).
    • The difference between APP 2 and APP 3 is greater than 0.50 volts (PCM compares pre-scaled voltage (internal to PCM)).
    • There are no in range faults for APP 1 or APP 3 (PCM checks for high and low voltage faults).
    • The conditions were met for 2 seconds.

Action Taken When the DTC Sets

    •  The Service Throttle Soon lamp will not illuminate when one APP DTC sets. The PCM will only illuminate the Service Throttle Soon lamp when multiple APP DTCs set.
    • The PCM records the operating conditions at the time the diagnostic fails. This information stores in the Failure Records.

Conditions for Clearing the MIL/DTC

    • A History DTC will clear after forty consecutive warm-up cycles during which the diagnostic does not fail (the coolant temperature has risen 5°C (40°F) from the start up coolant temperature and the engine coolant temperature exceeds 71°C (160°F) during that same ignition cycle).
    • Use of a Scan tool will clear the DTC codes.

Diagnostic Aids

There are no driveability issues associated with the APP module unless a DTC is present. The most likely cause of this DTC are poor connections or the sensor itself. The least likely is a PCM problem.

An intermittent may be caused by the following:

  1. Poor connections
  2. A rubbed through wire insulation
  3. Broken wire inside the insulation

A scan tool reads the APP 2 position in volts and should read about 4.5 volts with the throttle closed and the ignition ON or at idle. The voltage should decrease at a steady rate as the throttle is moved toward WOT. Also, 90% pedal travel is acceptable for a correct APP operation. Scan the APP 2 sensor while depressing the accelerator pedal with the engine stopped and the ignition ON. The display should vary from about 4.5 volts when the throttle is closed to about 1.5 volts when the throttle is held at a Wide Open Throttle (WOT) position.

Test Description

The numbers below refer to the step numbers on the Diagnostic Table.

  1. This step determines if there is a good 5 volt reference.

  2. This step will check for an open in the ground circuit.

Step

Action

Value(s)

Yes

No

1

Important: Before clearing any DTCs, use the Scan Tool Capture Info to save freeze frame and failure records for reference, as the Scan Tool loses data when using the Clear Info function.

Was the Powertrain On-Board Diagnostic (OBD) System Check performed?

--

Go to Step 2

Go to A Powertrain On Board Diagnostic (OBD) System Check

2

  1. Turn the ignition ON with the engine OFF.
  2. With the throttle closed, observe APP voltages on the Scan Tool.

Are the APP voltages at the specified values (values are listed as APP 1, APP 2, and APP 3 respectively)?

0.45-0.95V

4.0- 4.5V

3.6- 4.0V

Go to Step 3

Go to Step 4

3

The DTC is intermittent. If no additional DTCs are stored, refer to Diagnostic Aids. If any additional DTCs were stored, refer to the applicable DTC tables first.

Are there any additional DTCs stored?

--

Go to the applicable DTC table

Go to Diagnostic Aids

4

  1. Disconnect the APP sensor electrical connector.
  2. Turn the ignition ON with the engine OFF.
  3. With J 39200 connected to ground, probe the APP sensor 5 volt reference circuits at APP harness terminals G, D, and E.

Is the voltage greater than or equal to the specified value on all of the circuits?

4.75V

Go to Step 5

Go to Step 6

5

  1. Turn the ignition ON with the engine OFF.
  2. With a test light connected to B+, probe the APP sensor ground circuits at APP sensor harness terminals A, B, and J.

Is the Test light ON (all circuits)?

--

Go to Step 9

Go to Step 8

6

  1. Turn the ignition OFF.
  2. Disconnect the PCM and check the 5 volt reference circuit for an open or a short to ground.
  3. If the 5 volt reference circuit is open or shorted to ground, repair as necessary.

Was the 5 volt reference circuit open or shorted to ground?

--

Go to Step 11

Go to Step 7

7

Check the 5 volt reference circuit for a poor connection at the PCM and the replace terminal if necessary. Refer to Connector Repairs in Wiring Systems.

Did the terminal require replacement?

--

Go to Step 11

Go to Step 10

8

  1. Turn the ignition OFF.
  2. Disconnect the PCM and check for an open sensor ground circuit to the PCM.
  3. If a problem is found, repair as necessary.

Was the APP sensor ground circuit open?

--

Go to Step 11

Go to Step 10

9

Replace the APP module. Refer to APP Module Replacement .

Is the action complete?

--

Go to Step 11

--

10

Replace the PCM.

Important: The new PCM must be programmed. Refer to PCM Replacement/Programming .

Is the action complete?

--

Go to Step 11

--

11

  1. Using the Scan Tool, clear the DTCs.
  2. Start engine and idle at normal operating temperature.
  3. Select DTC, Specific, then enter the DTC number which was set.
  4. Operate the vehicle, within the Conditions for Setting this DTC, until the Scan Tool indicates the diagnostic Ran.

Does the Scan Tool indicate the diagnostic Passed?

--

Go to Step 12

Go to Step 2

12

Does the Scan Tool display any additional undiagnosed DTCs?

--

Go to the applicable DTC table

System OK