GM Service Manual Online
For 1990-2009 cars only

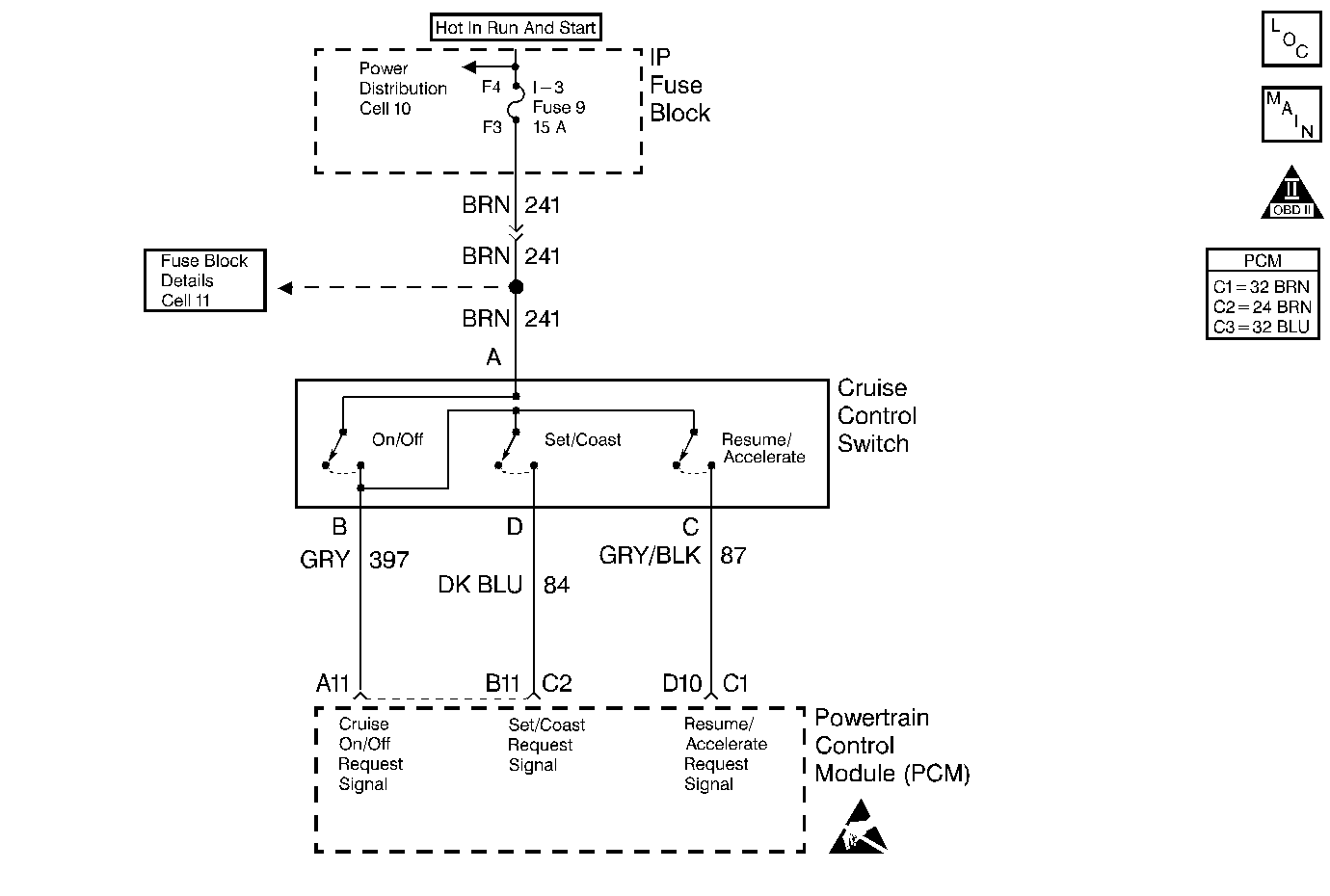
Object Number: 226924  Size: MF
Engine Controls Components
Engine Controls (Cell 22: Fuel Controls 5)
OBD II Symbol Description Notice
Handling ESD Sensitive Parts Notice

Circuit Description

The TCC normally closed brake switch supplies a B+ signal on CKT 420 to the PCM. The circuit is opened when the brakes are applied. The stop lamp/cruise control normally open brake switch supplies a B+ signal on CKT 820 to the PCM when the brake is applied.

Conditions for Setting the DTC

    • The switches disagree for 10 consecutive minutes.
        or
    • The TCC and the cruise control brake switches are not toggling open and closed, during six brake applications on the same ignition cycle.

Action Taken When the DTC Sets

    • The PCM will not illuminate the Malfunction Indicator Lamp (MIL).
    • The PCM records the operating conditions at the time the diagnostic fails. This information stores in the Failure Records.

Conditions for Clearing the MIL/DTC

    • A History DTC will clear after forty consecutive warm-up cycles during which the diagnostic does not fail (the coolant temperature has risen 5°C (40°F) from the start up coolant temperature and the engine coolant temperature exceeds 71°C (160°F) during that same ignition cycle.
    • Use of a Scan tool will clear the DTC codes.

Diagnostic Aids

Refer to PCM Intermittent Diagnostic Trouble Codes or Performance. Check the driving habits of the customer and/or unusual traffic conditions (i.e. stop and go, expressway traffic).

Test Description

The numbers below refer to the step numbers on the Diagnostic Table.

  1. This test simulates brake switch closed or the brakes as being OFF.

  2. This test checks the feed circuit.

Step

Action

Value(s)

Yes

No

1

Important: Before clearing any DTCs, use the Scan Tool Capture Info to save freeze frame and failure records for reference, as the Scan Tool loses data when using the Clear Info function.

Was the Powertrain On-Board Diagnostic (OBD) System Check performed?

--

Go to Step 2

Go to A Powertrain On Board Diagnostic (OBD) System Check

2

  1. The Scan Tool is installed.
  2. Turn the ignition ON with the engine OFF.
  3. Apply the brakes.

Does the Scan Tool display the Cruise Brake switch Closed and then Open when the brake is released?

--

Go to Step 3

Go to Step 4

3

Apply the brakes again.

Does the Scan Tool display the Brake switch Open and then Closed when the brake is released?

--

Go to Step 8

Go to Step 6

4

  1. Turn the ignition ON with the engine OFF.
  2. Disconnect the stop lamp switch.
  3. With a test light connected to ground, probe the normally open feed circuit (terminal B).

Is the test light ON?

--

Go to Step 5

Go to Step 9

5

  1. Disconnect stop lamp switch.
  2. Jumper the normally open (terminal A) feed circuit and the normally open signal circuits (terminal B) together.

Does the Scan Tool display the Cruise Brake switch as Closed?

--

Go to Step 6

Go to Step 10

6

  1. Turn the ignition ON with the engine OFF.
  2. Disconnect the Stop lamp switch.
  3. With a test light connected to ground, probe the normally closed feed circuit (terminal F).

Is the test light ON?

--

Go to Step 7

Go to Step 12

7

  1. Stop lamp switch is disconnected.
  2. Jumper the normally closed (terminal F) feed circuit and the normally closed signal circuits (terminal E) together.

Does the Scan Tool display the Cruise Brake switch as Closed?

--

Go to Step 15

Go to Step 13

8

The DTC is intermittent. If no additional DTCs are stored, refer to Diagnostic Aids. If any additional DTCs were stored, refer to the applicable DTC tables first.

Are there any additional DTCs stored?

--

Go to the applicable DTC table

Go to Diagnostic Aids

9

Check the normally open feed circuit (terminal B) for an open or a short to ground.

Is the action complete?

--

Go to Step 17

--

10

Check the normally open Cruise Brake switch signal circuit for an open or a short to ground.

Was a repair performed?

--

Go to Step 17

Go to Step 11

11

Check the normally open Cruise Brake switch signal circuit for a poor connection at the PCM.

Was a repair performed?

--

Go to Step 17

Go to Step 16

12

Check the normally closed feed circuit (terminal F) for an open or a short to ground.

Is the action complete?

--

Go to Step 17

--

13

Check the normally closed Brake switch signal circuit for an open or a short to ground.

Was a repair performed?

--

Go to Step 17

Go to Step 14

14

Check the normally closed Brake switch signal circuit for a poor connection at the PCM.

Was a repair performed?

--

Go to Step 17

Go to Step 16

15

Replace the stop lamp switch.

Is the action complete?

--

Go to Step 17

--

16

Important: The new PCM must be programmed.

Replace the PCM. Refer to PCM Replacement/Programming .

Is the action complete?

--

Go to Step 17

--

17

  1. Using the Scan Tool, clear the DTCs.
  2. Start engine and idle at normal operating temperature.
  3. Select DTC, Specific, then enter the DTC number which was set.
  4. Operate the vehicle, within the Conditions for Setting this DTC, until the Scan Tool indicates the diagnostic Ran.

Does the Scan Tool indicate the diagnostic Passed?

--

Go to Step 18

Go to Step 2

18

Does the Scan Tool display any additional undiagnosed DTCs?

--

Go to the applicable DTC table

System OK