GM Service Manual Online
For 1990-2009 cars only
Makes
🢒
Chevrolet
🢒
1998
🢒
Chevy P32 RV/Van Chassis
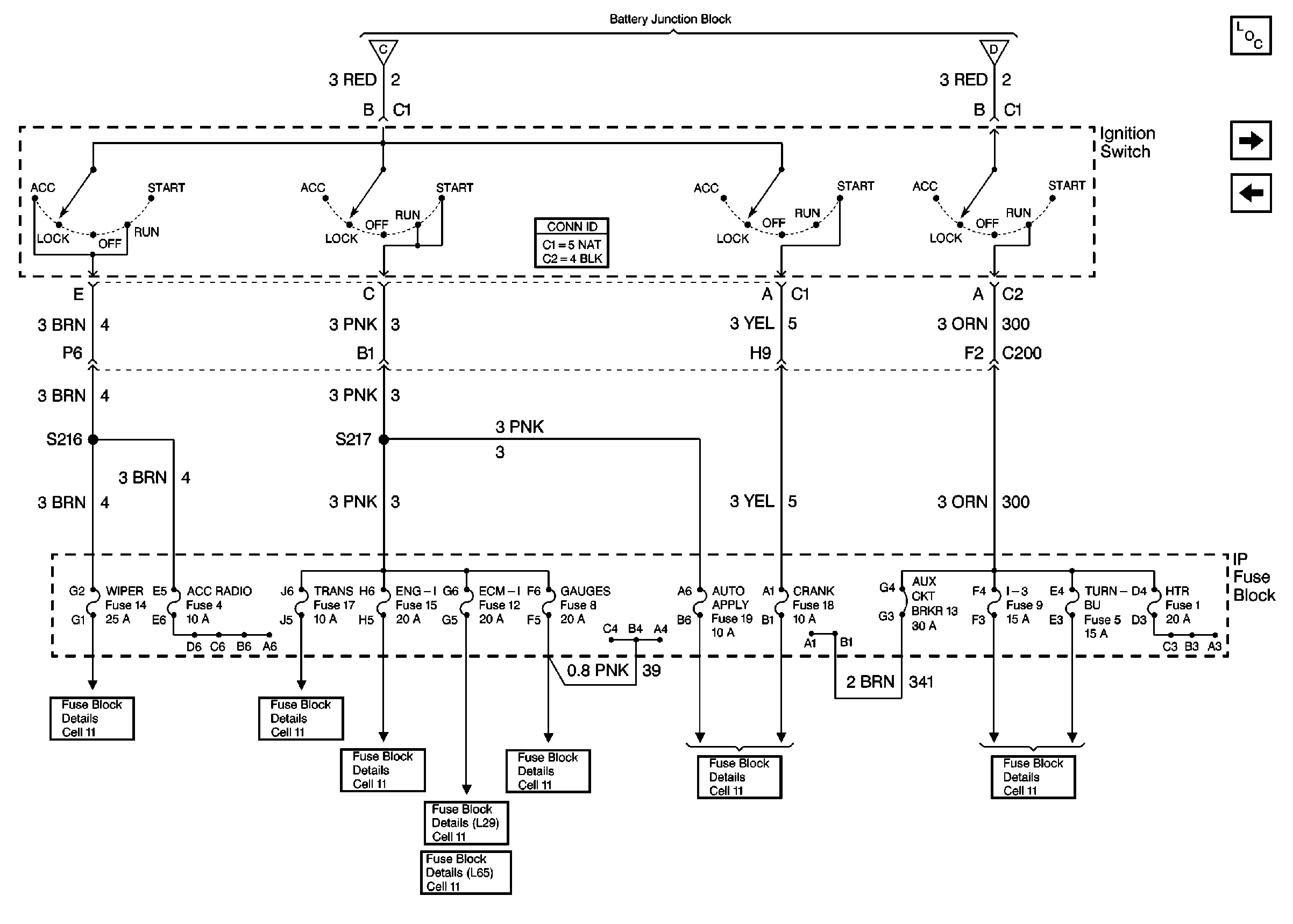
🢒 Cell 10: Ignition Switch and Fuse Block
Cell 10: Ignition Switch and Fuse Block
Cell 10: Ignition Switch and Fuse Block
Power and Grounding Components P32
Cell 10: Ignition Switch
Cell 10: Fuse Block
Cell 10: Battery, Starter and Junction Block
Cell 10: Battery, Starter and Junction Block
Cell 11: WIPER, ACC-RADIO, CRANK, AUTO APPLY, and INSTR LPS fuses
P32 Cell 11 (6)
Cell 11: ECM-I fuse [L29]
Cell 11: ECM-I fuse [L65]
Cell 11: GAUGES and TRANS fuses
P32 Cell 11 (6)
Cell 11: WIPER, ACC-RADIO, CRANK, AUTO APPLY, and INSTR LPS fuses
Cell 11: I-3, TURN BU and HTR fuses, PWR CKT BRKR 2 and AUX CKT BRKR13