GM Service Manual Online
For 1990-2009 cars only

DTC P1810 TFP Valve Position Switch Circuit Diesel


Object Number: 220477  Size: MF
Automatic Transmission Components Gasoline
OBD II Symbol Description Notice
Handling ESD Sensitive Parts Notice

Circuit Description

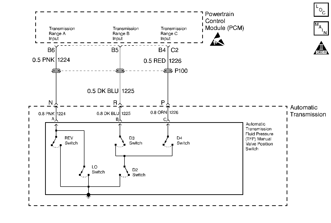
The Automatic Transmission Fluid Pressure Manual Valve Position Switch (TFP Val. Position Sw.) consists of five normally-open pressure switches. The Powertrain Control Module (PCM) supplies battery voltage to each range signal. By grounding one or more of these circuits through various combinations of the pressure switches, the PCM detects what manual valve position has been selected and compares the actual voltage combination of the switches to a TFP Val. Position Sw. combination chart stored in memory.

The TFP Val. Position Sw. cannot distinguish between Park and Neutral because the monitored valve body pressures are identical in both cases. With the ignition On and the engine Off, D2 is indicated. When the transmission 20-way connector is disconnected, the ground potential for the three range signals to the PCM is removed, and with the ignition On, D2 is indicated.

If the PCM detects an invalid state of the TFP Val. Position Sw. circuit by deciphering the TFP Val . Position Sw. inputs, then DTC P1810 sets. DTC P1810 is a type B DTC.

Conditions for Setting the DTC

DTC P1810 sets if either of the following conditions occur:

Condition 1

    • System voltage is 9.0-16.0 volts.
    • The engine is running greater than 475 RPM for greater than 7 seconds.
    • The PCM detects an illegal TFP Val. Position Sw. combination for greater than 25 seconds.

Condition 2

    • The system voltage is 9.0-16.0 volts.
    • No OSS Sensor DTCs P0722 or P0723.
    • The engine speed is less than 50 RPM for 1.5 seconds, 50-525 RPM for greater than 0.1 seconds and then the engine speed is greater than 575 RPM.
    • Vehicle speed is less than 4 Km/h (2.5 mph).
    • The PCM detects the gear range as D2 before and after start up.
    • The condition exists for greater than 7.5 seconds. The PCM looks for a condition change only at start-up.

Condition 3

    • No MAP DTCs P0106, P0107 or P0108.
    • No A/T ISS Sensor DTCs P0716 or P0717.
    • No OSS DTCs P0722 or P0723.
    • No 1-2 SS Valve DTCs P0751 or P0753.
    • No 2-3 SS Valve DTCs P0756 or P0758.
    • The engine speed is less than 3750 RPM.
    • System voltage is 9.0-16.0 volts.
    • The vehicle speed is greater than 8 km/h (5 mph).
    • The APP Angle is greater than 12%.
    • The engine torque is 100-644 N·m (80-475 lb ft).
    • The engine is running for more than 7 seconds.
    • The TFP Val. Position Sw. indicates the following:
       - P/N when the ratio indicates less than 1.05:1 for greater than 15 seconds.
       - Reverse, when the ratio is not 2.04-2.12 for greater than 15 seconds.
       - D4, D3, D2, or D1 when the ratio indicates reverse (2.04-2.12) for greater than 5 seconds.

Action Taken When the DTC Sets

    • The PCM illuminates the Malfunction Indicator Lamp (MIL).
    • The PCM commands maximum line pressure.
    • The PCM assumes D4 for the PRNDL shift pattern.
    • The PCM freezes shift adapts.
    • DTC P1810 is stored in PCM history.

Conditions for Clearing the MIL/DTC

    • The PCM turns OFF the MIL after three consecutive trips without a failure reported.
    • A scan tool can clear the DTC from the PCM history. The PCM clears the DTC from the PCM history if the vehicle completes 40 warm-up cycles without a failure reported.
    • The PCM cancels the DTC default actions when the fault no longer exists and the ignition is OFF long enough in order to power down the PCM.

Diagnostic Aids

    • Refer to the accompanying chart for the normal range signals and the illegal combinations.
    • Inspect the wiring at the PCM, the transmission connector and all other circuit connecting points for the following conditions:
       - A bent terminal
       - A backed out terminal
       - A damaged terminal
       - Poor terminal tension
       - A chafed wire
       - A broken wire inside the insulation
       - Moisture intrusion
       - Corrosion
    • When diagnosing for an intermittent short or open, massage the wiring harness while watching the test equipment for a change.
    • DTC P1810 can be falsely set during a fluid fill procedure. After refilling the fluid, cycle key down then start and run the vehicle for 20 seconds. Key down and allow the PCM to power down, and then restart the vehicle.
    • DTC P1810 can be set falsely by low pump pressure or a stuck pressure regulator.
    • DTC P1810 can be set by a rolled forward clutch piston seal. It may allow the PCM to see a 2.08:1 ratio (reverse) when the manual valve position is indicated as D4.
    • First diagnose and clear any engine DTCs that are present. Then inspect for any transmission DTCs that may have reset.
    • Refer to the Range Signal table.

Test Description

The numbers below refer to the step numbers on the diagnostic table.

  1. This step tests the indicated range signal to the manual valve that is actually selected.

  2. This step tests the voltage from the PCM to the transmission 20-way connector.

P1810

Step

Action

Value(s)

Yes

No

1

Was the Powertrain On-Board Diagnostic (OBD) System Check performed?

--

Go to Step 2

Go to A Powertrain On Board Diagnostic (OBD) System Check

2

  1. Inspect for proper adjustment of the transmission linkage from the select lever to the manual valve.
  2. Inspect the fluid.

Did you perform the inspections?

--

Go to Step 3

Go to Transmission Fluid Check

3

  1. Install the Scan Tool ®.
  2. With the engine OFF, turn the ignition switch to the RUN position.
  3. Important: Before clearing the DTCs, use the scan tool in order to record the Freeze Frame and Failure Records for reference. Using the Clear Info function will erase the stored Freeze Frame and Failure Records from the PCM.

  4. Record the DTC Freeze Frame and Failure Records, then clear the DTC.
  5. While the engine idles at normal operating temperature, apply the parking brake.
  6. Select each transmission range: D1, D2, D3, D4, N, R, and P.

Does each selected transmission range match the scan tool TFP Switch A/B/C display? (Refer to the Range Signal table.)

--

Go to Diagnostic Aids

Go to Step 4

4

  1. Turn the ignition OFF.
  2. Disconnect the transmission 20-way connector (additional DTCs may set).
  3. Install the J 39775 Jumper Harness on the engine side of the transmission 20-way connector.
  4. With the engine OFF, turn the ignition to the RUN position.
  5. Using the J 39200 DMM and the J 35616 Connector Test Adapter Kit, check the voltage at the harness connector terminals N, R, and P.

Do all three circuits display B+?

--

Go to Step 6

Go to Step 5

5

Inspect the circuits that did not indicate B+ in Step 4 for an open or short to ground condition.

Refer to General Electrical Diagnosis .

Did you find the condition?

--

Go to Step 8

Go to Step 7

6

To verify that circuits 1224, 1225, and 1226 are not shorted together, use a fused jumper to ground on each circuit while monitoring the scan tool TFP Switch display.

When a range signal circuit is grounded, are any of the other range signal circuits affected?

--

Go to Step 8

Refer to Transmission Fluid Pressure Manual Valve Position Switch Resistance Check

7

Replace the PCM.

Refer to Powertrain Control Module Replacement/Programming .

Is the replacement complete?

--

Go to Step 9

--

8

Repair the affected wiring as needed.

Refer to Wiring Repairs .

Is the repair complete?

--

Go to Step 9

--

9

In order to verify your repair, perform the following procedure:

  1. Select DTC.
  2. Select Clear Info.
  3. Operate the vehicle under the following conditions:
  4. • Turn the ignition switch to the RUN position for at least 2 seconds.
    • Start the vehicle.
    • Idle the vehicle in Park above 600 RPM for 8.5 seconds.
    • Drive the vehicle in D4 with throttle more than 12% and obtain TCC lock up.
  5. Select Specific DTC. Enter DTC P1810.

Has the test run and passed?

--

System OK

Begin the diagnosis again. Go to Step 1

DTC P1810 TFP Valve Position Switch Circuit Gas


Object Number: 232412  Size: MF
Automatic Transmission Components Diesel
OBD II Symbol Description Notice
Handling ESD Sensitive Parts Notice

Circuit Description

The Automatic Transmission Fluid Pressure Manual Valve Position Switch (TFP Val. Position Sw.) consists of five normally-open pressure switches. The Vehicle Control Module (VCM) supplies battery voltage to each range signal. By grounding one or more of these circuits through various combinations of the pressure switches, the VCM detects what manual valve position has been selected and compares the actual voltage combination of the switches to a TFP Val. Position Sw. combination table stored in memory.

The TFP Val. Position Sw. assembly cannot distinguish between Park and Neutral because the monitored valve body pressures are identical in both cases. With the ignition On and the engine Off, D2 is indicated. When the transmission 20-way connector is disconnected, the ground potential for the three range signals to the VCM is removed, and with the ignition On, D2 is indicated.

If the VCM detects an invalid state of the TFP Val. Position Sw. circuit by deciphering the TFP Val . Position Sw. inputs, then DTC P1810 sets. DTC P1810 is a type D DTC. For California emissions vehicles DTC P1810 is a type B DTC.

Conditions for Setting the DTC

DTC P1810 sets if any of the following conditions occur:

Condition 1

    • The system voltage is 10-16 volts.
    • The engine is more than 475 RPM for at least 7 seconds.
    • The VCM detects an illegal TFP Val. Position Sw. combination for greater than 60 seconds.

Condition 2

    • The system voltage is 10-16 volts.
    • No OSS DTC P0502 or P0503.
    • The engine speed is less than 50 RPM for 0.3 seconds, 50-550 RPM for greater than 0.02 seconds and then greater than 550 RPM and the vehicle speed is less than 4 km/h (2.5 mph).
    • The VCM detects the gear range as D2 before and after start up.
    • The condition exists for greater than 7 seconds. The VCM looks for a condition change only at start-up.

Condition 3

    • No MAP DTCs P0106, P0107 or P0108.
    • No TP Sensor DTCs P0121, P0122, or P0123.
    • No OSS DTCs P0502 or P0503.
    • No A/T ISS Sensor DTCs P0716 or P0717.
    • No 1-2 SS Valve DTCs P0751 or P0753.
    • No 2-3 SS Valve DTCs P0756 or P0758.
    • The vehicle speed is greater than 8 km/h (5 mph).
    • The TP Sensor is:
       - 108-405 N·m (80-300 lb ft) 4.3L.
       - 108-540 N·m (80-400 lb ft) 5.7L.
       - 108-675 N·m (80-500 lb ft) 7.4L.
    • The engine torque is greater than 100 N·m (80 lb ft).
    • The engine is running more than 475 RPM for more than 7 seconds.
    • The TFP Val. Position Sw. indicates the following:
       - P/N when the ratio indicates less than 1.05:1 for greater than 15 seconds (4.3L, 20 seconds).
       - Reverse when the ratio indicates D4, D3, D2, and D1 for greater than 5 seconds.
       - D4, D3, D2, and D1 when the ratio indicates reverse for greater than 7 seconds.

Action Taken When the DTC Sets

    • The VCM illuminates the Malfunction Indicator Lamp for California Emission Vehicles.
    • The VCM commands maximum line pressure.
    • The VCM assumes D4 for the PRNDL shift pattern.
    • The VCM freezes shift adapts.
    • The VCM commands the TCC ON in commanded fourth gear.
    • DTC P1810 is stored in VCM history.

Conditions for Clearing the DTC

    • For California emissions vehicles, the VCM turns OFF the MIL after three consecutive trips without a failure reported.
    • A scan tool can clear the DTC from the VCM history. The VCM clears the DTC from the VCM history if the vehicle completes 40 warm-up cycles without a failure reported.
    • The VCM cancels the DTC default actions when the fault no longer exists and the ignition is OFF long enough in order to power down the VCM.

Diagnostic Aids

    • Refer to the accompanying table for the normal range signals and the illegal combinations.
    • Inspect the wiring at the VCM, the transmission connector and all other circuit connecting points for the following conditions:
       - A bent terminal
       - A backed out terminal
       - A damaged terminal
       - Poor terminal tension
       - A chafed wire
       - A broken wire inside the insulation
       - Moisture intrusion
       - Corrosion
    • When diagnosing for an intermittent short or open, massage the wiring harness while watching the test equipment for a change.
    • DTC P1810 can be falsely set during a fluid fill procedure. After refilling the fluid, cycle key down then start and run the vehicle for 20 seconds. Key down and allow the VCM to power down, and then restart the vehicle.
    • DTC P1810 can be set falsely by low pump pressure or a stuck pressure regulator.
    • DTC P1810 can be set by a rolled forward clutch piston seal. It may allow the VCM to see a 2.08:1 ratio (reverse) when the manual valve position is indicated as D4.
    • First diagnose and clear any engine DTCs or TP Sensor codes that are present. Then inspect for any transmission DTCs that may have reset.
    • Refer to the Range Signal table.

Test Description

The numbers below refer to the step numbers on the diagnostic table.

  1. This step tests the indicated range signal to the manual valve that is actually selected.

  2. This step tests the voltage from the VCM to the transmission 20-way connector.

P1810

Step

Action

Value(s)

Yes

No

1

Was the Powertrain On-Board Diagnostic (OBD) System Check performed?

--

Go to Step 2

Go to Powertrain On Board Diagnostic (OBD) System Check (4.3L) or

Powertrain On Board Diagnostic (OBD) System Check (5.7L or Powertrain On Board Diagnostic (OBD) System Check (7.4L)

2

  1. Inspect for proper adjustment of the transmission linkage from the select lever to the manual valve.
  2. Inspect the fluid.

Did you perform the inspections?

--

Go to Step 3

Go to Transmission Fluid Check

3

  1. Install the Scan Tool .
  2. With the engine OFF, turn the ignition switch to the RUN position.
  3. Important: Before clearing the DTCs, use the scan tool in order to record the Freeze Frame and Failure Records for reference. The Clear Info function erases the stored Freeze Frame and Failure Records from the VCM.

  4. Record the DTC Freeze Frame and Failure Records.
  5. While the engine idles at normal operating temperature, apply the parking brake.
  6. Select each transmission range: D1, D2, D3, D4, N, R, and P.

Does each selected transmission range match the scan tool TFP Switch A/B/C display? (Refer to the Range Signal table.)

--

Go to Diagnostic Aids

Go to Step 4

4

  1. Turn the ignition OFF.
  2. Disconnect the transmission 20-way connector (additional DTCs may set).
  3. Install the J 39775 Jumper Harness on the engine side of the transmission 20-way connector.
  4. With the engine OFF, turn the ignition to the RUN position.
  5. Using the J 39200 DMM and the J 35616 Connector Test Adapter Kit check the voltage at the harness connector terminals N, R, and P.

Is B+ displayed on all three circuits?

--

Go to Step 6

Go to Step 5

5

Inspect the circuits that did not indicate B+ in Step 4 for an open or short to ground.

Refer to General Electrical Diagnosis .

Did you find an open or shorted to ground condition?

--

Go to Step 9

Go to Step 7

6

Verify that circuits 1224, 1225, and 1226 are not shorted together. Use a J 36169-A Fused Jumper Wire in order to ground each circuit while monitoring the scan tool TFP Switch display.

When a range signal circuit is grounded, are any of the other range signal circuits affected?

--

Go to Step 8

Go to Transmission Fluid Pressure Manual Valve Position Switch Resistance Check

7

Replace the VCM.

Refer to VCM Replacement/Programming (4.3L) or VCM Replacement/Programming (5.7L) or VCM Replacement/Programming (7.4L).

Is the replacement complete?

--

Go to Step 9

--

8

Repair the affected wiring as needed.

Refer to Wiring Repairs .

Is the repair complete?

--

Go to Step 9

--

9

In order to verify your repair, perform the following procedure:

  1. Select DTC.
  2. Select Clear Info.
  3. Operate the vehicle under the following conditions:
  4. • Turn the ignition switch to the RUN position for at least 2 seconds.
    • Start the vehicle.
    • Idle the vehicle in Park above 600 RPM for 7 seconds.
    • Drive the vehicle in D4 with the throttle at least 10% and the TCC locked for 60 seconds.
  5. Select Specific DTC. Enter DTC P1810.

Has the test run and passed?

--

System OK

Begin the diagnosis again. Go to Step 1