GM Service Manual Online
For 1990-2009 cars only

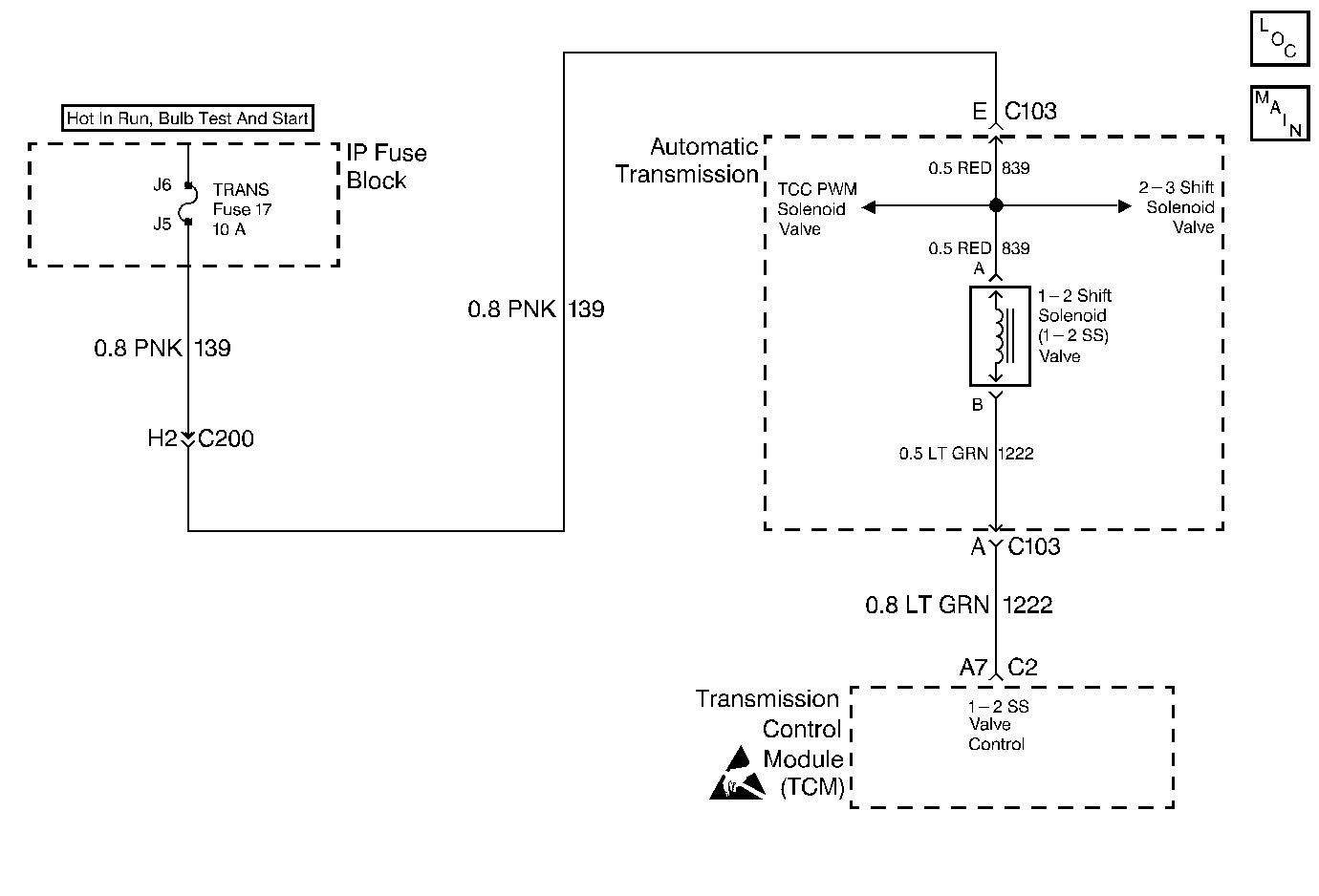
Object Number: 230231  Size: MF
Automatic Transmission Components Gasoline
Handling ESD Sensitive Parts Notice

Circuit Description

The 1-2 Shift Solenoid Valve (1-2 SS Valve) controls the fluid flow action on the 1-2 and the 3-4 shift valves. The 1-2 SS Valve is a normally-open exhaust valve that is used with the 2-3 Shift Solenoid Valve (2-3 SS Valve) to allow four different shifting combinations. The 1-2 SS Valve attaches to the control valve body within the transmission. The ignition voltage goes directly to the 1-2 SS Valve. The Transmission Control Module (TCM) controls the 1-2 SS Valve by providing the ground path through circuit 1222.

When the TCM detects a continuous open or short in the 1-2 SS Valve circuit or the 1-2 SS Valve, then DTC 82 sets.

Conditions for Setting the DTC

    • The TCM commands the solenoid ON, and the voltage input remains high (B+) for 0.5 seconds.
    • The TCM commands the solenoid OFF, and the voltage input remains low for 0.5 seconds.

Action Taken When the DTC Sets

    • The TCM does not illuminate the Malfunction Indicator Lamp (MIL).
    • The TCM commands maximum line pressure.
    • DTC 82 is stored in TCM history.

Conditions for Clearing the DTC

    • A scan tool can clear the DTC from the TCM history. The TCM clears the DTC from the TCM history if the vehicle completes 40 warm-up cycles without a failure reported.
    • The TCM cancels the DTC default actions when the fault no longer exists, and the ignition is OFF long enough to power down the TCM.

Diagnostic Aids

    • Inspect the wiring at the TCM, the transmission connector and all other circuit connecting points for the following conditions:
       - A bent terminal
       - A backed out terminal
       - A damaged terminal
       - Poor terminal tension
       - A chafed wire
       - A broken wire inside the insulation
       - Moisture intrusion
       - Corrosion
    • When diagnosing for an intermittent short or open, massage the wiring harness while watching the test equipment for a change.
    • An open ignition feed on circuit 139 can cause multiple DTCs to set.
    • First diagnose and clear any engine DTCs or TP Sensor codes that are present. Then inspect for any transmission DTCs that may have reset.
    • Refer to Shift Solenoid Valve State and Gear Ratio Shift Solenoid Valve State and Gear Ratio table.

Test Description

The numbers below refer to the step numbers on the diagnostic table.

  1. This step tests the function of the 1-2 SS Valve and the internal wiring harness.

  2. This step tests the power to the 1-2 SS Valve from the ignition through the fuse.

  3. This step tests the ability of the TCM and the wiring to control the ground circuit.

  4. This step measures the resistance of the Automatic Transmission Wiring Harness Assembly and the 1-2 SS Valve.

DTC 82

Step

Action

Value(s)

Yes

No

1

Was the Powertrain On-Board Diagnostic (OBD) System Check performed?

--

Go to Step 2

Go to On-Board Diagnostic System Check

2

  1. Install the Scan Tool .
  2. With the engine OFF, turn the ignition switch to the RUN position.
  3. Important:: Before clearing the DTC's, record the Current and History DTC's information for reference. The Clear Info function erases the stored Current and History DTC from the TCM.

  4. Record Current and History DTC's, then clear the DTC.

Were DTC's 81, 82 or 83 set?

--

Go to Step 3

Go to Step 4

3

  1. Inspect the trans. fuse for an open.
  2. If you find an open fuse, inspect the following components for a short to ground.
  3. 2.1. Circuit 139
    2.2. The solenoid
    2.3. The Automatic Transmission Wiring Harness Assembly
  4. Repair the circuit, the solenoid, and the harness if necessary. Refer to General Electrical Diagnosis .

Did you find and correct the condition?

--

Go to Step 16

Go to Step 4

4

Command the 1-2 SS Valve ON and OFF three times while listening to the bottom of the transmission pan (use a stethoscope if needed).

Does the solenoid click when commanded?

--

Go to Diagnostic Aids

Go to Step 5

5

  1. Turn the ignition OFF.
  2. Disconnect the transmission 20-way connector. (Additional DTC's will set).
  3. Install the J 39775 Jumper Harness on the engine harness connector.
  4. With the engine OFF, turn the ignition switch to the RUN position.
  5. Connect a 12 volt test lamp from the J 39775 Jumper Harness cavity E to ground.

Is the test lamp on?

--

Go to Step 7

Go to Step 6

6

Repair the open or high resistance in ignition feed circuit 139 to the 2-3 SS Valve. Refer to General Electrical Diagnosis .

Did you find and correct the condition?

--

Go to Step 16

--

7

  1. Install a 12 volt test lamp between cavities E and A of the J 39775 Jumper Harness.
  2. Using the transmission output control function, command the 1-2 SS Valve On and Off three times.

Does the test lamp illuminate when you command the shift solenoid ON, and turn OFF when you command the shift solenoid OFF?

--

Go to Step 10

Go to Step 8

8

Inspect circuit 1222 for an open or short to ground. Refer to General Electrical Diagnosis .

Did you find the condition?

--

Go to Step 16

Go to Step 9

9

Replace the TCM. Refer to DTC 51 PROM Error TCM Replacement.

Is the replacement complete?

--

Go to Step 16

--

10

  1. Turn the ignition OFF.
  2. Install J 39775 Jumper Harness on the transmission 20-way connector (Automatic Transmission Connector End View).
  3. With the J 39200 DMM and the J 35616 Connector Test Adapter Kit, measure the resistance between terminals A and E.

Is the resistance within the specified values?

19-31ohms

Go to Step 12

Go to Step 11

11

  1. Disconnect the Automatic Transmission Wiring Harness Assembly from the 1-2 SS Valve
  2. Measure the resistance of the 1-2 SS Valve.

Is the resistance within the specified values?

19-31ohms

Go to Step 14

Go to Step 15

12

  1. Measure the resistance between terminal A and a good ground. Use the J 39200 DMM.
  2. Measure the resistance between terminal E and a good ground.

Are both readings greater than the specified value?

250 k

Go to Diagnostic Aids

Go to Step 13

13

  1. Disconnect the Automatic Transmission Wiring Harness Assembly from the 1-2 SS Valve
  2. Measure the resistance from each of the component's terminals to ground.

Are both readings greater than the specified value?

250 k

Go to Step 14

Go to Step 15

14

Replace the Automatic Transmission Wiring Harness Assembly. Refer to Interior Wiring Harness Replacement, in On-Vehicle Service.

Is the replacement complete?

--

Go to Step 16

--

15

Replace the 1-2 SS Valve. Refer to 1-2 Shift Solenoid Valve Replacement, in On-Vehicle Service.

Is the replacement complete?

--

Go to Step 16

--

16

In order to verify your repair, perform the following procedure:

  1. Select DTC.
  2. Select Clear Info.
  3. Operate the vehicle in D 4 to ensure all commanded shift occur.

Did all shifts occur as commanded?

--

System OK

Begin the Diagnosis again.

Go to Step 1