GM Service Manual Online
For 1990-2009 cars only

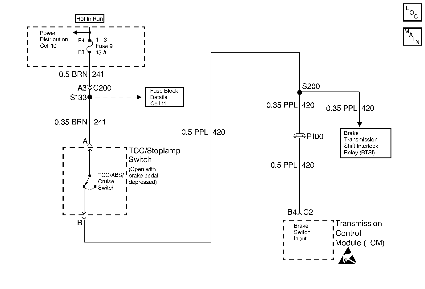
Object Number: 230152  Size: MF
Automatic Transmission Components Gasoline
Handling ESD Sensitive Parts Notice

Circuit Description

The TCC Stoplamp switch indicates the brake pedal status. The normally-closed TCC Stoplamp switch supplies a B + signal on circuit 420 to the Transmission Control Module (TCM). The signal voltage circuit opens when the brakes are applied. The TCM uses the open signal voltage circuit in order to de-energize the Torque Converter Clutch Pulse Width Modulation Solenoid Valve (TCC PWM Sol. Valve) when the brakes are applied.

If the TCM detects a closed TCC Stoplamp switch circuit during accelerations, then DTC 38 sets.

Conditions for Setting the DTC

    • The TCM detects a closed TCC Stoplamp brake switch/circuit (12 volts) for 2 seconds during decelerations.
    • The following sequence of events occurs seven consecutive times:
       - The vehicle speed is greater than 32 km/h (20 mph) for 6 seconds.
       - Then the vehicle speed is 8 32 km/h (5 20 mph) for 6 seconds.
       - Then the vehicle speed is less than 8 km/h (5 mph).

Action Taken When the DTC Sets

    • The TCM does not illuminate the Malfunction Indicator Lamp (MIL).
    • The TCM inhibits TCC.
    • The TCM will inhibit 4th gear if in hot mode.
    • DTC 38 is stored in TCM history.

Conditions for Clearing the DTC

    • The TCM clears the DTC from Current to History when the fault condition(s) no longer exist and the ignition switch is cycled OFF and then ON.
    • A scan tool can clear the DTC from Current and History status. The TCM clears the DTC from the TCM history if the vehicle completes 40 ignition cycles without a failure reported.
    • The TCM cancels the DTC default actions when the fault no longer exists and the ignition is cycled OFF and then ON.

Diagnostic Aids

    • Inspect the wiring at the TCM, the TCC Stoplamp Switch connector and all other circuit connecting points for the following conditions:
       - A bent terminal
       - A backed out terminal
       - A damaged terminal
       - Poor terminal tension
       - A chafed wire
       - A broken wire inside the insulation
       - Moisture intrusion
       - Corrosion
    • When diagnosing for an intermittent short or open, massage the wiring harness while watching the test equipment for a change.
    • Ask about the customer's driving habits and any unusual driving conditions he or she might have, such as stop and go traffic or expressway driving.
    • Inspect the TCC Stoplamp switch for proper mounting and adjustment.
    • Inspect for the most current calibration ID and the latest bulletins.
    • Inspect for any transmission DTCs that may have reset.

Test Description

The numbers below refer to the step numbers on the diagnostic table.

  1. This step isolates the TCC stoplamp switch as a source for setting the DTC.

DTC 38

Step

Action

Value(s)

Yes

No

1

Was the Powertrain On-Board Diagnostic (OBD) System Check performed?

--

Go to Step 2

Go to On-Board Diagnostic System Check

2

  1. Install the Scan Tool .
  2. With the engine OFF, turn the ignition switch to the RUN position.
  3. Important:: Before clearing the DTC's, record the Current and History DTC's information for reference. The Clear Info function erases the stored Current and History DTC from the TCM.

  4. Record Current and History DTC's, then clear the DTC.
  5. Select TCC Brake Switch on the Scan Tool .
  6. Do not apply the brake pedal.
  7. With the brake pedal not applied, note the TCC Brake Switch status.
  8. Apply the brake pedal.

Did the TCC Brake Switch status change from Closed to Open?

--

Go to Diagnostic Aids

Go to Step 3

3

  1. Turn the ignition switch to the OFF position.
  2. Disconnect the TCC Stoplamp switch connector from the switch.
  3. Turn the key to the RUN position.

Did the TCC Brake Switch status change from Closed to Open?

--

Go to Step 4

Go to Step 5

4

Replace the TCC Stoplamp switch. Refer to Stop Lamp Switch Replacement .

Is the replacement complete?

--

Go to Step 7

--

5

Inspect circuit 420 for a short to B +. Refer to General Electrical Diagnosis .

Did you find a short to B + condition?

--

Go to Step 7

Go to Step 6

6

Replace the TCM. Refer to DTC 51 PROM Error TCM Replacement.

Is the replacement complete?

--

Go to Step 7

--

7

In order to verify your repair, perform the following procedure:

  1. Select DTC.
  2. Select Clear Info.
  3. Operate the vehicle brake pedal so that for a total of 2 consecutive times, the TCM sees the brake switch Closed and them Open, for greater than two seconds.

Does the Scan Tool TCC Brake Switch status change from Closed to Open?

--

System OK

Begin the diagnosis again.

Go to Step 1