GM Service Manual Online
For 1990-2009 cars only

Removal Procedure

    Caution: Unless directed otherwise, the ignition and start switch must be in the OFF or LOCK position, and all electrical loads must be OFF before servicing any electrical component. Disconnect the negative battery cable to prevent an electrical spark should a tool or equipment come in contact with an exposed electrical terminal. Failure to follow these precautions may result in personal injury and/or damage to the vehicle or its components.

  1. Negative Battery Cable.
  2. Raise vehicle and properly support.

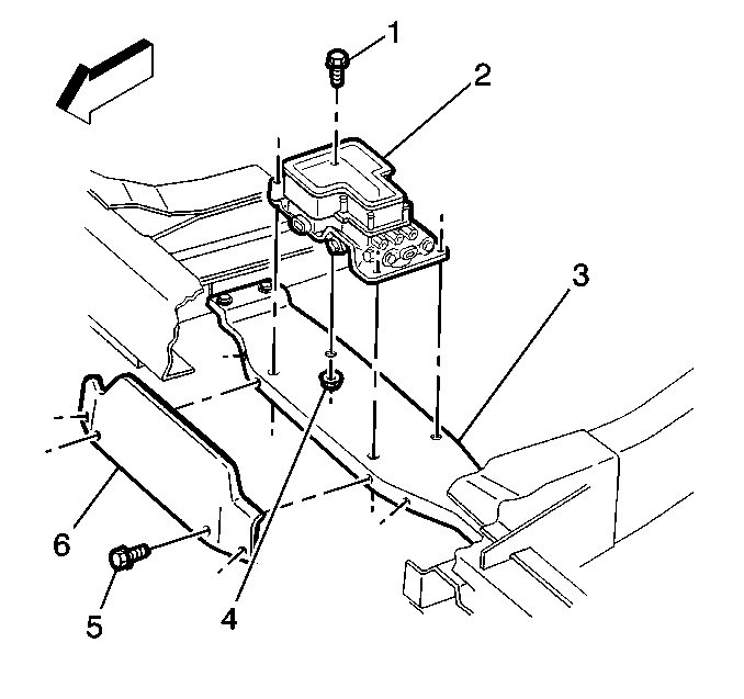
  3. Object Number: 191524  Size: SH
  4. Remove the four EHCU shield bolts (5) and shield (6).
  5. Remove the three EBCM electrical connectors.
  6. Remove the combination valve electrical connector.
  7. Remove the five brake lines from the BPMV.
  8. Loosen the four EHCU crossmember nuts .
  9. Remove only the two passenger side crossmember nuts. Allow the crossmember to drop down allowing access to the EHCU.
  10. Remove the four EHCU bracket bolts (1).
  11. Remove the EHCU from the vehicle.
  12. Remove the BPMV pump motor electrical connector from the EBCM.

  13. Object Number: 184187  Size: SH
  14. Remove the four T-25 Torx® bolts (1) that fasten the EBCM to the BPMV.
  15. Remove the EBCM (2) from the BPMV (4) Removal may require a light amount of force.
  16. Important: Do not use a tool to pry the EBCM from the BPMV. Excessive force will damage the EBCM.

  17. Remove the three allen bolts(8) which fasten the combination valve to the BPMV.
  18. Remove the combination valve from the BPMV.
  19. Remove the two transfer tubes (10).
  20. Important: Do not reuse the transfer tubes. Always install new transfer tubes when replacing the BPMV.

  21. Remove the three tube adapters (6).
  22. Remove the three BPMV mounting bracket bolts.
  23. Remove the BPMV from the EHCU mounting bracket.
  24. Clean the BPMV with a clean, dry cloth.

Installation Procedure

Important: If the EBCM mounting bolts are corroded or damaged, do not reuse the old mounting bolts. Install new EBCM mounting bolts with the new EBCM.

  1. Install the BPMV onto the EHCU mounting bracket.

  2. Object Number: 184187  Size: SH

    Notice: Use the correct fastener in the correct location. Replacement fasteners must be the correct part number for that application. Fasteners requiring replacement or fasteners requiring the use of thread locking compound or sealant are identified in the service procedure. Do not use paints, lubricants, or corrosion inhibitors on fasteners or fastener joint surfaces unless specified. These coatings affect fastener torque and joint clamping force and may damage the fastener. Use the correct tightening sequence and specifications when installing fasteners in order to avoid damage to parts and systems.

  3. Install the three tube adapters (6)
  4. Tighten
    Tighten the tube adapters to 31 N·m (23 lb ft).

  5. Install two new transfer tubes (10) into the combination valve.
  6. Important: Do not reuse the transfer tubes. Always install new transfer tubes when removing the combination valve.

  7. Install the combination valve (9) onto the BPMV.
  8. Install the three combination valve fastening bolts
  9. Tighten
    Tighten the three allen bolts first to 8 N·m (6 lb ft) and then to 12 N·m (12 lb ft).

  10. Install EBCM (2) to BPMV (4).
  11. Install the four new EBCM bolts (1).
  12. Tighten
    Tighten the four bolts to 5 N·m (39 lb in) in an X-pattern.

  13. Install the BPMV pump motor electrical connector to the EBCM.
  14. Install the EHCU to vehicle

  15. Object Number: 191524  Size: SH
  16. Install the four EHCU bracket bolts (1)
  17. Tighten
    Tighten the four bolts to 36 N·m (27 lb in).

  18. Install the two passenger side crossmember nuts.
  19. Tighten
    Tighten the four EHCU crossmember bolts to 38 N·m (30 lb in).

  20. Connect the three electrical connectors to the EBCM.
  21. Connect the five brake line to the combination valve.
  22. Tighten
    Tighten the five brake lines to 30 N·m (22 lb ft).

  23. Install the EHCU Shield.
  24. Tighten
    Tighten the four EHCU shield bolts to 11 N·m (8 lb ft).

  25. Lower the vehicle
  26. Connect the negative battery cable.
  27. Bleed the brake system. Refer to Antilock Brake System Automated Bleed Procedure
  28. Return to Diagnostic System Check. Refer to Diagnostic System Check - ABS .