GM Service Manual Online
For 1990-2009 cars only

DTC C0229 or C029 Drop Out of Front Wheel Speed Signals P32


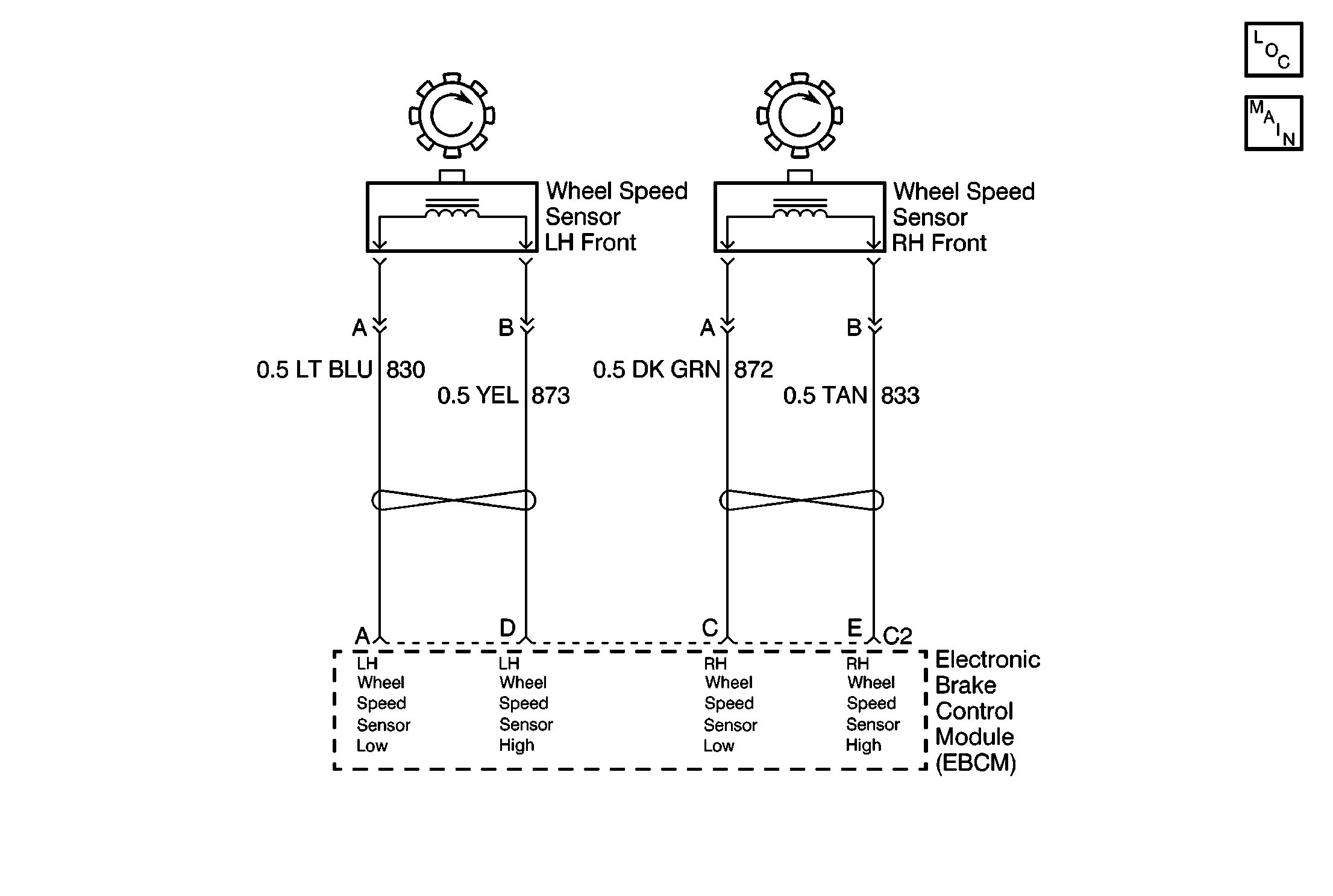
Object Number: 191488  Size: MF
ABS Components P32
Antilock Brake System Schematics P32

Circuit Description

The wheel speed sensor coil emits an electromagnetic field. A toothed ring on the wheel passes by the wheel speed sensor and disrupts this electromagnetic field. The disruption in the field causes the wheel speed sensor to produce a sinusoidal (AC) voltage signal. The frequency and amplitude of the sinusoidal (AC) voltage signal are proportional to the speed of the wheel. The amplitude of the wheel speed signal is also directly related to the distance between the wheel speed sensor coil and the toothed ring. This distance is referred to as the air gap.

Conditions for Setting the DTC

EBCM losing both front wheel speed signals when the vehicle is at speeds over 19 km/h (12 mph) (brake released), or 32 km/h (20 mph) (brake applied).

Action Taken When the DTC Sets

    • The ABS indicator lamp turns on
    • The ABS disables

DTC C0229 is an Ignition Latched DTC, which indicates that the above conditions remain true until the ignition is turned to OFF (even if the cause of the DTC is intermittent).

Conditions for Clearing the DTC

    • Repair the conditions responsible for setting the DTC
    • Use the Scan Tool Clear DTCs function

Diagnostic Aids

Any of the following conditions may cause an intermittent malfunction:

    • A poor connection
    • Wire insulation that is rubbed through
    • A wire breaks inside the insulation

Thoroughly check any circuitry that is suspected of causing the intermittent complaint for the following conditions:

    • Backed out terminals
    • Improper mating
    • Broken locks
    • Improperly formed or damaged terminals
    • Poor terminal to wiring connections
    • Physical damage to the wiring harness

When inspecting a wheel speed sensor, inspect the sensor terminals and the harness connector for corrosion. If evidence of corrosion exists, then replace the wheel speed sensor. Refer to Wheel Speed Sensor Replacement .

Test Description

The numbers below refer to the numbers on the diagnostic chart.

  1. This step checks the EBCM 4-way connector for looseness, corrosion, etc.

Step

Action

Value(s)

Yes

No

1

Was the Diagnostic System Check performed?

--

Go to Step 2

Go to Diagnostic System Check - ABS

2

  1. Turn the ignition to OFF.
  2. Disconnect the 4-way EBCM harness connector from the EBCM.
  3. Inspect the 4-way EBCM harness connector and harness for signs of damage or corrosion.

Is the harness OK and are all the connections clean and tight?

--

Go to Step 3

Go to Step 4

3

  1. Reconnect all connectors.
  2. Clear DTC.
  3. Road test vehicle at speeds above 24 km/h (15 mph).
  4. Use the scan tool to read the DTCs.

Did the DTC C0229 set?

--

Go to Step 5

Go to Step 6

4

Make necessary repairs to the 4-way EBCM harness connector. Refer to Connector Repairs .

Is the repair complete?

--

Go to Diagnostic System Check - ABS

--

5

Replace the EBCM. Refer to Electronic Brake Control Module Replacement .

Is the repair complete?

--

Go to Diagnostic System Check - ABS

--

6

Malfunction is intermittent. Inspect all connectors and harnesses for damage which may result in high resistance when all components are connected. Refer to diagnostic aids for more information.

Is the repair complete?

--

Go to Diagnostic System Check - ABS

--

DTC C0229 or C029 Drop Out of Front Wheel Speed Signals P42


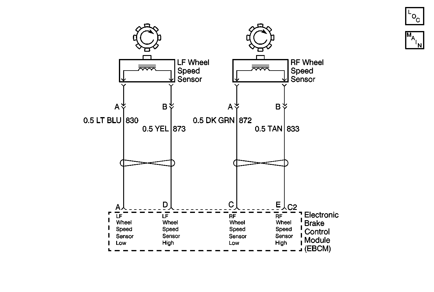
Object Number: 396461  Size: MF
ABS Components P42
Antilock Brake System Schematics P42

Circuit Description

The wheel speed sensor coil emits an electromagnetic field. A toothed ring on the wheel passes by the wheel speed sensor and disrupts this electromagnetic field. The disruption in the field causes the wheel speed sensor to produce a sinusoidal (AC) voltage signal. The frequency and amplitude of the sinusoidal (AC) voltage signal are proportional to the speed of the wheel. The amplitude of the wheel speed signal is also directly related to the distance between the wheel speed sensor coil and the toothed ring. This distance is referred to as the air gap.

Conditions for Setting the DTC

EBCM losing both front wheel speed signals when the vehicle is at speeds over 19 km/h (12 mph) (brake released), or 32 km/h (20 mph) (brake applied).

Action Taken When the DTC Sets

    • The ABS indicator lamp turns on
    • The ABS disables

DTC C0229 is an Ignition Latched DTC, which indicates that the above conditions remain true until the ignition is turned to OFF (even if the cause of the DTC is intermittent).

Conditions for Clearing the DTC

    • Repair the conditions responsible for setting the DTC
    • Use the Scan Tool Clear DTCs function

Diagnostic Aids

Any of the following conditions may cause an intermittent malfunction:

    • A poor connection
    • Wire insulation that is rubbed through
    • A wire breaks inside the insulation

Thoroughly check any circuitry that is suspected of causing the intermittent complaint for the following conditions:

    • Backed out terminals
    • Improper mating
    • Broken locks
    • Improperly formed or damaged terminals
    • Poor terminal to wiring connections
    • Physical damage to the wiring harness

When inspecting a wheel speed sensor, inspect the sensor terminals and the harness connector for corrosion. If evidence of corrosion exists, then replace the wheel speed sensor. Refer to Wheel Speed Sensor Replacement .

Test Description

The numbers below refer to the numbers on the diagnostic chart.

  1. This step checks the EBCM 4-way connector for looseness, corrosion, etc.

Step

Action

Value(s)

Yes

No

1

Was the Diagnostic System Check performed?

--

Go to Step 2

Go to Diagnostic System Check - ABS

2

  1. Turn the ignition to OFF.
  2. Disconnect the 4-way EBCM harness connector from the EBCM.
  3. Inspect the 4-way EBCM harness connector and harness for signs of damage or corrosion.

Is the harness OK and are all the connections clean and tight?

--

Go to Step 3

Go to Step 4

3

  1. Reconnect all connectors.
  2. Clear DTC.
  3. Road test vehicle at speeds above 24 km/h (15 mph).
  4. Use the scan tool to read the DTCs.

Did the DTC C0229 set?

--

Go to Step 5

Go to Step 6

4

Make necessary repairs to the 4-way EBCM harness connector. Refer to Connector Repairs .

Is the repair complete?

--

Go to Diagnostic System Check - ABS

--

5

Replace the EBCM. Refer to Electronic Brake Control Module Replacement .

Is the repair complete?

--

Go to Diagnostic System Check - ABS

--

6

Malfunction is intermittent. Inspect all connectors and harnesses for damage which may result in high resistance when all components are connected. Refer to diagnostic aids for more information.

Is the repair complete?

--

Go to Diagnostic System Check - ABS

--