GM Service Manual Online
For 1990-2009 cars only

DTC C0288 or C088 Brake Warning Lamp Circuit Shorted to B+ P32


Object Number: 191520  Size: MF
ABS Components P32
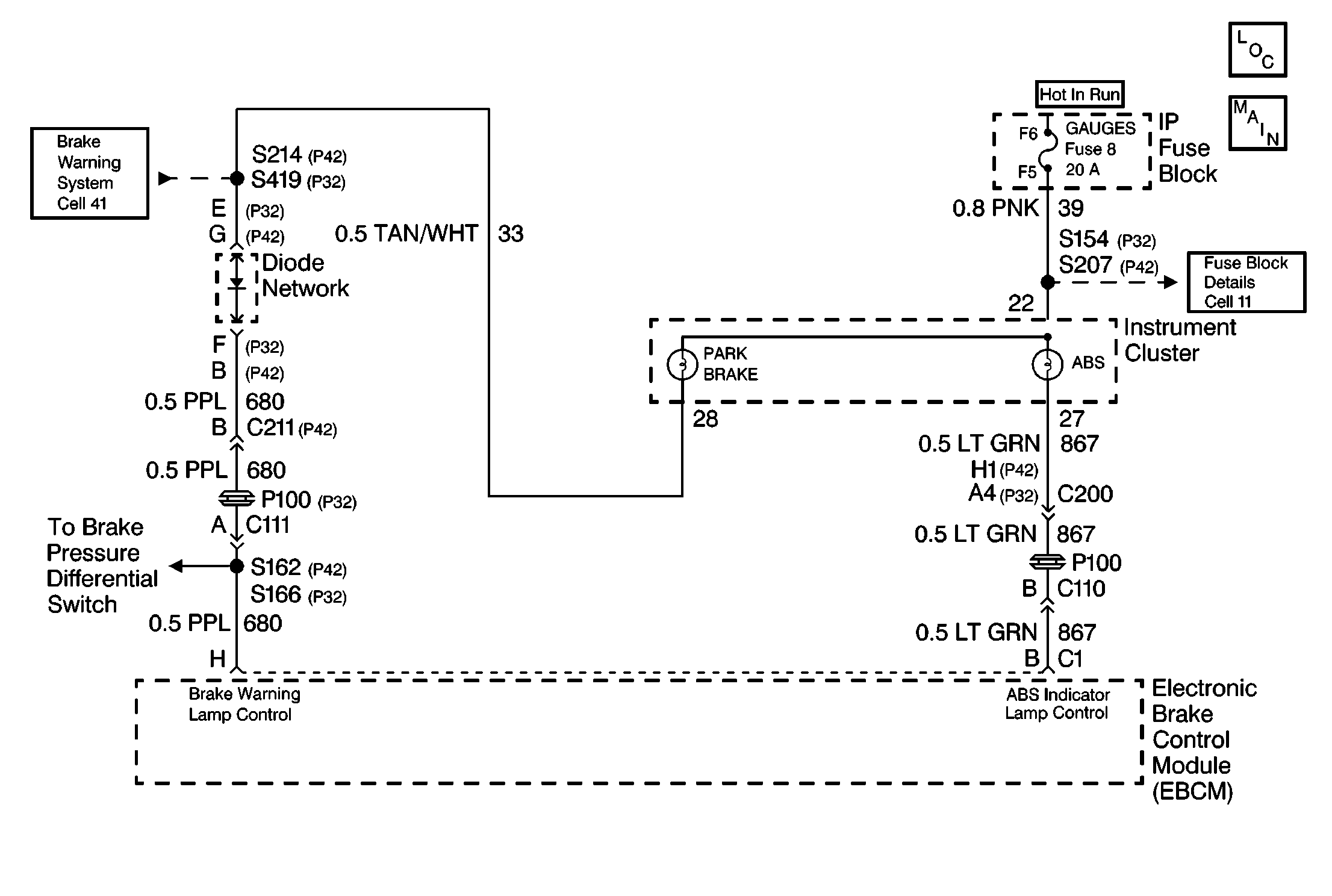
Antilock Brake System Schematics P32

Circuit Description

The red BRAKE warning lamp is supplied ignition voltage through the GAUGES fuse. The BRAKE warning lamp can be illuminated by the EBCM, Brake Pressure Differential Switch or by the Park Brake Switch.

Conditions for Setting the DTC

    • High voltage is present on the BRAKE warning lamp circuit when the circuit is expected to be low (lamp commanded on by the EBCM)
    • Anything that keeps the Brake warning lamp circuit high when the lamp is circuit supposed to be illuminated

Action Taken When the DTC Sets

No action taken, the ABS is not disabled.

Conditions for Clearing the MIL/DTC

    • Repair the conditions responsible for setting the DTC
    • Use the Scan Tool Clear DTCs function

Diagnostic Aids

DTC C0288 typically sets because of a shorted red BRAKE warning lamp. Yet DTC C0288 can also set because of a short to voltage in the wiring between the red BRAKE warning lamp and the EBCM.

Test Description

  1. Determines if the BRAKE warning lamp circuit is operating properly when controlled by the EBCM.

  2. Determines if the BRAKE warning lamp circuit is operating properly without the EBCM.

Step

Action

Value(s)

Yes

No

1

Was the ABS Diagnostic System Check performed?

--

Go to Step 2

Go to Diagnostic System Check - ABS

2

  1. Turn the ignition to RUN.
  2. Observe the red BRAKE warning lamp.

Did the BRAKE warning lamp turn on and then off after three seconds?

--

Go to Step 5

Go to Step 3

3

  1. Turn the ignition to OFF.
  2. Disconnect the 10-way EBCM harness connector from the EBCM.
  3. Using a 3 amp fused jumper wire, such as J 36169, connect terminal H of the 10-way EBCM harness connector to ground.
  4. Turn the ignition to RUN.

Does the BRAKE warning lamp turn on?

--

Go to Step 6

Go to Step 4

4

Inspect the jumper wire fuse.

Is the fuse open?

--

Go to Step 7

Go to Step 5

5

Malfunction is intermittent,

Perform the following:

    • Inspect all connectors and harnesses for damage which may result in a short to voltage when all components are connected.
    • Refer to Diagnostic Aids for more information.
    • Perform all necessary repairs.

Is the repair complete?

--

Go to Diagnostic System Check - ABS

--

6

Replace the EBCM. Refer to Electronic Brake Control Module Replacement .

Is repair complete?

--

Go to Diagnostic System Check - ABS

--

7

Repair a short to voltage in CKT 33 or CKT 680. Refer to Wiring Repairs .

Is repair complete?

--

Go to Diagnostic System Check - ABS

--

DTC C0288 or C088 Brake Warning Lamp Circuit Shorted to B+ P42


Object Number: 396528  Size: MF
ABS Components P42
Antilock Brake System Schematics P42

Circuit Description

The red BRAKE warning lamp is supplied ignition voltage through the GAUGES fuse. The BRAKE warning lamp can be illuminated by the EBCM, Brake Pressure Differential Switch or by the Park Brake Switch.

Conditions for Setting the DTC

    • High voltage is present on the BRAKE warning lamp circuit when the circuit is expected to be low (lamp commanded on by the EBCM)
    • Anything that keeps the Brake warning lamp circuit high when the lamp is circuit supposed to be illuminated

Action Taken When the DTC Sets

No action taken, the ABS is not disabled.

Conditions for Clearing the MIL/DTC

    • Repair the conditions responsible for setting the DTC
    • Use the Scan Tool Clear DTCs function

Diagnostic Aids

DTC C0288 typically sets because of a shorted red BRAKE warning lamp. Yet DTC C0288 can also set because of a short to voltage in the wiring between the red BRAKE warning lamp and the EBCM.

Test Description

  1. Determines if the BRAKE warning lamp circuit is operating properly when controlled by the EBCM.

  2. Determines if the BRAKE warning lamp circuit is operating properly without the EBCM.

Step

Action

Value(s)

Yes

No

1

Was the ABS Diagnostic System Check performed?

--

Go to Step 2

Go to Diagnostic System Check - ABS

2

  1. Turn the ignition to RUN.
  2. Observe the red BRAKE warning lamp.

Did the BRAKE warning lamp turn on and then off after three seconds?

--

Go to Step 5

Go to Step 3

3

  1. Turn the ignition to OFF.
  2. Disconnect the 10-way EBCM harness connector from the EBCM.
  3. Using a J 36169-A , jumper terminal H of the 10-way EBCM harness connector to ground.
  4. Turn the ignition to RUN.

Does the BRAKE warning lamp turn on?

--

Go to Step 6

Go to Step 4

4

Inspect the jumper wire fuse.

Is the fuse open?

--

Go to Step 7

Go to Step 5

5

Malfunction is intermittent,

Perform the following:

    • Inspect all connectors and harnesses for damage which may result in a short to voltage when all components are connected.
    • Refer to Diagnostic Aids for more information.
    • Perform all necessary repairs.

Is the repair complete?

--

Go to Diagnostic System Check - ABS

--

6

Replace the EBCM. Refer to Electronic Brake Control Module Replacement .

Is repair complete?

--

Go to Diagnostic System Check - ABS

--

7

Repair a short to voltage in CKT 33 or CKT 680. Refer to Wiring Repairs .

Is repair complete?

--

Go to Diagnostic System Check - ABS

--