GM Service Manual Online
For 1990-2009 cars only

Removal Procedure

  1. Raise the vehicle on a hoist. Refer to Lifting and Jacking the Vehicle in General Information.

  2. Object Number: 1247  Size: SH

    Important: You must observe and accurately reference mark the positions of all driveline components relative to the propeller shaft and axles prior to disassembly. These components include the propeller shafts, drive axles, pinion flanges, and output shafts. All components must be reassembled in the exact relationship to each other as they were when removed. In addition you must follow published specifications and torque values as well as any measurements made prior to disassembly. Reference mark the rear propeller shaft to the pinion flange and to the front propeller shaft, then reference mark the front shaft to the yoke at the transmission. Support the rear propeller shaft.

  3. Remove the cap retainer from the rear propeller shaft at the intermediate propeller shaft connection.
  4. Remove the bolts from the pinion flange.
  5. Remove the retainers.
  6. Remove the yoke and the universal joint assembly from the pinion flange.
  7. Important: Do not pound on the original propeller shaft yoke ears. The plastic injection joints may fracture. Never pry or place any tool between a yoke and a universal joint. Tape the bearing cups onto the yoke in order to prevent the loss of bearing rollers.

  8. Remove the rear propeller shaft.
  9. • Slide the rear propeller shaft forward.
    • Lower the rear propeller shaft and withdraw under the rear axle.
    • Do not allow the universal joint assembly to incline greatly. The joint may fracture.
    • Reference mark the intermediate propeller shaft to front propeller shaft yoke.
    • Support the intermediate propeller shaft.

    Object Number: 305537  Size: SH
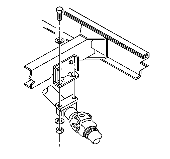
  10. Remove the nuts from the intermediate shaft center bearing support attaching bolts.
  11. Remove the bolts and washers.

  12. Object Number: 305529  Size: SH
  13. Remove the intermediate propeller shaft center bearing support from the hanger.
  14. Remove the bolts from the front propeller shaft yoke at the front center bearing support.
  15. Remove the yoke and the universal joint assembly from the front propeller shaft rear yoke.
  16. Important: Do not pound on the original propeller shaft yoke ears. The plastic injection joints may fracture. Never pry or place any tool between a yoke and a universal joint. Tape the bearing cups onto the yoke and universal joints in order to prevent loss of the needle bearings.

  17. Remove the intermediate propeller shaft.
  18. • Reference mark the front propeller shaft to the yoke or parking brake drum.
    • Support the front propeller shaft.

    Object Number: 305527  Size: SH
  19. Remove the nuts from the front propeller shaft center bearing support attaching bolts.
  20. Remove the bolts and washers.
  21. Remove the front propeller shaft center bearing support from the hanger.

  22. Object Number: 175615  Size: SH
  23. Remove the bolts and retainers from the yoke.
  24. Remove the universal joint assembly from the transmission yoke.
  25. Important: Do not pound on the original propeller shaft yoke ears. The plastic injection joints may fracture. Never pry or place any tool between a yoke and a universal joint. Tape the bearing cups onto the yoke in order to prevent the loss of bearing rollers.

  26. Remove the front propeller shaft.
  27. Clean all parts with an approved solvent.
  28. Inspect for proper installation and uniform seating of all universal joint bearing cups.
  29. Inspect the intermediate propeller shaft to rear propeller shaft slip yoke splines for twisting or wear.
  30. Inspect the inside of the rear propeller shaft slip yoke for spline twisting or wear.
  31. Inspect the front and rear center bearing support rubber insulators for deterioration or separation from the support framework.
  32. Inspect the propeller shaft assemblies for damage.

Installation Procedure


    Object Number: 175615  Size: SH
  1. Install the front propeller shaft to the yoke.
  2. • Make sure the reference marks are aligned.
    • Support the front propeller shaft.

    Notice: Use the correct fastener in the correct location. Replacement fasteners must be the correct part number for that application. Fasteners requiring replacement or fasteners requiring the use of thread locking compound or sealant are identified in the service procedure. Do not use paints, lubricants, or corrosion inhibitors on fasteners or fastener joint surfaces unless specified. These coatings affect fastener torque and joint clamping force and may damage the fastener. Use the correct tightening sequence and specifications when installing fasteners in order to avoid damage to parts and systems.

  3. Install the bolts and retainers to the yoke.
  4. Tighten

        • Tighten the bolts to 20 N·m (15 lb ft) (without transmission mounted drum parking brake).
        • Tighten the bolts to 28 N·m (21 lb ft) (with transmission mounted drum parking brake).

    Object Number: 305527  Size: SH
  5. Install the front center bearing support to hanger.
  6. Align the center bearing support 90 degrees to the propeller shaft center line.
  7. Install the bolts.
  8. Install the washers and nuts.
  9. Tighten
    Tighten the nuts to 53 N·m (39 lb ft). Maintain alignment.


    Object Number: 305529  Size: SH
  10. Install the intermediate propeller shaft to the front propeller shaft yoke.
  11. • Make sure reference marks are aligned.
    • Support the intermediate propeller shaft.
  12. Install the bolts and retainers.
  13. Tighten
    Tighten the bolts to 44 N·m (33 lb ft).


    Object Number: 305537  Size: SH
  14. Install the rear center bearing support to hanger.
  15. Align the center bearing support 90 degrees to both the front and intermediate propeller shaft center lines.
  16. Install the bolts and washers.
  17. Tighten
    Tighten the nuts to 53 N·m (39 lb ft). Maintain alignment.

  18. Install the rear propeller shaft slip yoke to the intermediate propeller shaft splines.
  19. • Mate the missing tooth (some models) in the rear propeller shaft slip yoke with the bridged tooth on the intermediate propeller shaft.
    • Support the rear propeller shaft.

    Object Number: 1247  Size: SH
  20. Install the rear propeller shaft to rear axle pinion flange. Make sure the reference marks are aligned.
  21. Install the bolts and retainers.
  22. Tighten

        • Tighten the bolts to 20 N·m (15 lb ft) (without transmission mounted drum parking brake).
        • Tighten the bolts to 44 N·m (33 lb ft) (with transmission mounted drum parking brake).
  23. Install the cap retainer.
  24. Remove the safety stands and lower the vehicle.
  25. Lubricate the rear propeller shaft slip yoke and all universal joints.