GM Service Manual Online
For 1990-2009 cars only

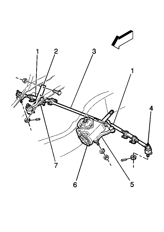
Pitman Arm Replacement Commercial

Removal Procedure

Tools Required

    • J 24319-B Universal Steering Linkage Puller
    • J 29107-A Universal Pitman Arm Puller
    • J 6632-01 Pitman Arm Puller

    Object Number: 310069  Size: MH
  1. Raise and support the vehicle. Refer to Lifting and Jacking the Vehicle in General Information.
  2. Remove the relay rod nut and the cotter pin from the pitman arm ball stud.
  3. Notice: Do not attempt to disconnect a steering linkage joint by driving a wedge between the joint and the attached part. Seal damage may result which will cause premature failure of the joint.

  4. Use the J 24319-B in order to remove the relay rod (3) from the pitman arm (5).
  5. Mark the pitman arm and the pitman shaft. This is to ensure that you properly align the pitman arm and the shaft during assembly.
  6. Remove the pitman arm nut and washer.

  7. Object Number: 291264  Size: SH

    Notice: Do not hammer on the pitman arm, pitman arm shaft or puller. Damage to the pitman arm or steering gear may result.

  8. Use the J 6632-01 or the J 29107-A in order to remove the pitman arm.
  9. Inspect the ball stud threads for damage.
  10. Inspect the ball stud seals for excessive wear.
  11. Clean the following components:
  12. • The threads on the ball stud
    • The threads in the ball stud nut

Installation Procedure

Tools Required

    • J 29193 Steering Linkage Installer (12 mm)
    • J 29194 Steering Linkage Installer (14 mm)

    Object Number: 310069  Size: MH
  1. Install the pitman arm (5) on the pitman shaft.
  2. Align the marks made during disassembly.

    Notice: Use the correct fastener in the correct location. Replacement fasteners must be the correct part number for that application. Fasteners requiring replacement or fasteners requiring the use of thread locking compound or sealant are identified in the service procedure. Do not use paints, lubricants, or corrosion inhibitors on fasteners or fastener joint surfaces unless specified. These coatings affect fastener torque and joint clamping force and may damage the fastener. Use the correct tightening sequence and specifications when installing fasteners in order to avoid damage to parts and systems.

  3. Install the pitman arm washer and nut.
  4. Tighten
    Tighten the pitman arm nut to 250 N·m (184 lb ft).


    Object Number: 240740  Size: SH
  5. Install the relay rod to the pitman arm ball stud.
  6. Tighten the J 29193 or the J 29194 to 54 N·m (40 lb ft) in order to seat the tapers.
  7. Remove the J 29193 or the J 29194 .
  8. Remove the tool.

  9. Object Number: 310069  Size: MH
  10. Install the relay rod nut and the cotter pin to the pitman arm ball stud.
  11. Tighten
    Tighten the pitman arm (5) to the relay rod (3) to 90 N·m (66 lb ft).

  12. Lower the vehicle.

Pitman Arm Replacement Motorhome

Removal Procedure

Tools Required

    • J 24319-B Universal Steering Linkage Puller
    • J 29107-A Universal Pitman Arm Puller
    • J 6632-01 Pitman Arm Puller

    Object Number: 310071  Size: MH
  1. Raise and support the vehicle. Refer to Lifting and Jacking the Vehicle in General Information.
  2. Remove the relay rod nut or the connecting rod castellated nut and the cotter pin from the pitman arm ball stud.
  3. Notice: Do not attempt to disconnect a steering linkage joint by driving a wedge between the joint and the attached part. Seal damage may result which will cause premature failure of the joint.

  4. Use the J 24319-B in order to remove the relay rod (5) or the connecting rod (3) from the pitman arm (JB8 configuration shown).
  5. Mark the pitman arm (4)and the pitman shaft. This is to ensure that you properly align the pitman arm and the shaft during assembly.
  6. Remove the pitman arm nut and washer.
  7. Notice: Do not hammer on the pitman arm, pitman arm shaft or puller. Damage to the pitman arm or steering gear may result.


    Object Number: 291264  Size: SH
  8. Use the J 6632-01 or the J 29107-A in order to remove the pitman arm.
  9. Inspect the ball stud threads for damage.
  10. Inspect the ball stud seals for excessive wear.
  11. Clean the following components:
  12. • The threads on the ball stud
    • The threads in the ball stud nut

Installation Procedure

Tools Required

    • J 29193 Steering Linkage Installer (12 mm)
    • J 29194 Steering Linkage Installer (14 mm)

    Object Number: 215976  Size: SH
  1. Install the pitman arm (4) on the pitman shaft.
  2. Align the marks made during disassembly.

    Important: If a clamp-type pitman arm is used, spread the pitman arm just enough with a wedge to slip the arm onto the pitman shaft. Do not spread the pitman arm more than required to slip over the pitman shaft with hand pressure.

  3. Use the wedge tool (1) in order to spread the pitman arm (4) at a gap (5) of 7.1 mm (0.28 in) when using a replacement clamp type pitman arm. Maximum expansion with the wedge tool in place should read 0.10 mm (0.004 in) on the dial indicator (3). Distance (2) is 30.2 mm (1.19 in).
  4. Notice: Use the correct fastener in the correct location. Replacement fasteners must be the correct part number for that application. Fasteners requiring replacement or fasteners requiring the use of thread locking compound or sealant are identified in the service procedure. Do not use paints, lubricants, or corrosion inhibitors on fasteners or fastener joint surfaces unless specified. These coatings affect fastener torque and joint clamping force and may damage the fastener. Use the correct tightening sequence and specifications when installing fasteners in order to avoid damage to parts and systems.

  5. Install the pitman arm washer and nut.
  6. Tighten

        • Tighten the pitman arm nut with washer for JB8 applications to 170 N·m (125 lb ft).
        • Tighten the clamp-type pitman arm nut with washer for JF9 applications to 135 N·m  (100 lb ft).

    Object Number: 240740  Size: SH
  7. Install the relay rod or the connecting rod to the pitman arm ball stud.
  8. Tighten the J 29193 or the J 29194 to 54 N·m (40 lb ft) in order to seat the tapers.
  9. Remove the J 29193 or the J 29194 .
  10. Remove the tool.

  11. Object Number: 310071  Size: MH
  12. Install the relay rod nut or the connecting rod castellated nut and the cotter pin to the pitman arm ball stud. Refer to Fastener Tightening Specifications .
  13. Tighten
    Tighten the pitman arm (4) to the relay rod (5) to 159 N·m (117 lb ft) for JB8 and JF9 applications (JB8 shown).

  14. Lower the vehicle.

Pitman Arm Replacement Commercial (I-Beam Front Axle)

Removal Procedure

Tools Required

    • J 24319-B Universal Steering Linkage Puller
    • J 29107-A Universal Pitman Arm Puller
    • J 6632-01 Pitman Arm Puller

    Object Number: 310079  Size: MH
  1. Raise and support the vehicle. Refer to Lifting and Jacking the Vehicle in General Information.
  2. Remove the connecting rod castellated nut and the cotter pin from the pitman arm ball stud.
  3. Notice: Do not attempt to disconnect a steering linkage joint by driving a wedge between the joint and the attached part. Seal damage may result which will cause premature failure of the joint.

  4. Use the J 24319-B in order to remove the connecting rod (7) from the pitman arm (8).
  5. Mark the pitman arm and the pitman shaft. This is to ensure that you properly align the pitman arm and the shaft during assembly.
  6. Remove the pitman arm nut and washer.

  7. Object Number: 291264  Size: SH

    Notice: Do not hammer on the pitman arm, pitman arm shaft or puller. Damage to the pitman arm or steering gear may result.

  8. Use the J 6632-01 or the J 29107-A in order to remove the pitman arm.
  9. Inspect the ball stud threads for damage.
  10. Inspect the ball stud seals for excessive wear.
  11. Clean the following components:
  12. • The threads on the ball stud
    • The threads in the ball stud nut

Installation Procedure

Tools Required

    • J 29193 Steering Linkage Installer (12 mm)
    • J 29194 Steering Linkage Installer (14 mm)

    Object Number: 310079  Size: MH
  1. Install the pitman arm (8) on the pitman shaft.
  2. Align the marks made during disassembly.

    Notice: Use the correct fastener in the correct location. Replacement fasteners must be the correct part number for that application. Fasteners requiring replacement or fasteners requiring the use of thread locking compound or sealant are identified in the service procedure. Do not use paints, lubricants, or corrosion inhibitors on fasteners or fastener joint surfaces unless specified. These coatings affect fastener torque and joint clamping force and may damage the fastener. Use the correct tightening sequence and specifications when installing fasteners in order to avoid damage to parts and systems.

  3. Install the pitman arm washer and nut.
  4. Tighten
    Tighten the pitman arm nut to 255 N·m (188 lb ft).


    Object Number: 240740  Size: SH
  5. Install the connecting rod to the pitman arm ball stud.
  6. Tighten the J 29193 or the J 29194 to 54 N·m (40 lb ft) in order to seat the tapers.
  7. Remove the J 29193 or the J 29194 .
  8. Remove the tool.

  9. Object Number: 310079  Size: MH
  10. Install the connecting rod castellated nut and the cotter pin to the pitman arm ball stud.
  11. Tighten
    Tighten the connecting rod (7) to the pitman arm (8) to 159 N·m (117 lb ft). Refer to Fastener Tightening Specifications .

  12. Lower the vehicle.