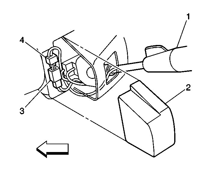
Removal Procedure
- Ensure that the lever (1) is in the OFF position.
- Unsnap the housing cover (2) from the steering column housing.
- Disconnect the cruise control wiring connector (4) from the connector
that is installed in the column (3).
- Pull the lever straight out of the turn signal switch.
Installation Procedure
- Ensure that the lever is in the OFF position.
- Push the lever (1) into the turn signal switch.
- Connect the cruise control wiring connectors (3,4).
- Snap the housing cover cap (2) off of the steering column housing.