GM Service Manual Online
For 1990-2009 cars only
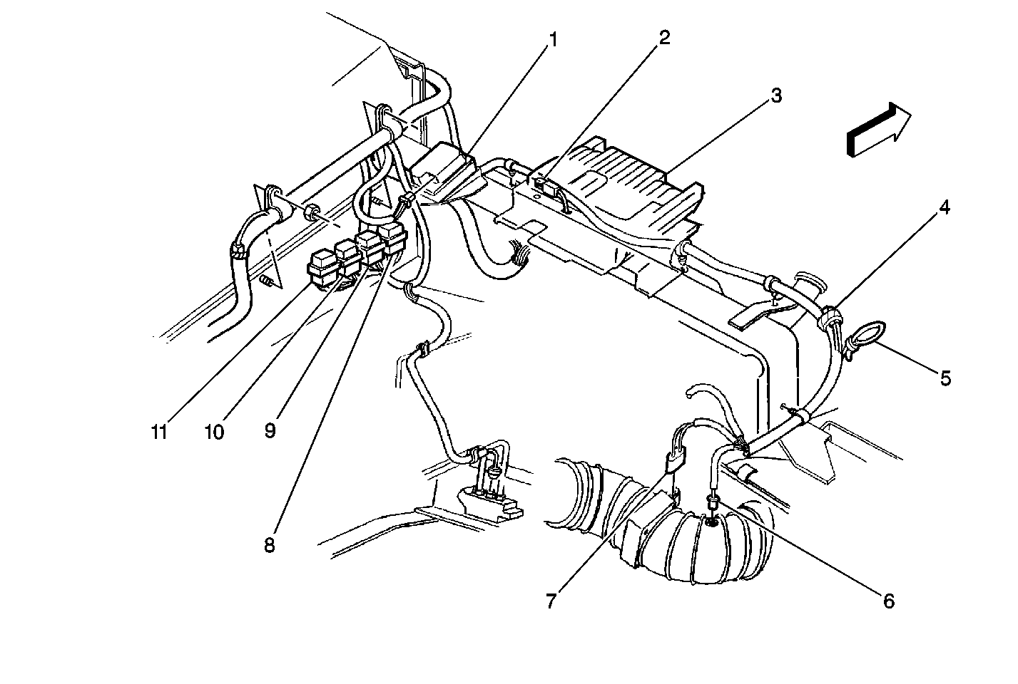
Figure 1:

Radiator Support Wiring (L29)


Object Number: 179906  Size: MF
(1)Cruise Control Module
(2)Auxiliary Engine Coolant Fan Connector
(3)Vehicle Control Module (VCM)
(4)EVAP Low Pressure Control Switch Connector (Body Builder)
(5)Thermal A/C Control (Body Builder)
(6)Intake Air Temperature (IAT) Sensor
(7)Mass Air Flow (MAF) Sensor
(8)Starter Relay
(9)A/C Compressor Relay
(10)Fuel Pump Relay
(11)Park/Neutral Position (PNP) Switch Relay
Figure 2:

Radiator Support Wiring (L65)


Object Number: 186179  Size: MF
(1)C203
(2)Torque Converter Clutch (TCC) and Stoplamps Switch
(3)Vehicle Speed Sensor (VSS) Calibrator
(4)Accelerator Pedal Position Module (APP) (Part of Accelerator Pedal Assembly)
(5)Engine Coolant Level Switch
(6)Auxiliary Engine Coolant Fan A/C Pressure Switch
(7)Starter Relay
(8)Brake Pressure Differential Switch
(9)A/C Compressor Relay
(10)Fuel Pump Relay
(11)Park/Neutral Position (PNP) Switch Relay
(12)Stoplamps Switch
Figure 3:

Dash and Steering Column


Object Number: 364655  Size: MF
(1)C203
(2)Brake Pedal Bracket
(3)Stoplamps Switch
(4)Torque Converter Clutch (TCC) and Stoplamps Switch
(5)Turn Signal Switch Connector
Figure 4:

Steering Column


Object Number: 329566  Size: SF
(1)Hazard Lamps Flasher Switch
(2)Transmission Range (TR) Lamp
(3)Multifunction Lever
(4)Turn Signal Switch Connector
(5)Cruise Control Switch Connector (P32)
(6)Wiper Switch Connector