GM Service Manual Online
For 1990-2009 cars only

Data Link Communications Component Views P42

Figure 1:

IP Side of Engine Wiring -- All Engines (P42)


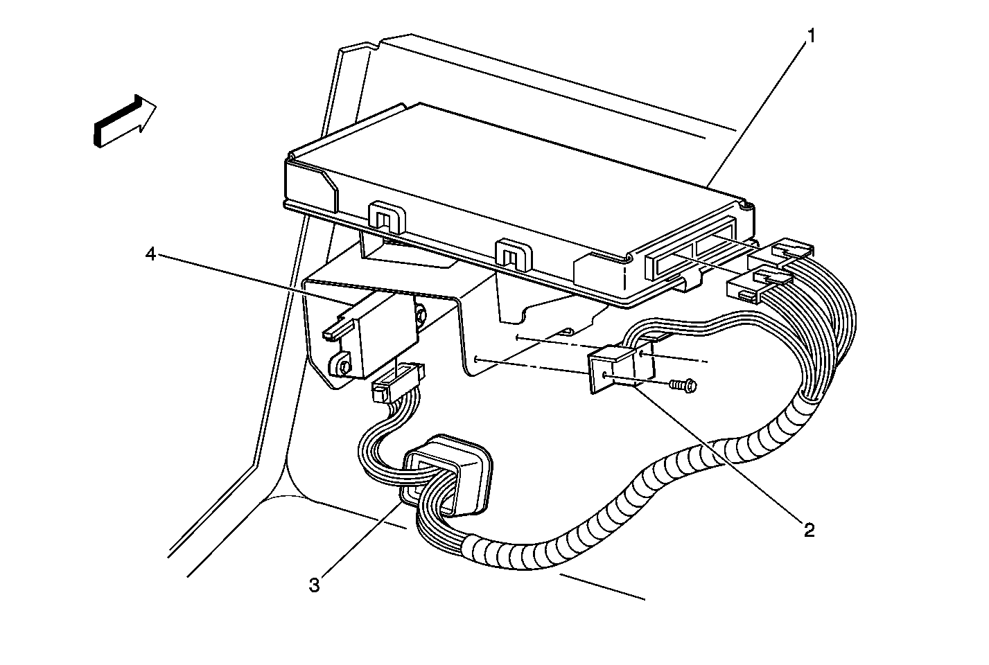
Object Number: 180085  Size: MF
(1)Data Link Connector (DLC)
(2)Headlamps Dimmer Switch
(3)Brake Transmission Shift Interlock (BTSI) Solenoid
(4)Brake Transmission Shift Interlock (BTSI) Relay
(5)Horn Relay
(6)Daytime Running Lamps (DRL) Relay
(7)C210
(8)C211
(9)Torque Converter Clutch (TCC) and Stoplamps Switch
(10)Ignition Switch
(11)C1
(12)C2
(13)C1
(14)C2
(15)Turn Signal Switch Connector
(16)Crank Fuse
Figure 2:

IP Side of Engine Wiring--Diesel--Forward View


Object Number: 440934  Size: MF
(1)Powertrain Control Module (EFI Diesel)/Transmission Control Module (MFI Diesel with Auto Trans)
(2)Data Link Connector (DLC)
(3)P100
(4)Vehicle Speed Sensor (VSS) Calibrator

Data Link Communications Component Views P32

Figure 1:

Engine to Dash and Steering Column


Object Number: 186178  Size: MF
(1)Ignition Switch
(2)Steering Column
(3)Brake Transmission Shift Interlock (BTSI) Solenoid
(4)Data Link Connector (DLC)
(5)Hazard Lamps Flasher
(6)P100
(7)Fuel Pump Prime
(8)C100
(9)C207
(10)C200
(11)Windshield Wiper Pulse Control Module
Figure 2:

Engine Wiring Harness to Dash and Steering Column


Object Number: 186174  Size: MF
(1)Turn Signal Switch Connector
(2)Headlamps Dimmer Switch
(3)Data Link Connector (DLC)
(4)Powertrain Control Module (Diesel)
(5)Ignition Switch
(6)Brake Transmission Shift Interlock (BTSI) Solenoid
(7)Daytime Running Lamps (DRL) Relay
(7)Daytime Running Lamps (DRL) Relay
(8)Horn Relay
(8)Horn Relay
(9)Brake Transmission Shift Interlock (BTSI) Relay
(10)Fan Control Relay