GM Service Manual Online
For 1990-2009 cars only
Figure 1:

Batteries, Battery Cables, Starter


Object Number: 393645  Size: MF
(1)G105
(2)Battery
(3)Secondary Battery (Diesel)
(4)Secondary Negative Battery Cable (Diesel)
(5)Secondary Positive Battery Cable (Diesel)
(6)Negative Battery Cable
(7)Positive Battery Cable
(8)Connector C1
(9)Starter Solenoid Interconnect (OEM)
(10)Starter Solenoid
(11)Starter Motor
Figure 2:

Engine Wiring Diesel- LH Front Of Bulkhead, Front View


Object Number: 187817  Size: LF
(1)C200
(2)Battery Junction Block
(3)P100
(4)A/C Compressor Relay
(5)Fan Control Relay
(6)Starter Relay
(7)Engine Coolant Level Switch
(8)Auxiliary Engine Coolant Fan
Figure 3:

Engine Wiring (Gasoline), LH Front


Object Number: 180070  Size: MF
(1)C200, C202, C203
(2)Battery Junction Block
(3)A/C Compressor Relay
(4)Fuel Pump Relay
(5)P100
(6)Starter Relay
(7)Fuel Pump Prime Connector
(8)C4
(9)C2
(10)Vehicle Control Module (VCM)
(11)C1
(12)C3
Figure 4:

IP Side of Engine Wiring -- All Engines (P42)


Object Number: 180085  Size: MF
(1)Data Link Connector (DLC)
(2)Headlamps Dimmer Switch
(3)Brake Transmission Shift Interlock (BTSI) Solenoid
(4)Brake Transmission Shift Interlock (BTSI) Relay
(5)Horn Relay
(6)Daytime Running Lamps (DRL) Relay
(7)C210
(8)C211
(9)Torque Converter Clutch (TCC) and Stoplamps Switch
(10)Ignition Switch
(11)C1
(12)C2
(13)C1
(14)C2
(15)Turn Signal Switch Connector
(16)Crank Fuse
Figure 5:

Engine Wiring 4.3L, Upper RH Forward


Object Number: 180073  Size: MF
(1)A/C Compressor Clutch
(2)Exhaust Gas Recirculation (EGR) Valve
(3)Engine Coolant Temperature (ECT) Sensor
(4)Ignition Control Module (ICM)
(5)Battery Positive Cable
(6)Generator
(7)C102
(8)Ignition Coil
(9)Evaporative Emissions (EVAP) Canister Purge Valve
(10)Manifold Absolute Pressure (MAP) Sensor
(11)C105
(12)Idle Air Control (IAC) Valve
(13)Throttle Position (TP) Sensor
Figure 6:

Battery Wiring-Gasoline Engines


Object Number: 240953  Size: MF
(1)To G103, G104, G105
(2)Starter Solenoid Nut
(3)Starter Motor
(4)Battery
(5)Negative Battery Terminal
(6)Positive Battery Terminal
Figure 7:

Remote Battery Access (Jump Start) Terminal Block


Object Number: 180086  Size: MF
(1)Remote Battery Access (Jump Start) Terminal
Figure 8:

Radiator Support Wiring (L29)


Object Number: 179906  Size: MF
(1)Cruise Control Module
(2)Auxiliary Engine Coolant Fan Connector
(3)Vehicle Control Module (VCM)
(4)EVAP Low Pressure Control Switch Connector (Body Builder)
(5)Thermal A/C Control (Body Builder)
(6)Intake Air Temperature (IAT) Sensor
(7)Mass Air Flow (MAF) Sensor
(8)Starter Relay
(9)A/C Compressor Relay
(10)Fuel Pump Relay
(11)Park/Neutral Position (PNP) Switch Relay
Figure 9:

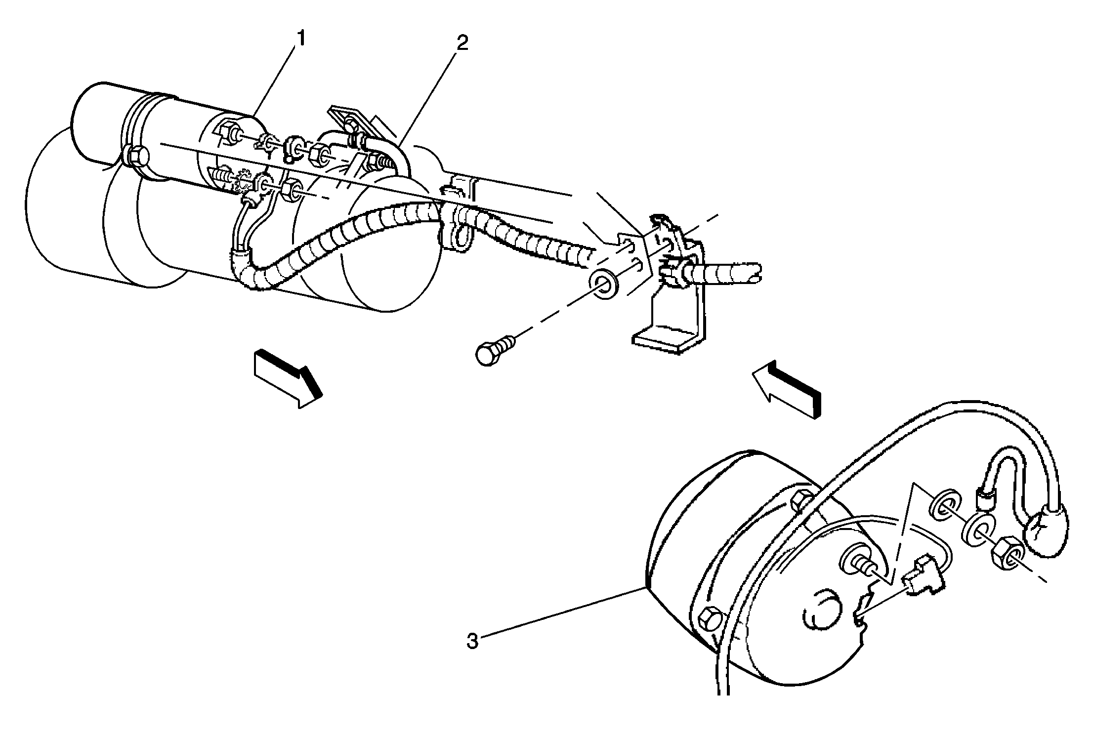
Engine, Right Side (L65)


Object Number: 186163  Size: MF
(1)Starter Motor
(2)Positive Battery Cable
(3)Generator
Figure 10:

Engine to Dash and Steering Column (Forward View)


Object Number: 186161  Size: MF
(1)Hazard Lamps Flasher and Clip
(2)PCM Bracket (Diesel)
(3)Fuel Pump Prime (Diesel)
(4)Battery Junction Block
(5)P100
(6)Fuel Pump Prime (Gas)
(7)C100
(8)C207