GM Service Manual Online
For 1990-2009 cars only
Makes
🢒
Chevrolet
🢒
1999
🢒
Chevy P32 RV/Van Chassis
🢒 Cell 22:A/T Controls 3 - Internal Solenoids and Stoplamp Switch
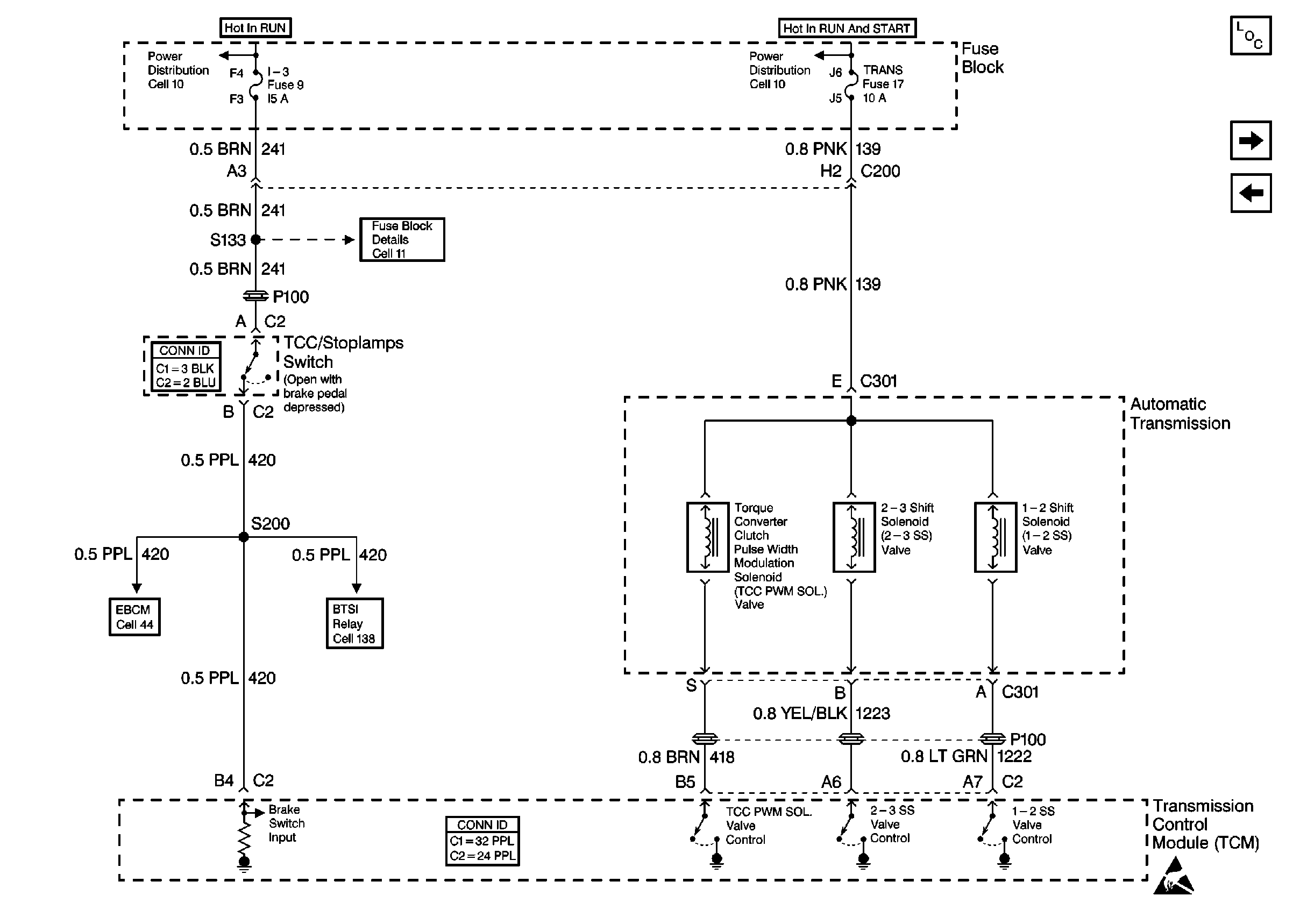
Cell 22:A/T Controls 3 - Internal Solenoids and Stoplamp Switch
Cell 22:A/T Controls 3 -- Internal Solenoids and Stoplamp Switch
Engine Controls Components L57 MFI
Cell 22:A/T Controls 4 - TR, TFT, TISS, and PC Solenoid Valve
Cell 22: A/T Controls 2 - Transmission Data Sensors
Cell 11: I-3, TURN-B/U, and HTR fuses, AUX CKT BRKR 13
Cell 44: Gas, ABS Power and Grounding, DLC Output
Cell 138: P42 BTSI Circuit
Handling ESD Sensitive Parts Notice