GM Service Manual Online
For 1990-2009 cars only

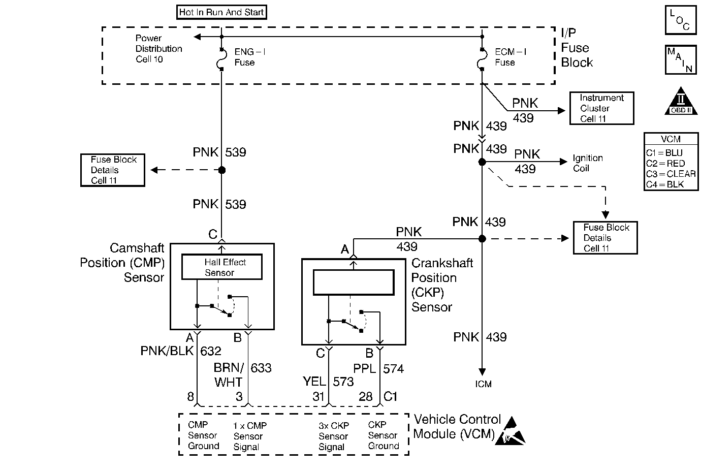
Object Number: 239024  Size: MF
Handling ESD Sensitive Parts Notice
Engine Controls Components
Engine Controls (Cell 20: Engine Data Sensors 1)
OBD II Symbol Description Notice

Circuit Description

The camshaft position (CMP) sensor is a sensor designed to detect changes in a magnetic field. The control module supplies the CMP sensor with signal and ground circuits. Ignition voltage is supplied to the CMP sensor by an independent circuit. The CMP sensor produces a magnetic field whenever the ignition is ON. The CMP sensor is mounted near a reluctor wheel that is attached to the distributor shaft. When the distributor shaft rotates, or when the engine is cranking or running, the reluctor wheel changes the magnetic field. The CMP sensor converts each change in the magnetic field into a PULSE. The number of teeth on the reluctor wheel determines how many pulses the CMP sensor detects per camshaft rotation. The control module uses the CMP sensor signal in order to calculate the correct timing for sequential fuel injection.

If the VCM detects the CMP signal is not synchronized with the CKP sensor signal, this DTC will be set.

Conditions for Running the DTC

The engine is running.

Conditions for Setting the DTC

The CMP sensor reference pulse is not detected at the correct time interval once every two crankshaft revolutions.

Action Taken When the DTC Sets

    • The control module illuminates the malfunction indicator lamp (MIL) if a failure is detected during 2 consecutive key cycles.
    • The control module sets the DTC and records the operating conditions at the time the diagnostic failed. The failure information is stored in the scan tool Freeze Frame/Failure Records.

Conditions for Clearing the MIL or DTC

    • The control module turns OFF the MIL after 3 consecutive drive trips when the test has run and passed.
    • A history DTC will clear if no fault conditions have been detected for 40 warm-up cycles. A warm-up cycle occurs when the coolant temperature has risen 22°C (40°F) from the startup coolant temperature and the engine coolant reaches a temperature that is more than 70°C (158°F) during the same ignition cycle.
    • Use a scan tool in order to clear the DTCs.

Diagnostic Aids

Refer to Symptoms .

An intermittent may be caused by any of the following conditions:

    • A poor connection
    • Rubbed through wire insulation
    • A broken wire inside the insulation

Thoroughly check any circuitry that is suspected of causing the intermittent complaint. Refer to Intermittents and Poor Connections Diagnosis in Wiring Systems.

If a repair is necessary, refer to Wiring Repairs or Connector Repairs in Wiring Systems.

Test Description

The step number below refers to the step number in the diagnostic table.

  1. Complete diagnosing all other DTCs before performing this diagnostic.

  2. This step checks for an electromagnetic interference caused by improper harness routing.

Step

Action

Value(s)

Yes

No

1

Important: Before clearing the DTCs, use the scan tool in Capture Info to save the Freeze Frame and Failure Records for reference. The control module's data is deleted once the Clear Info function is used.

Did you perform the Powertrain On-Board Diagnostic (OBD) System Check?

--

Go to Step 2

Go to Powertrain On Board Diagnostic (OBD) System Check

2

Are any other CMP sensor DTCs set?

--

Go to the applicable DTC table

Go to Step 3

3

  1. Check for the CMP sensor harness routing too close to the distributor (HVS) or secondary ignition wire.
  2. Check for an after-market add-on electrical equipment routed too close to the CMP sensor or VCM harness creating an electromagnetic interference.
  3. Check for CMP/VCM harness routing too close to any solenoids or relays creating an electromagnetic interference.

Did you find a problem?

--

Go to Step 6

Go to Step 4

4

  1. Disconnect the CMP sensor connector and VCM C1 connector.
  2. Inspect the terminals and connectors.

Did you find a problem?

--

Go to Step 6

Go to step 5

5

  1. Reconnect CMP and VCM C1 connectors.
  2. Start the engine and check for the following conditions:
  3. • An open circuit
    • A short to voltage
    • A short to ground in the CMP sensor harness and VCM harness.
  4. Move the engine harness around at various locations while monitoring engine RPM.

Did the engine RPM surge when you moved the engine harness connector?

--

Go to Step 6

Go to Diagnostic Aids

6

Repair open or shorted circuits or EMI as necessary.

Refer to Wiring Repairs or Connector Repairs in Wiring Systems.

Is the action complete?

--

Go to Step 7

--

7

  1. Using the scan tool, clear the DTCs.
  2. Start the engine.
  3. Allow the engine to idle until the engine reaches normal operating temperature.
  4. Select the DTC and the Specific DTC functions.
  5. Enter the DTC number which was set.
  6. Operate the vehicle with the Conditions for Setting this DTC, until the scan tool indicates the diagnostic Ran.

Does the scan tool indicate that this diagnostic Passed?

--

Go to Step 8

Go to Step 2

8

Does the scan tool display any additional undiagnosed DTCs?

--

Go to the applicable DTC table

System OK