GM Service Manual Online
For 1990-2009 cars only

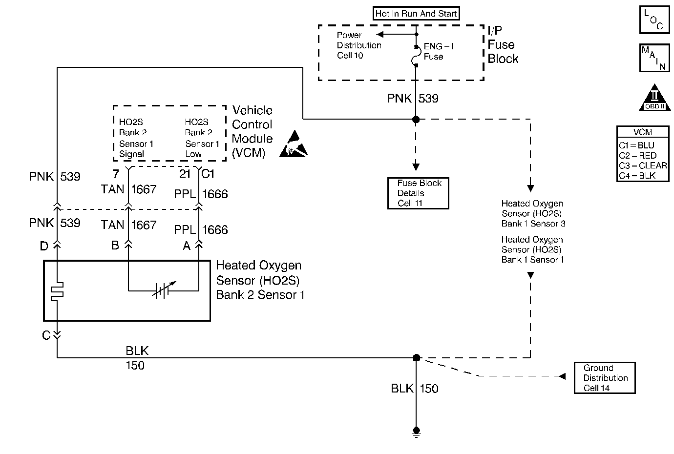
Object Number: 230445  Size: MF
Handling ESD Sensitive Parts Notice
Engine Controls Components
Engine Controls (Cell 20: Engine Data Sensors 4)
OBD II Symbol Description Notice

Circuit Description

In order to provide the best possible combination of driveability, fuel economy, and emission control, the vehicle uses a Closed Loop air and fuel metering system. While in a Closed Loop, the VCM monitors the oxygen sensor signal voltage. The VCM adjusts the fuel delivery based on a signal voltage. The long and short term fuel values, which a scan tool can monitor, indicates a change made to the fuel delivery. Ideal fuel trim values are around 128; if the oxygen sensor signal indicates a lean condition, the VCM adds fuel. This results in fuel trim values above 128. If the oxygen sensor detects a rich condition, the fuel trim values will read below 128. This indicates that the VCM is reducing the amount of fuel delivered. If an excessively lean condition is detected, the VCM sets this DTC.

Conditions for Setting the DTC

    • No IAC or idle DTCs
    • No HO2S sensor DTCs
    • No TP sensor DTCs
    • No MAP sensor DTCs
    • No EGR sensor DTCs
    • No EVAP sensor DTCs
    • No ECT sensor DTCs
    • No MAF sensor DTCs
    • No IAT sensor DTCs
    • No VS sensor DTCs
    • No System Voltage DTCs
    • No Misfire DTCs
    • Throttle position less than 69.9%
    • Engine speed is between 575-4000 RPM
    • The BARO greater than 70 kPa
    • The ECT is between 75-114°C (167-237°F)
    • The MAP is between 22-85 kPa.
    • The IAT is between -8.25-76°C (46-169°F)
    • The MAF is between 3-85 g/s
    • The vehicle speed less than 85 mph

Action Taken When the DTC Sets

Important: To complete a trip cycle for the fuel trim diagnostic, the fuel trim diagnostic test must enable and run according to the current DTC Will Set When criteria above. A trip is not considered complete until the fuel trim diagnostic has run by the VCM.

When the current DTC initially sets, a software flag indicating an emissions related fault sets for 3 trips. The flag will clear provided the lean condition is no longer present. However, if the VCM detects the conditions for setting the current DTC during a trip while the flag is still set, the VCM turns on the MIL (Malfunction Indicator Lamp). The MIL remains on during all of the subsequent trips until the DTC has been cleared by service or the lean condition has not been detected and the conditions for checking the fuel trim have been met for 3 consecutive trips.

Conditions for Clearing the MIL or DTC

    • The control module turns OFF the MIL after 3 consecutive drive trips when the test has run and passed.
    • A history DTC will clear if no fault conditions have been detected for 40 warm-up cycles. A warm-up cycle occurs when the coolant temperature has risen 22°C (40°F) from the startup coolant temperature and the engine coolant reaches a temperature that is more than 70°C (158°F) during the same ignition cycle.
    • Use a scan tool in order to clear the DTCs.

Diagnostic Aids

If using the diagnostic tables does not isolate the problem, try monitoring the LT fuel trim and fuel trim cell while operating the vehicle under various loads. This may isolate the condition which caused the setting of the current DTC.

A condition that causes the DTC P0300 Engine Misfire Detected may also set the current DTC; conversely an extremely lean condition which sets the current DTC can cause a misfire at idle and the DTC P0300 to set. If the cause of the current DTC cannot be determined and the DTC P0300 is also set, refer to DTC P0300 Engine Misfire Detected .

Test Description

The numbers below refer to step numbers on the diagnostic table.

  1. A more negative value indicates the VCM is leaning the fuel mixture (Rich condition), and a more positive value indicates the VCM is richening the fuel mixture (Lean condition).

  1. Visually and physically check the items that can cause a lean condition in order to determine the cause of the DTC being set.

Step

Action

Value(s)

Yes

No

1

Important: : Before clearing the DTCs, use the scan tool Capture Info to save the Freeze Frame and Failure Records for reference. The control module's data is deleted once the Clear Info function is used.

Did you perform the Powertrain On-Board Diagnostic (OBD) System Check?

--

Go to Step 2

Go to Powertrain On Board Diagnostic (OBD) System Check

2

Important: : If any DTCs are set, except P0174 and P0171, refer to those DTCs before proceeding with this diagnostic.

  1. Install the scan tool.
  2. Idle the engine in closed loop at the normal operating temperature.
  3. Monitor the Long Term FT Bn 2 using the scan tool.

Is the Long Term FT Bn 2 value above the specified value?

20% LT

Go to Step 4

Go to Step 3

3

  1. Turn ON the ignition leaving the engine OFF.
  2. Review the Freeze Frame and Failure Records for this DTC and observe the parameters.
  3. Turn OFF the ignition for 15 seconds.
  4. Start the engine.
  5. Operate the vehicle within the conditions for this diagnostic to run, and as close to the conditions recorded in Freeze Frame or Failure Records as possible.
  6. Select DTC and the Specific DTC function.
  7. Enter the DTC number which was set.

Does the scan tool indicate that this diagnostic failed this ignition?

--

Go to Step 4

Go to Diagnostic Aids

4

Is DTC P0171 also set?

--

Go to Step 5

Go to Step 6

5

Visually and physically check the following items:

    • The exhaust system for leaks.
    • The fuel filter for restriction.
    • The air induction system after the MAF sensor for vacuum leaks.
    • The vacuum hoses for splits, kinks, and proper connections.
    • The throttle body, intake manifold, and EGR valve for vacuum leaks.
    • Idle Air Control (IAC); if a high or unsteady idle is being experienced.
    • The Positive Crankcase Ventilation Valve (PCV), spring and O-ring for proper installation.
    • The AIR system for proper operation (if applicable). An AIR system that allows oxygen to enter the exhaust may present a lean condition.
    • The fuel for excessive water, alcohol, or other contaminates.
    • VCM and sensor grounds are clean, tight and in the proper location.

Was a problem found in any of the above areas?

--

Go to Step 10

Go to Step 7

6

Visually and physically check the following items:

    • Bank 2 exhaust for leaks.
    • Bank 2 HO2S 1 is installed securely and the electrical connector is not contacting the exhaust system or ignition wires.
    • Any vacuum leaks that will only effect bank 2.

Was a problem found in any of the above areas?

--

Go to Step 10

Go to Step 7

7

    Caution: Wrap a shop towel around the fuel pressure connection in order to reduce the risk of fire and personal injury. The towel will absorb any fuel leakage that occurs during the connection of the fuel pressure gage. Place the towel in an approved container when the connection of the fuel pressure gage is complete.

  1. Relieve the fuel pressure. Refer to Fuel Pressure Relief .
  2. Install the fuel pressure gauge J 34730-1A to the fuel pipe fitting.
  3. Caution: The fuel pump will operate for 2 seconds after you have turned off the ignition. Make sure that all the fuel pipes and fittings are securely fastened in order to prevent personal injury.

  4. Turn OFF the ignition for 10 seconds with the A/C off.
  5. Turn ON the ignition leaving the engine OFF.
  6. The fuel pump should run for 2 seconds.
  7. The ignition may have to be cycled ON more than once in order to obtain maximum pressure.
  8. Monitor the fuel pressure with the fuel pump running. The fuel pressure should be within the first specified value range.
  9. When the fuel pump stops, the fuel pressure may vary slightly, then it should hold steady within the second value range.

Is pressure within the specified value ranges and does it hold?

Central SFI - 415-455 kPa (60-66 psi)

379-413 kPa (55-60 psi)

Go to Step 8

Go to Step 13

8

  1. Start the engine.
  2. Idle the engine at the normal operating temperature.

Is the fuel pressure within the specified value?

379-413 kPa (55 60 psi)

Go to Step 9

Go to Step 13

9

Perform the Injector Balance Test. Refer to Fuel Injector Balance Test .

Was an injector problem found?

--

Go to Step 11

Go to Step 14

10

  1. Repair or replace any items found.
  2. Use the Fuel Trim Reset function on the scan tool.
  3. Operate the vehicle in Closed Loop while monitoring Long Term FT Bn 2 display.
  4. The Long Term FT Bn 2 should decrease below the specified value.

Does the Long Term FT Bn 2 value decrease below the specified value?

20% LT

Go to Step 12

Go to Step 7

11

  1. Replace the fuel injector. Refer to Central Sequential Multiport Fuel Injector Replacement .
  2. Use the Fuel Trim Reset function on the scan tool.
  3. Operate the vehicle in a Closed Loop while monitoring Long Term FT Bn 2 display.
  4. The Long Trim FT Bn 2 should decrease below the specified value

Does the Long Term FT Bn 2 value decrease below the specified value?

20% LT

Go to Step 12

Go to Step 7

12

The lean condition is not present. Does a driveability symptom still exists?

--

Go to Symptoms

Go to Step 14

13

Refer to Fuel System Diagnosis .

Is the action complete?

--

Go to Step 14

--

14

  1. Using the scan tool, clear the DTCs.
  2. Start the engine.
  3. Allow the engine to idle until the engine reaches normal operating temperature.
  4. Select DTC and the Specific DTC function.
  5. Enter the DTC number which was set.
  6. Operate the vehicle, with the Conditions for Setting this DTC, until the scan tool indicates the diagnostic Ran.

Does the scan tool indicate that this diagnostic Ran and passed?

--

Go to Step 15

Go to Step 2

15

Does the scan tool display any additional undiagnosed DTCs?

--

Go to the applicable DTC table

System OK