GM Service Manual Online
For 1990-2009 cars only

Instrument Cluster: Analog Schematics P42

Figure 1:

Cell 81(1 of 4)


Object Number: 464822  Size: FS
Instrument Cluster Components P42
Instrument Cluster Circuit Description
Cell 81(2 of 4)
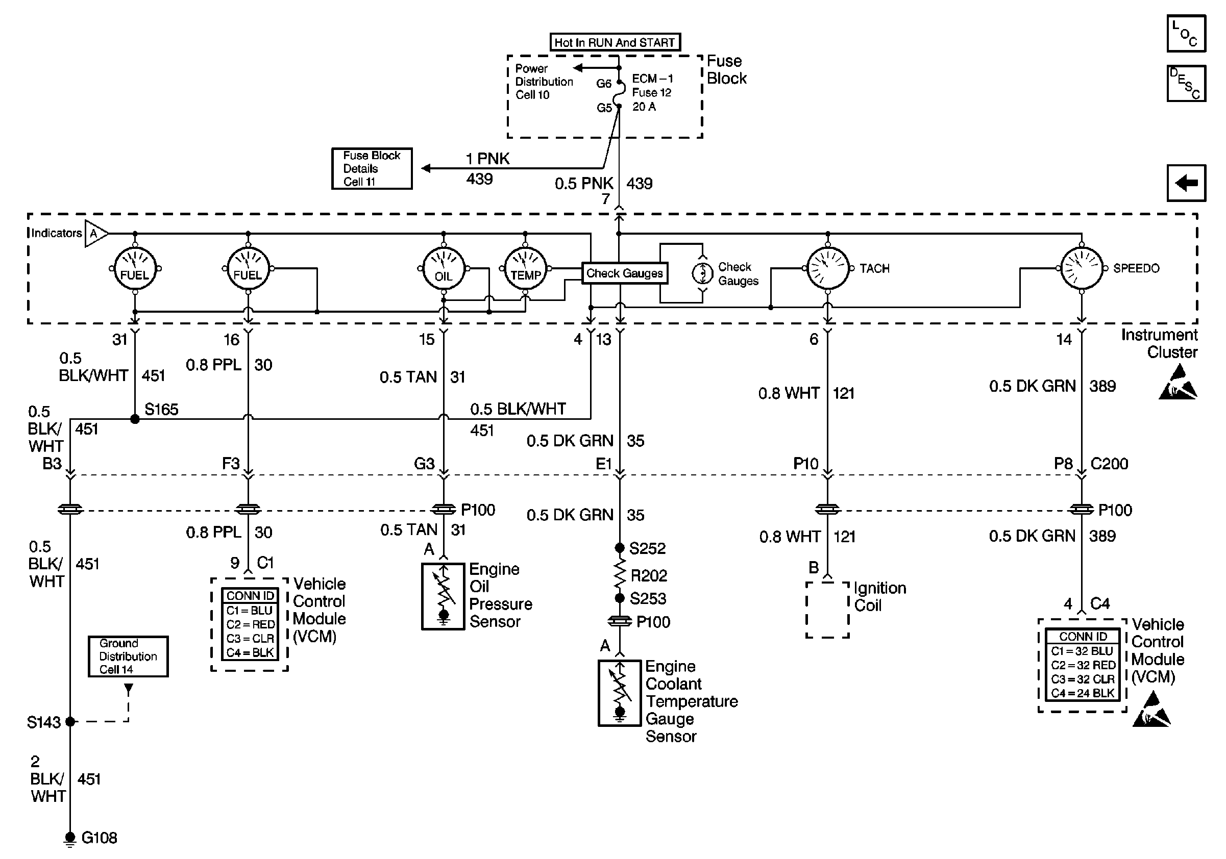
Cell 10: Ignition Switch and Fuse Block
Cell 11: GAUGES fuse
Cell 81(3 of 4)
Cell 81(3 of 4)
Handling ESD Sensitive Parts Notice
Cell 22: Glowplug Control
Cell 23: Glowplug Controls 2 - Federal Emissions
Cell 23: Glowplug Control (California)
Cell 23: PCM Power and Grounding, MIL, and DLC
Cell 21: Power and Grounding
Cell 20: Power and Grounding
Cell 23: PCM Power and Grounding, MIL, and DLC
Cell 22: Fuel Controls 2 - Fuel Heater, Water Sensor, Cold Advance
Cell 23: Fuel Controls 2 - Fuel Heater, Temp. Sensor, Water in Fuel Sensor
Cell 102: DRL Indicator
Cell 41: Brake Warning System - US
Cell 22:A/T Controls 1 - Power and Grounding, DLC
Cell 14: S110 [L57]
Antilock Brake System Schematics
Cell 14: G200
Figure 2:

Cell 81(2 of 4)


Object Number: 508484  Size: FS
Instrument Cluster Components P42
Instrument Cluster Circuit Description
Cell 81(3 of 4)
Cell 81(1 of 4)
Cell 102: DRL Indicator
Cell 100: Rectangular Headlamps
Cell 110: Headlamps Switch and Turn Signal Indicators
Handling ESD Sensitive Parts Notice
Cell 14: G108 [L31/L35]
Cell 14: G105, G106, G110, G400, and G401
Figure 3:

Cell 81(3 of 4)


Object Number: 464826  Size: FS
Instrument Cluster Components P42
Instrument Cluster Circuit Description
Cell 81(2 of 4)
Cell 81(4 of 4)
Cell 81(1 of 4)
Cell 11: ECM-I fuse [L31]
Cell 11: ECM-I fuse [L57]
Cell 11: ECM-I fuse [L31]
Cell 10: Ignition Switch and Fuse Block
Handling ESD Sensitive Parts Notice
Cell 14: G105, G106, G110, G400, and G401
Cell 14: G108 [L31/L35]
Cell 14: S110 [L57]
Figure 4:

Cell 81(4 of 4)


Object Number: 464828  Size: FS
Instrument Cluster Components P42
Instrument Cluster Circuit Description
Cell 81(3 of 4)
Cell 10: Ignition Switch and Fuse Block
Cell 81(1 of 4)
Handling ESD Sensitive Parts Notice
Cell 14: G108 [L31/L35]
Cell 14: G108 [L57]
Handling ESD Sensitive Parts Notice

Instrument Cluster: Analog Schematics P32

Figure 1:

Cell 81(1 of 4)


Object Number: 464810  Size: FS
Instrument Cluster Components P32
Instrument Cluster Circuit Description
Cell 81(2 of 4)
Cell 10: Ignition Switch and Fuse Block
Cell 11: GAUGES and TRANS fuses
Cell 81(3 of 4)
Cell 81(3 of 4)
Handling ESD Sensitive Parts Notice
Cell 21: VCM Power and Grounding, MIL, DLC
Cell 22: PCM Power and Grounding, MIL and Service Throttle Indicators, and DLC
Cell 44: Gas, ABS Power and Grounding, DLC Output
Cell 41: Brake Warning System - US
Cell 102: Ignition Switch and IP Cluster
Cell 102: Ignition Switch and IP Cluster
Cell 14: S150 and S101 [L29]
Cell 14: S150 and S101 [L65]
Cell 14: G200
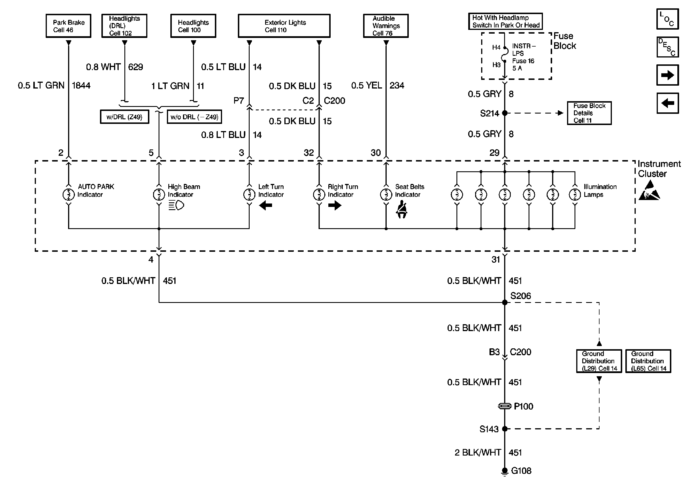
Figure 2:

Cell 81(2 of 4)


Object Number: 464813  Size: FS
Instrument Cluster Components P32
Instrument Cluster Circuit Description
Cell 81(3 of 4)
Cell 81(1 of 4)
Cell 41: AUTO PARK Warning Circuit
Cell 102: Ignition Switch and IP Cluster
Cell 100: Headlamps Switch and Base Headlamps
Cell 110: Headlamps Switch and IP Cluster
Audible Warnings Schematics P32
Cell 11: WIPER, ACC-RADIO, CRANK, AUTO APPLY, and INSTR LPS fuses
Handling ESD Sensitive Parts Notice
Cell 14: G108 [L29]
Cell 14: G108 [L65]
Figure 3:

Cell 81(3 of 4)


Object Number: 464815  Size: FS
Instrument Cluster Components P32
Instrument Cluster Circuit Description
Cell 8(4 of 4)
Cell 10: Ignition Switch and Fuse Block
Cell 81(2 of 4)
Cell 11: ECM-I fuse [L29]
Cell 81(1 of 4)
Handling ESD Sensitive Parts Notice
Cell 14: G108 [L65]
Cell 14: G350, G400, G401, and G402
Figure 4:

Cell 8(4 of 4)


Object Number: 464817  Size: FS
Instrument Cluster Components P32
Instrument Cluster Circuit Description
Cell 81(3 of 4)
Cell 10: Ignition Switch and Fuse Block
Cell 11: ECM-I fuse [L29]
Cell 81(1 of 4)
Handling ESD Sensitive Parts Notice
Cell 14: G108 [L29]
Handling ESD Sensitive Parts Notice