GM Service Manual Online
For 1990-2009 cars only

Introduction

If the motor does not perform to specifications, the motor may be disassembled for further testing of the components. Normally, the starter motor should be disassembled only so far as is necessary to complete repair or replacement of parts.

For 28-MT starter motor and components, refer to
Object Number: 182239  Size: LF

(1)Through Bolt
(2)Brush Plate Screw
(3)Commutator End Frame
(4)CE O-Ring Seal
(5)Grounded Brush
(6)Grounded Brush Screw
(7)Brush Holder Assembly
(8)Insulated Brush
(9)Insulated Brush Screw
(8)Insulated Brush
(9)Insulated Brush Screw
(10)Grounded Brush
(11)Brush Spring
(12)CE Armature Bearing
(13)Armature
(14)DE Armature Bearing
(15)Frame And Field Assembly
(16)Dowel Pin
(17)Field Frame O-Ring Seal
(18)Solenoid Screw
(19)Solenoid Assembly
(20)Shift Lever
(21)Drive Housing Plug
(22)Shift Lever Washer
(23)Shift Lever Nut
(24)Plate (If Used)
(25)Drive Housing Bolt (Short On Some Models)
(26)Drive Housing Bolt (Long)
(27)Armature Support Bracket
(28)Fiber Washer
(29)Thin Washer (One Or Two May Be Used)
(30)Thick Washer
(31)Drive Shaft
(32)Center Support Bearing
(33)Drive Shaft Support
(34)Clutch Drive Assembly
(35)Stop Ring
(36)Pinion Stop
(37)DE Bushing Housing
(38)Shift Lever Screw
(39)Drive End Housing
(40)Bushing Plug (If Used)
.

Do not disassemble the following components that are serviced as assemblies:

    • The solenoid assembly
    • The clutch drive assembly
    • The brush holder assembly
    • The armature assembly
    • The frame and field assembly

Unit Disassembly Procedure


    Object Number: 182249  Size: SH

    Caution: Wear safety glasses in order to avoid eye damage.

    Important: Use a colored pencil or marker that will show on all parts.

  1. Make alignment marks completely down one side of the starter motor in order to ensure proper alignment of all components during reassembly.
  2. Remove the nut of the motor lead to the solenoid assembly.
  3. 2.1. Disconnect the motor lead from the solenoid assembly.
    2.2. Reinstall the nut.
  4. Remove the two through bolts.
  5. Remove the two brush plate screws.
  6. Remove the commutator end frame and the O-ring seal.
  7. Important: Do not lose the small dowel pin installed between the frame assembly and the gear reduction and drive group. If the dowel pin is lost, replace the dowel pin with a 2 mm x 10 mm (0.079 in x 0.394 in) long pin obtained or manufactured locally.

    Important: The armature assembly may come off with the frame, field, and brush holder group, or the armature assembly may be retained by the gear reduction and drive group.

  8. Remove the frame, field, and brush holder group, dowel pin, and O-ring seal.
  9. Important: Do not remove the bearings from the armature assembly unless replacement is required. Refer to Starter Motor Inspection .

  10. Remove the armature assembly with the bearings.
  11. Remove the solenoid screws.
  12. Pivot the inside end of the solenoid assembly out of the engagement shift lever drive group.
  13. Remove the solenoid assembly.

Frame, Field, And Brush Holder Group Disassembly Procedure


    Object Number: 84554  Size: SH
  1. Move the brush holder assembly with the brushes slightly away from the frame and field assembly. Remove the insulated brush screws.
  2. Remove the frame and field assembly.
  3. Remove the grounded brush screws.
  4. Remove any brushes that need replacement.
  5. Inspect for any brush springs that need replacement. Remove the brush springs.
  6. 5.1. Grasp the brush end of each brush spring with needle-nose pliers.
    5.2. Twist the spring end away from the brush and remove the brush.
  7. Inspect and test all electrical components. Refer to Starter Motor Inspection .

Gear Reduction And Drive Group Disassembly Procedure


    Object Number: 96981  Size: SH
  1. Remove the housing bolts.
  2. Important: Washers may stick to the bracket or to the driveshaft and clutch group as the bracket is removed. In either case, note the position and number of each of the washers.

  3. Remove the armature support bracket.
  4. Remove the washers.
  5. Pry out the drive housing plug with a large screwdriver. Remove the plate.
  6. Remove the shift lever nut, washer, and screw.
  7. Important: Do not remove the bushing plug or the bushing from the drive housing unless replacement is indicated. Refer to Starter Motor Inspection .

  8. Remove the shift lever and driveshaft and clutch group from the drive housing together.
  9. Separate the shift lever and driveshaft and clutch group.

Driveshaft And Clutch Group Disassembly Procedure

Disassemble the driveshaft and clutch group only when necessary in order to clean, inspect, or replace one or more parts of the group separately.

  1. Remove the stop rings and the pinion stop.
  2. 1.1. Position the driveshaft and clutch group on a work bench with the internal gear end down.

    Object Number: 84558  Size: SH
    1.2. Place an open tube with a diameter (2) of 22 mm (0.87 in) over the slightly smaller 14.2 mm (0.60 in) diameter (1) of the shaft.
    1.3. With the tube, drive the pinion stop toward the clutch drive until the pinion stop clears the stop ring.
    1.4. Pry the stop rings out of the driveshaft groove. Slide the stop rings off the shaft, being careful not to scratch the driveshaft.
    1.5. Inspect the edges of the shaft groove for burrs. Burrs may make removal of the pinion stop and clutch drive assembly difficult.
             1.5.1. If burrs are found, use a file in order to carefully remove the burrs without damaging the base metal.
             1.5.2. Thoroughly clean away any metal filings.
    1.6. Slide the pinion stop off the driveshaft. Discard the old pinion stop and stop rings.

    Object Number: 84555  Size: SH
  3. Remove the clutch drive assembly from the driveshaft.
  4. Remove the driveshaft support from the driveshaft.
  5. Only if the bearing needs replacement, remove the bearing from the driveshaft. Refer to Starter Motor Inspection .

Drive Shaft And Clutch Group Assembly Procedure

If disassembled, position the driveshaft on a work surface with the internal gear end down.


    Object Number: 84555  Size: SH

    Important: If the center support bearing is being replaced, install the center support bearing on the driveshaft. Refer to Starter Motor Inspection .

  1. Install the driveshaft support to the driveshaft, seating the bearing in the support.
  2. Install the clutch drive assembly to the driveshaft.

  3. Object Number: 182359  Size: SH
  4. Install a new pinion stop and stop rings.
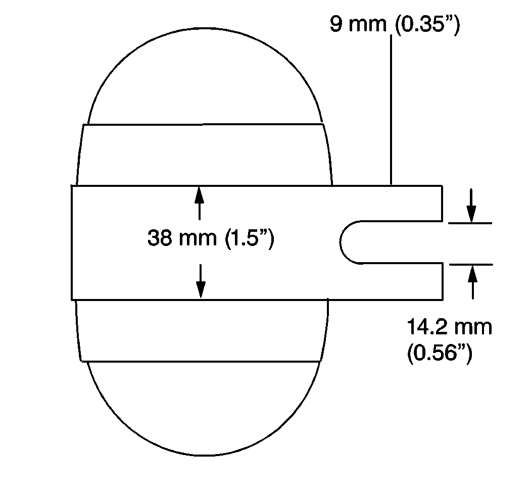
  5. 3.1. Slide the pinion stop with the recess for stop rings facing up onto the driveshaft.
    3.2. Position a block at least 38 mm (1.5 in) wide in a vise.
    3.3. Support the assembly under the pinion stop in the metal block with a U-shaped cutout with a width of 14.2 mm (0.56 in).
    3.4. Make sure the stop rings in the driveshaft groove are fully seated in the recess of the pinion stop.

            Important: Keep the staked metal from contact with the driveshaft.

    3.5. Stake the upper edge of the pinion stop over the stop ring at four places, equally spaced.

Gear Reduction And Drive Group Assembly Procedure


    Object Number: 96981  Size: SH

    Important: If the drive end bushing and plug are being replaced, install the drive end bushing and plug in the drive housing. Lubricate the drive end housing bushing, shift lever, and driveshaft. Refer to Starter Motor Inspection .

  1. Install the arms of the shift lever with the shift collar onto the driveshaft and clutch group.

  2. Object Number: 84555  Size: SH
  3. Install the assembled shift lever and driveshaft and clutch group into the drive housing.
  4. 2.1. Align the holes in the driveshaft support with those in the drive housing.
    2.2. Make sure that the driveshaft support is fully seated in the drive housing and the driveshaft bearing remains fully seated in the driveshaft support.

    Object Number: 96981  Size: SH

    Notice: Use the correct fastener in the correct location. Replacement fasteners must be the correct part number for that application. Fasteners requiring replacement or fasteners requiring the use of thread locking compound or sealant are identified in the service procedure. Do not use paints, lubricants, or corrosion inhibitors on fasteners or fastener joint surfaces unless specified. These coatings affect fastener torque and joint clamping force and may damage the fastener. Use the correct tightening sequence and specifications when installing fasteners in order to avoid damage to parts and systems.

  5. Install the shift lever screw, washer, and nut.
  6. Tighten
    Tighten the shift lever nut to 4.5 N·m (40 lb in).

  7. Install the plate, if used, and the drive housing plug to the drive housing.
  8. Install the washers in the same number and position as noted during disassembly.
  9. Install the armature support bracket to the drive housing.
  10. Install the drive housing bolts.
  11. Tighten
    Tighten the drive housing bolts to 8.5 N·m (75 lb in).

Frame, Field, And Brush Holder Group Assembly Procedure


    Object Number: 84567  Size: SH
  1. Install the brush springs, if removed.
  2. 1.1. Start each spring onto the post on the brush holder assembly just enough in order to keep the inside end of the spring from turning.
    1.2. Grasp the free end of the spring with needle nose pliers and twist the spring to the right over the top of the brush socket.
    1.3. Push the spring fully onto the post and release the free end in order to engage the notch in the brush socket.

    Object Number: 84568  Size: SH

    Notice: Brush leads may be damaged by excessive handling. Do not overflex the leads near the clip welds or the clips may break

  3. Install the brushes, if removed
  4. 2.1. Make sure the insulated brushes go into the brush sockets of the brush holder assembly that mounts on the insulation.
    2.2. Grasp the free end of the brush spring with needle nose pliers.
    2.3. Twist the spring to the right in order to clear the brush socket. Insert the brush partly into the brush socket.

            Important: This will hold the brushes retracted until the brush holder is installed over the armature commutator.

    2.4. Gradually release the spring so that the end of the spring contacts the side, not the end, of the brush.
  5. Install the grounded brush screws.
  6. 3.1. Position the terminals of the grounded brush leads behind the terminal tabs on the brush holder.
    3.2. Insert the brush screws through the terminal tabs on the brush holder. Thread the screws into the brush lead terminals.

    Tighten
    Tighten the grounded brush screws to 1.5 N·m (13 lb in).


    Object Number: 84554  Size: SH
  7. Install the frame and field assembly to the brush holder assembly.
  8. 4.1. Position the brush holder assembly with the brushes installed over the terminal end of the frame and field assembly.
    4.2. Attach the terminals of the insulated brush leads to the conductors in the frame and field assembly with insulated brush screws.

    Tighten
    Tighten the insulated brush screws to 1.5 N·m (13 lb in).

Unit Assembly Procedure

  1. Support the gear reduction and drive group with the pinion gear end down.

  2. Object Number: 182249  Size: SH

    Notice: Use the correct fastener in the correct location. Replacement fasteners must be the correct part number for that application. Fasteners requiring replacement or fasteners requiring the use of thread locking compound or sealant are identified in the service procedure. Do not use paints, lubricants, or corrosion inhibitors on fasteners or fastener joint surfaces unless specified. These coatings affect fastener torque and joint clamping force and may damage the fastener. Use the correct tightening sequence and specifications when installing fasteners in order to avoid damage to parts and systems.

    Important: If the armature bearings are being replaced, install the armature bearings on the armature. Refer to Starter Motor Inspection .

  3. Install the solenoid assembly.
  4. 2.1. Pivot the plunger of the solenoid assembly into the engagement with the shift lever in the gear reduction and drive group.
    2.2. Position the solenoid assembly mounting flange and install the solenoid mounting screws.

    Tighten
    Tighten the solenoid mounting screws to 2.8 N·m (25 lb in).

  5. Install the frame seal.
  6. Install the armature assembly with the bearings into the gear reduction and drive group.
  7. 4.1. Make sure the gear teeth of the armature are aligned.
    4.2. Fully seat the bearing on the armature into the housing recess.
  8. Install the frame, field, and brush holder group.
  9. 5.1. Place the dowel pin in the hole of the armature support bracket of the gear reduction and drive group.
    5.2. Position the frame, field, and brush holder group over the armature assembly. Align the hole for the dowel pin and the alignment marks.
    5.3. Seat the frame, field, and brush holder group in the gear reduction and drive group.

    Object Number: 84554  Size: SH

            Important: Brush spring tension should be 44.5 -49.0 N (10-11 lbs). If not, replace the springs before proceeding.

    5.4. Twist the brush springs away from the brushes. Slide the brushes into contact with the commutator on the armature.
    5.5. Release the brush springs in order to contact the ends of the brushes.

    Object Number: 182249  Size: SH

    Important: The O-ring seal can easily be damaged during installation of the commutator end frame. Carefully follow the installation procedure.

  10. Install the 0-ring seal on the frame, field, and brush holder group.
  11. 6.1. Install the 0-ring seal so that the seal is against the shoulder of the field frame that will abut the commutator end frame when installed.
    6.2. Carefully roll the 0-ring seal out of the installed position and up onto the major outer diameter of the field frame.
    6.3. Allow the seal to remain in this position until the commutator end frame is partially installed.

    Object Number: 182272  Size: SH
  12. Install the commutator end frame.
  13. 7.1. Align the marks made prior to disassembly on the commutator end frame and the frame and field assembly.
    7.2. Start the commutator end frame onto the frame and field assembly, but leave a gap just slightly larger than the thickness of the 0-ring seal.
    7.3. Use a scribe or similar tool to align the tapped holes in the brush holder assembly with the screw holes in the commutator end frame.
    7.4. Install the brush plate screws.

    Tighten
    Tighten the brush plate screws to 2.8 N·m (25 lb in).

  14. Install the through-bolts.
  15. 8.1. Tighten the through-bolts by hand, but do not close the gap left for the seal between the end frame and the frame and field assembly.
    8.2. Roll the 0-ring seal into the installed position between the commutator end frame and the frame and field assembly.

            Important: Marks are located in two places on the motor, but will only match one way in order to ensure proper alignment.

    8.3. Align the timing ribs on the edge of the commutator end frame with the timing spots on the frame and field assembly.

    Tighten
    Tighten the through-bolts to 8.5 N·m (75 lb in).


    Object Number: 182249  Size: SH
  16. Connect the motor lead onto the frame and field assembly.
  17. 9.1. Remove the nut from the terminal on the solenoid.
    9.2. Install the motor lead terminal. Reinstall the nut.

    Tighten
    Tighten the solenoid motor terminal nut to 11 N·m (100 lb in).

  18. After completion of the overhaul of the starter motor, do a starter no load test. Refer to Starter Motor Inspection .