GM Service Manual Online
For 1990-2009 cars only

Removal Procedure

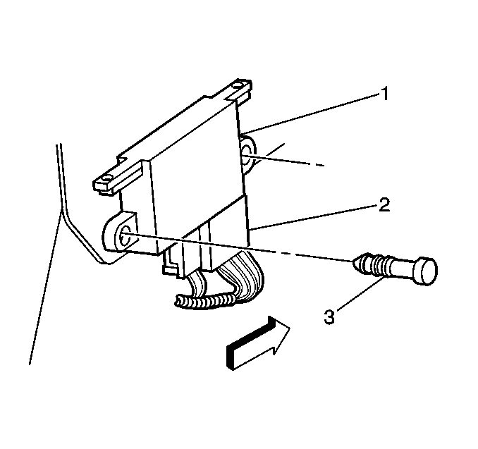
The VSS buffer module (1) is mounted in the instrument panel near the steering column.


    Object Number: 443252  Size: SH

    Caution: Unless directed otherwise, the ignition and start switch must be in the OFF or LOCK position, and all electrical loads must be OFF before servicing any electrical component. Disconnect the negative battery cable to prevent an electrical spark should a tool or equipment come in contact with an exposed electrical terminal. Failure to follow these precautions may result in personal injury and/or damage to the vehicle or its components.

  1. Disconnect the negative battery cables.
  2. Disconnect the electrical connectors (2).
  3. Remove the push pins (3).
  4. Remove the module (1).

Installation Procedure


    Object Number: 443827  Size: SH
  1. Install the module (1).
  2. Install the push pins (3).
  3. Connect the electrical connectors (2)
  4. Connect the negative battery cables.