GM Service Manual Online
For 1990-2009 cars only

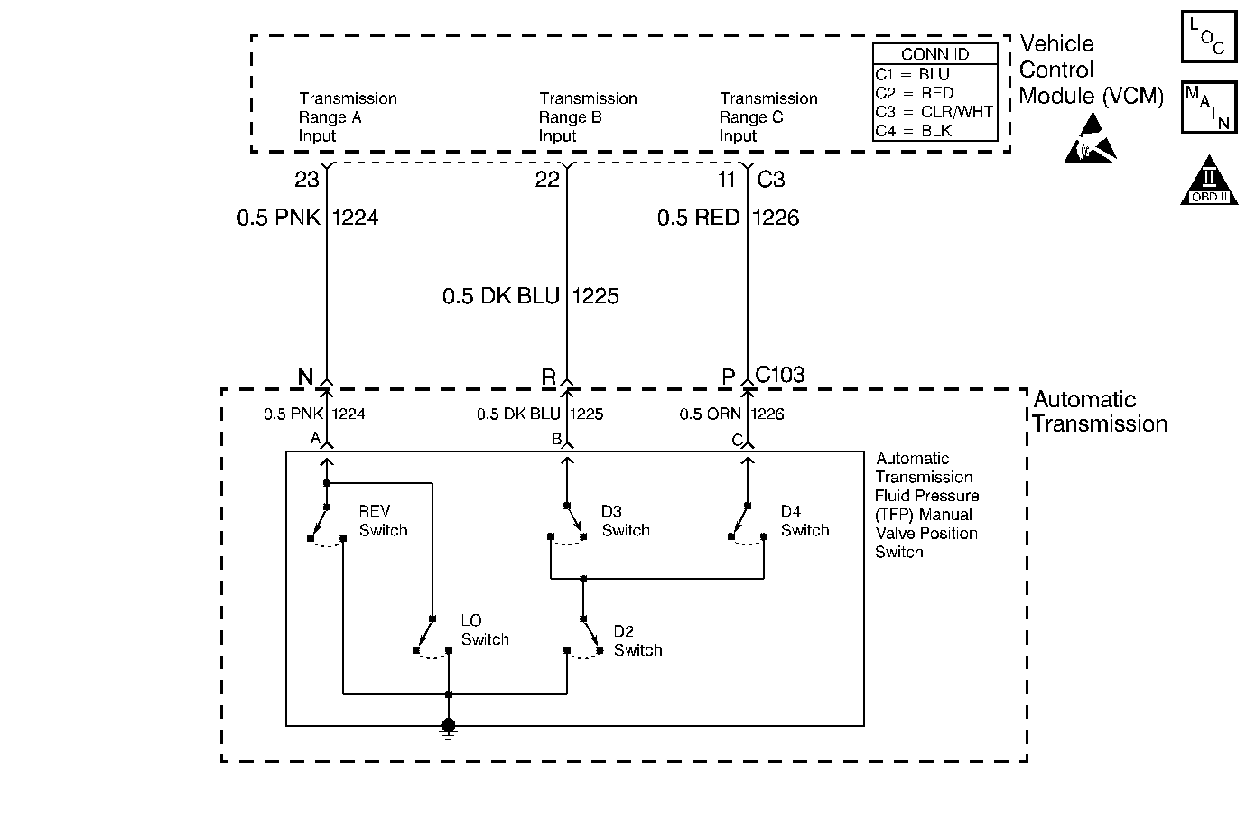
DTC P1810 TFP Valve Position Switch Circuit L29/L31/L35


Object Number: 369890  Size: MF
Automatic Transmission Components Gasoline
Automatic Transmission Controls Schematics VCM Control
OBD II Symbol Description Notice
Handling ESD Sensitive Parts Notice

Circuit Description

The automatic transmission fluid pressure (TFP) manual valve position switch consists of five normally-open pressure switches. The vehicle control module (VCM) supplies battery voltage to each range signal. By grounding one or more of these circuits through various combinations of the pressure switches, the VCM detects what manual valve position has been selected, and compares the actual voltage combination of the switches to a TFP manual valve position switch combination table stored in memory.

The TFP manual valve position switch assembly cannot distinguish between PARK and NEUTRAL because the monitored valve body pressures are identical in both cases. With the ignition ON and the engine OFF, D2 is indicated. When the transmission 20-way connector is disconnected, the ground potential for the three range signals to the VCM is removed, and with the ignition ON, D2 is indicated.

If the VCM detects an invalid state of the TFP manual valve position switch circuit by deciphering the TFP manual valve position switch inputs, then DTC P1810 sets. DTC P1810 is a type D DTC. For California emissions vehicles DTC P1810 is a type B DTC.

Conditions for Running the DTC

    • The system voltage is 10-16.0 volts.
    • The engine speed is greater than 500 RPM for 7 seconds.
    • No OSS DTCs P0502 or P0503.
    • No ISS DTCs P0716 or P0717.
    • No PSA DTC P1810.
    • No MAP DTCs P0106, P0107 or P0108.
    • No 1-2 SS DTCs P0751 or P0753.
    • No 2-3 SS DTCs P0756 or P0758.
    • Not in fuel cut off.
    • The engine torque is:
       - 108-540 N·m (80-400 lb ft)
       - 108-675 N·m (80-500 lb ft)
    • The engine vacuum is 0-105 kPA.

Conditions for Setting the DTC

DTC P1810 sets during the second consecutive trip in which any of the following condition occurs:

Condition 1

The VCM detects an illegal TFP manual valve position switch state for 60 seconds.

Condition 2

    • The engine speed is less than 50 RPM for 0.3 second; then between 50 and 550 RPM for 0.3 second; then the engine speed is greater than 550 RPM.
    • The vehicle speed is less than 4 km/h (2.5 mph).
    • The VCM detects the gear range as D2 before and after start up.
    • All conditions are met for 7 seconds.

Condition 3

    • The vehicle speed is greater than 8 km/h (5 mph).
    • The TP angle is greater than 10%.

The TFP switch indicates the following:

   • 

P/N when the ratio indicates less than 1.05:1 for greater than 15 seconds.

   • 

Reverse when the ratio indicates D4, D3, D2, and D1 for greater than 5 seconds.

   • 

D4, D3, D2, and D1 when the ratio indicates reverse for greater than 7 seconds.

Action Taken When the DTC Sets

    • The VCM illuminates the malfunction indicator lamp for California emission vehicles.
    • The VCM commands maximum line pressure.
    • The VCM assumes D4 for the PRNDL shift pattern.
    • The VCM freezes shift adapts.
    • The VCM commands the TCC on in commanded fourth gear.
    • The VCM stores DTC P1810 in VCM history.

Conditions for Clearing the MIL/DTC

    • For California emissions, the VCM turns OFF the MIL during the third consecutive trip in which the diagnostic test runs and passes.
    • A scan tool clears the DTC from VCM history.
    • For California emissions, the VCM clears the DTC from VCM history if the vehicle completes 40 consecutive warm-up cycles without an emission related diagnostic fault occurring.
    • For Federal emissions, the VCM clears the DTC from VCM history if the vehicle completes 40 consecutive warm-up cycles without a non-emission related diagnostic fault occurring.
    • The VCM cancels the DTC default actions when the fault no longer exists and the ignition switch is OFF long enough in order to power down the VCM.

Diagnostic Aids

    • Refer to the Range Signal table for the normal range signals and the illegal combinations.
    • Inspect the wiring at the VCM, the transmission connector and all other circuit connecting points for the following conditions:
       - A backed out terminal
       - A damaged terminal
       - Reduced terminal tension
       - A chafed wire
       - A broken wire inside the insulation
       - Moisture intrusion
       - Corrosion
    • When diagnosing for an intermittent short or open, massage the wiring harness while watching the test equipment for a change.
    • DTC P1810 can be falsely set during a fluid fill procedure. After refilling the fluid, cycle key down then start and run the vehicle for 20 seconds. Key down and allow the VCM to power down, and then restart the vehicle.
    • DTC P1810 can be set falsely by low pump pressure or a stuck pressure regulator.
    • DTC P1810 can be set by a rolled forward clutch piston seal. It may allow the VCM to see a 2.08:1 ratio (reverse) when the manual valve position is indicated as D4.
    • First diagnose and clear any engine DTCs or TP sensor codes that are present. Then inspect for any transmission DTCs that may have reset.

Test Description

The numbers below refer to the step numbers on the diagnostic table.

  1. This step tests the indicated range signal to the manual valve that is actually selected.

  2. This step tests the voltage from the VCM to the transmission 20-way connector.

P1810

Step

Action

Value(s)

Yes

No

1

Was the Powertrain On-Board Diagnostic (OBD) System Check performed?

--

Go to Step 2

Go to Powertrain On Board Diagnostic (OBD) System Check (4.3L) or Powertrain On Board Diagnostic (OBD) System Check (5.7L) or Powertrain On Board Diagnostic (OBD) System Check (7.4L)

2

  1. Inspect for proper adjustment of the transmission linkage from the select lever to the manual valve.
  2. Inspect the fluid.

Were the inspections performed?

--

Go to Step 3

Go to Transmission Fluid Check

3

  1. Install the Scan Tool .
  2. With the engine OFF, turn the ignition switch to the RUN position.
  3. Important: Before clearing the DTCs, use the scan tool in order to record the Freeze Frame and Failure Records. Using the Clear Info function erases the Freeze Frame and Failure Records from the VCM.

  4. Record the Freeze Frame and Failure Records.
  5. Clear the DTCs.
  6. While the engine idles at normal operating temperature, apply the parking brake.
  7. Select each transmission range: D1, D2, D3, D4, N, R, and P.
  8. Refer to the Range Signal table.

Does each selected transmission range match the scan tool TFP switch A/B/C display?

--

Go to Diagnostic Aids

Go to Step 4

4

  1. Turn the ignition OFF.
  2. Disconnect the transmission 20-way connector (additional DTCs may set).
  3. Install the J 39775 jumper harness on the engine side of the transmission 20-way connector.
  4. With the engine OFF, turn the ignition to the RUN position.
  5. Using the J 39200 digital multimeter (DMM) and the J 35616 connector test adapter kit, check the voltage at the harness connector terminals N, R, and P.

Is B+ displayed on all three circuits?

--

Go to Step 6

Go to Step 5

5

Inspect the circuits that did not indicate B+ in Step 4 for an open or short to ground.

Refer to General Electrical Diagnosis in Wiring Systems.

Was an open or shorted to ground condition found?

--

Go to Step 8

Go to Step 7

6

Verify that circuits 1224, 1225, and 1226 are not shorted together. Use a fused jumper wire in order to ground each circuit while monitoring the scan tool TFP switch display.

When a range signal circuit is grounded, are any of the other range signal circuits affected?

--

Go to Step 8

Go to Transmission Fluid Pressure Manual Valve Position Switch Resistance Check

7

Replace the VCM.

Refer to VCM Replacement/Programming (4.3L) or VCM Replacement/Programming (5.7L) or VCM Replacement/Programming (7.4L) in Engine Controls.

Is the replacement complete?

--

Go to Step 9

--

8

Repair the circuit wiring as necessary.

Refer to Wiring Repairs in Wiring Systems.

Is the repair complete?

--

Go to Step 9

--

9

Perform the following procedure in order to verify the repair:

  1. Select DTC.
  2. Select Clear Info.
  3. Operate the vehicle under the following conditions:
  4. • Turn the ignition switch to the RUN position for at least 2 seconds.
    • Start the vehicle.
    • Idle the vehicle in PARK above 600 RPM for 7 seconds.
    • Drive the vehicle in D4 with the throttle at least 10% and the TCC locked for 60 seconds.
  5. Select Specific DTC.
  6. Enter DTC P1810.

Has the test run and passed?

--

System OK

Go to Step 1

DTC P1810 TFP Valve Position Switch Circuit L57/L65 EFI


Object Number: 370960  Size: MF
Automatic Transmission Components Diesel
Automatic Transmission Controls Schematics PCM Control
OBD II Symbol Description Notice
Handling ESD Sensitive Parts Notice

Circuit Description

The automatic transmission fluid pressure (TFP) manual valve position switch consists of five normally-open pressure switches. The powertrain control module (PCM) supplies battery voltage to each range signal. By grounding one or more of these circuits through various combinations of the pressure switches, the PCM detects what manual valve position has been selected and compares the actual voltage combination of the switches to a TFP manual valve position switch combination chart stored in memory.

The TFP manual valve position switch cannot distinguish between PARK and NEUTRAL because the monitored valve body pressures are identical in both cases. With the ignition ON and the engine OFF, D2 is indicated. When the transmission 20-way connector is disconnected, the ground potential for the three range signals to the PCM is removed, and with the ignition ON, D2 is indicated.

If the PCM detects an invalid state of the TFP manual valve position switch circuit by deciphering the TFP manual valve position switch inputs, then DTC P1810 sets. DTC P1810 is a type B DTC.

Conditions for Running the DTC

    • The system voltage is 8.0-18.0 volts.
    • The APP angle is greater than 12%.
    • The engine speed is greater than 475 RPM for greater than 7 seconds.
    • No OSS DTCs P0502 or P0503.
    • No ISS DTCs P0716 or P0717.
    • No PSA DTC P1810.
    • No MAP DTCs P0106, P0107 or P0108.
    • No 1-2 SS DTCs P0751 or P0753.
    • No 2-3 SS DTCs P0756 or P0758.
    • The engine speed is less than 3750.
    • Not in fuel cut-off.
    • The engine torque is 108-644 N·m (80-475 lb ft).
    • The engine vacuum is 0-105 kPA.

Conditions for Setting the DTC

DTC P1810 sets during the second consecutive trip in which any of the following condition occurs:

Condition 1

The PCM detects an illegal TFP manual valve position switch state for 25.5 seconds.

Condition 2

    • The engine speed is less than 50 RPM for 1.5 second; then between 50 and 575 RPM for 0.3 second; then the engine speed is greater than 575 RPM.
    • The vehicle speed is less than 4 km/h (2.5 mph).
    • The PCM detects the gear range as D2 before and after start-up.
    • All conditions are met for 7.5 seconds.

Condition 3

    • The vehicle speed is greater than 8 km/h (5 mph).
    • The TP angle is greater than 12%.

The PCM detects the following when the TFP switch indicates:

   • 

P/N when the ratio indicates less than 1.05:1 for greater than 15 seconds.

   • 

REVERSE when the ratio indicates D4, D3, D2 and D1 for greater than 15 seconds.

   • 

D4, D3, D2 and D1 when the ratio indicates REVERSE for greater than 5 seconds.

Action Taken When the DTC Sets

    • The PCM illuminates the malfunction indicator lamp (MIL).
    • The PCM commands maximum line pressure.
    • The PCM assumes D4 for the PRNDL shift pattern.
    • The PCM freezes shift adapts.
    • The PCM stores DTC P1810 in PCM history.

Conditions for Clearing the MIL/DTC

    • For Federal and California emissions, the PCM turns OFF the MIL during the third consecutive trip in which the diagnostic test runs and passes.
    • A scan tool clears the DTC from PCM history.
    • For Federal and California emissions, the PCM clears the DTC from PCM history if the vehicle completes 40 consecutive warm-up cycles without an emission related diagnostic fault occurring.
    • For vehicles equal to or greater than 15,000 lbs GVW, the PCM clears the DTC from PCM history if the vehicle completes 40 consecutive warm-up cycles without a non-emission related diagnostic fault occurring.
    • The PCM cancels the DTC default actions when the fault no longer exists and the ignition switch is OFF long enough in order to power down the PCM.

Diagnostic Aids

    • Refer to the Range Signal table for the normal range signals and the illegal combinations.
    • Inspect the wiring at the PCM, the transmission connector and all other circuit connecting points for the following conditions:
       - A backed out terminal
       - A damaged terminal
       - Reduced terminal tension
       - A chafed wire
       - A broken wire inside the insulation
       - Moisture intrusion
       - Corrosion
    • When diagnosing for an intermittent short or open, massage the wiring harness while watching the test equipment for a change.
    • DTC P1810 can be falsely set during a fluid fill procedure. After refilling the fluid, cycle key down then start and run the vehicle for 20 seconds. Key down and allow the PCM to power down, and then restart the vehicle.
    • DTC P1810 can be set falsely by low pump pressure or a stuck pressure regulator.
    • DTC P1810 can be set by a rolled forward clutch piston seal. It may allow the PCM to see a 2.08:1 ratio (REVERSE) when the manual valve position is indicated as D4.
    • First diagnose and clear any engine DTCs that are present. Then inspect for any transmission DTCs that may have reset.
    • DTC P1810 may be inhibited from passing if the state of the battery is low, or there is a low cranking voltage. To pass DTC P1815, turn the ignition switch to the ON position with the engine OFF. Check that all the range signal switches (A, B, C) read OFF, OFF, OFF. Start the vehicle, and move the PRNDL through each selected transmission range.

Test Description

The numbers below refer to the step numbers on the diagnostic table.

  1. This step tests the indicated range signal to the manual valve that is actually selected.

  2. This step tests the voltage from the PCM to the transmission 20-way connector.

P1810

Step

Action

Value(s)

Yes

No

1

Was the Powertrain On-Board Diagnostic (OBD) System Check performed?

--

Go to Step 2

Go to Powertrain On Board Diagnostic (OBD) System Check

2

  1. Inspect for proper adjustment of the transmission linkage from the select lever to the manual valve.
  2. Inspect the fluid.

Were the inspections performed?

--

Go to Step 3

Go to Transmission Fluid Check

3

  1. Install the Scan Tool .
  2. With the engine OFF, turn the ignition switch to the RUN position.
  3. Important: Before clearing the DTCs, use the scan tool in order to record the Freeze Frame and Failure Records. Using the Clear Info function erases the Freeze Frame and Failure Records from the PCM.

  4. Record the Freeze Frame and Failure Records.
  5. Clear the DTC.
  6. While the engine idles at normal operating temperature, apply the parking brake.
  7. Select each transmission range: D1, D2, D3, D4, N, R, and P.
  8. Refer to the Range Signal table.

Does each selected transmission range match the scan tool TFP Switch A/B/C display?

--

Go to Diagnostic Aids

Go to Step 4

4

  1. Turn the ignition OFF.
  2. Disconnect the transmission 20-way connector (additional DTCs may set).
  3. Install the J 39775 jumper harness on the engine side of the transmission 20-way connector.
  4. With the engine OFF, turn the ignition to the RUN position.
  5. Using the J 39200 digital multimeter (DMM) and the J 35616 connector test adapter kit, check the voltage at the harness connector terminals N, R, and P.

Do all three circuits display B+?

--

Go to Step 6

Go to Step 5

5

Inspect the circuits that did not indicate B+ in Step 4 for an open or short to ground condition.

Refer to General Electrical Diagnosis in Wiring Systems.

Was the condition found?

--

Go to Step 8

Go to Step 7

6

To verify that circuits 1224 (PNK), 1225 (DRK BLU), and 1226 (RED) are not shorted together, use a fused jumper to ground on each circuit while monitoring the scan tool TFP switch display.

When a range signal circuit is grounded, are any of the other range signal circuits affected?

--

Go to Step 8

Go to Transmission Fluid Pressure Manual Valve Position Switch Resistance Check

7

Replace the PCM.

Refer to Powertrain Control Module Replacement/Programming in Engine Controls.

Is the replacement complete?

--

Go to Step 9

--

8

Repair the wiring as necessary.

Refer to Wiring Repairs in Wiring Systems.

Is the repair complete?

--

Go to Step 9

--

9

Perform the following procedure in order to verify the repair:

  1. Select DTC.
  2. Select Clear Info.
  3. Operate the vehicle under the following conditions:
  4. • Turn the ignition switch to the RUN position for at least 2 seconds.
    • Start the vehicle.
    • Idle the vehicle in PARK above 600 RPM for 8.5 seconds.
    • Drive the vehicle in D4 with throttle more than 12% and obtain TCC lock up.
  5. Select Specific DTC.
  6. Enter DTC P1810.

Has the test run and passed?

--

System OK

Go to Step 1