GM Service Manual Online
For 1990-2009 cars only

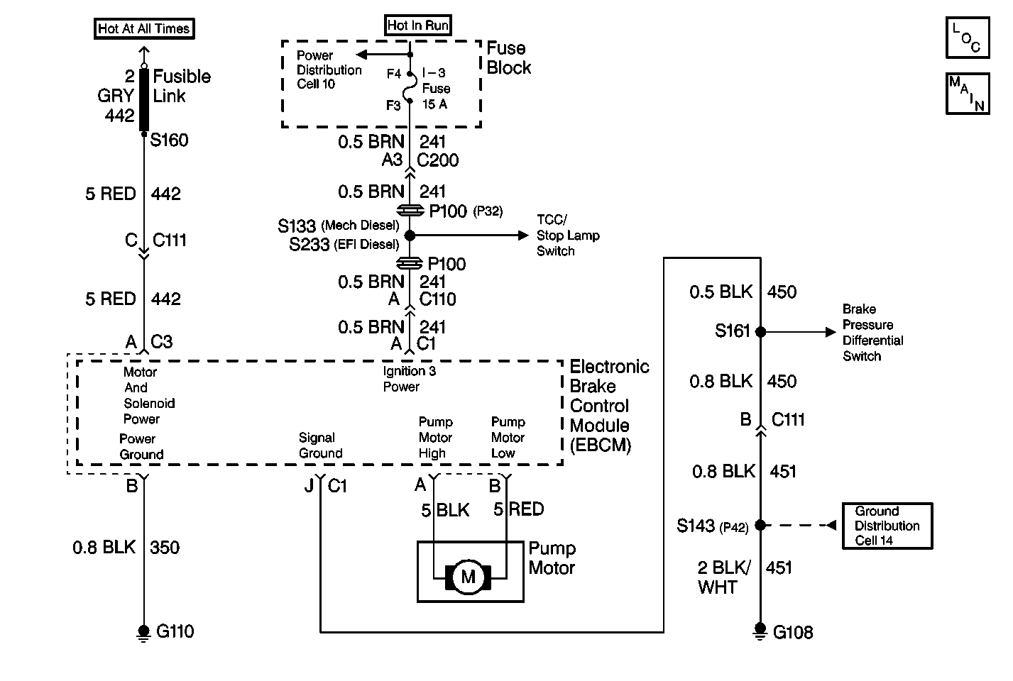
DTC C0267 or C0268 and C067 or C068 Pump Motor Circuit Open/Shorted P32


Object Number: 191513  Size: MF
ABS Components P32
Antilock Brake System Schematics P32

Circuit Description

The pump motor circuit is integral to the BPMV. The EBCM microprocessor energizes the relay within the EBCM in order to supply the battery voltage to the high side of the pump motor. The EBCM microprocessor grounds the low side of the pump motor when activation of the pump motor is required.

Conditions for Setting the DTC (C0267)

    • The EBCM internal relay is on
    • The pump motor is off
    • Low voltage is present from the low side of the pump motor when high voltage is expected

Conditions for Setting the DTC (C0268)

    • Vehicle speed is 13 km/h (8 mph)
    • The EBCM internal relay is on
    • The pump motor is commanded ON and then OFF
    • High voltage exists from the low side of the pump motor for 100 milliseconds when the voltage is expected to be low

Action Taken When the DTC Sets

    • The ABS indicator lamp turns on
    • The ABS disables

DTCs C0267/C0268 are ignition latched DTCs, which indicates that the above actions remain true until the ignition switch is turned to OFF (even if the cause of the DTC is intermittent).

Conditions for Clearing the DTC

    • Repair the conditions responsible for setting the DTC
    • Use the Scan Tool Clear DTCs function

Diagnostic Aids

The pump motor is integral with the BPMV. Do not service the pump motor separately. A poor power/ground connection at the 2-way EBCM connector or the 2-way motor harness from the EBCM to the pump motor can cause a DTC C0267. A seized pump motor, shorted pump motor windings or a poor power/ground at the 2-way EBCM connector can cause a DTC C0268. Replace the EBCM or the BPMV if the following tests show that the pump motor EBCM internal circuits have failed.

Important: Reset the J 39200 test leads to zero prior to making any resistance measurements. Refer to the J 39200 in the user's manual.

If DTCs C0267 or C0268 are setting after replacing the EBCM, check the vehicle for an auxiliary device (winch, auxiliary battery system, etc.) which could cause a voltage spike on the battery feed to the EBCM. If the vehicle does have an auxiliary device, install a Metallic Oxide Varistor (MOV) in the battery feed circuit to the EBCM.

Test Description

The numbers below refer to the steps in the diagnostic table:

  1. This step checks for an open pump motor circuit. The pump motor circuit resistance should not be above the 0.3 ohms. Reset the J 39200 test leads to zero prior to making this low resistance measurement.

  2. This step determines the resistance of the EBCM ground circuit.

  3. This step determines the ignition voltage available to the EBCM.

Step

Action

Value(s)

Yes

No

1

Was the Diagnostic System Check performed?

--

Go to Step 2

Go to Diagnostic System Check - ABS

2

  1. Turn the ignition to OFF.
  2. Disconnect the 2-way pump motor pigtail connector from the EBCM.
  3. Inspect the connector and the wiring for damage or corrosion that could result in an open circuit between the pump motor and the EBCM.

Is the connector and the wiring in good condition?

--

Go to Step 3

Go to Step 10

3

Measure the resistance between terminal A and terminal B of the 2-way pump motor pigtail connector using a J 39200 .

Reset the J 39200 test leads to zero prior to making this resistance measurement.

Is the resistance within the specified range?

0.1-1.0 ohms

Go to Step 4

Go to Step 15

4

  1. Turn the ignition to OFF.
  2. Disconnect the 2-way EBCM harness connector from the EBCM.
  3. Inspect the connector for damage or corrosion that could cause a loss of power to the EBCM.

Is the connector in good condition?

--

Go to Step 5

Go to Step 9

5

Measure the resistance between terminal B of the 2-way EBCM harness connector and the ground using a J 39200 .

Is the resistance within the specified range?

0-2 ohms

Go to Step 6

Go to Step 11

6

  1. Turn the ignition to RUN.
  2. Measure the voltage between terminal A of the 2-way EBCM harness connector and the ground using a J 39200 .

Is the voltage equal to or greater than the specified value?

10.0 V

Go to Step 8

Go to Step 7

7

Inspect the 60-amp ABS maxi-fuse.

Is this fuse open?

--

Go to Step 13

Go to Step 14

8

Malfunction is intermittent, perform the following:

  1. Inspect the 2-way EBCM harness connectors for poor terminal contact or corrosion.
  2. Inspect CKT 442 and CKT 350 for damage that could result in an intermittent open circuit.
  3. Repair any evident damage.
  4. Replace the terminals if poor contact or corrosion exists.
  5. Reconnect all the connectors.
  6. Using the Scan Tool , clear all DTCs .
  7. Test drive the vehicle above the 16 km/h (10 mph)

Does the DTC set as a current DTC?

--

Go to Step 12

Go to Diagnostic Aids

9

Repair the 2-way EBCM harness connector if necessary. Refer to Connector Repairs .

Is the repair complete?

--

Go to Diagnostic System Check - ABS

--

10

Repair the 2-way pump motor pigtail connector or wiring if necessary. Refer to Connector Repairs .

Is the repair complete?

--

Go to Diagnostic System Check - ABS

--

11

Repair the open or the high resistance in the CKT 350.

Is the repair complete?

--

Go to Diagnostic System Check - ABS

--

12

Replace the EBCM. Refer to Electronic Brake Control Module Replacement .

Is the repair complete?

--

Go to Diagnostic System Check - ABS

--

13

Repair short to ground in CKT 442. Refer to Wiring Repairs .

Is the repair complete?

--

Go to Diagnostic System Check - ABS

--

14

Repair the open or the high resistance in CKT 442. Refer to Wiring Repairs .

Is the repair complete?

--

Go to Diagnostic System Check - ABS

--

15

Replace the BPMV. Refer to Brake Pressure Modulator Valve Replacement .

Is the repair complete?

--

Go to Diagnostic System Check - ABS

--

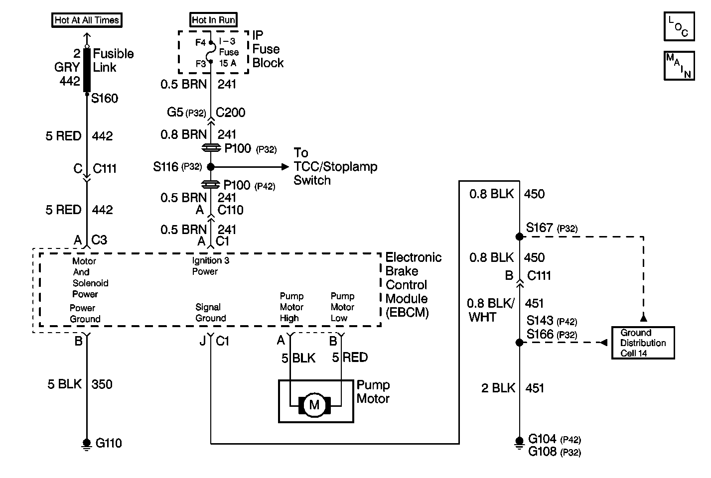
DTC C0267 or C0268 and C067 or C068 Pump Motor Circuit Open/Shorted P42


Object Number: 396524  Size: MF
ABS Components P42
Antilock Brake System Schematics P42

Circuit Description

The pump motor circuit is integral to the BPMV. The EBCM microprocessor energizes the relay within the EBCM in order to supply the battery voltage to the high side of the pump motor. The EBCM microprocessor grounds the low side of the pump motor when activation of the pump motor is required.

Conditions for Setting the DTC (C0267)

    • The EBCM internal relay is on
    • The pump motor is off
    • Low voltage is present from the low side of the pump motor when high voltage is expected

Conditions for Setting the DTC (C0268)

    • Vehicle speed is 13 km/h (8 mph)
    • The EBCM internal relay is on
    • The pump motor is commanded ON and then OFF
    • High voltage exists from the low side of the pump motor for 100 milliseconds when the voltage is expected to be low

Action Taken When the DTC Sets

    • The ABS indicator lamp turns on
    • The ABS disables

DTCs C0267/C0268 are ignition latched DTCs, which indicates that the above actions remain true until the ignition switch is turned to OFF (even if the cause of the DTC is intermittent).

Conditions for Clearing the DTC

    • Repair the conditions responsible for setting the DTC
    • Use the Scan Tool Clear DTCs function

Diagnostic Aids

The pump motor is integral with the BPMV. Do not service the pump motor separately. A poor power/ground connection at the 2-way EBCM connector or the 2-way motor harness from the EBCM to the pump motor can cause a DTC C0267. A seized pump motor, shorted pump motor windings or a poor power/ground at the 2-way EBCM connector can cause a DTC C0268. Replace the EBCM or the BPMV if the following tests show that the pump motor EBCM internal circuits have failed.

Important: Reset the J 39200 test leads to zero prior to making any resistance measurements. Refer to the J 39200 in the user's manual.

If DTCs C0267 or C0268 are setting after replacing the EBCM, check the vehicle for an auxiliary device (winch, auxiliary battery system, etc.) which could cause a voltage spike on the battery feed to the EBCM. If the vehicle does have an auxiliary device, install a Metallic Oxide Varistor (MOV) in the battery feed circuit to the EBCM.

Test Description

The numbers below refer to the steps in the diagnostic table:

  1. This step checks for an open pump motor circuit. The pump motor circuit resistance should not be above 1.0 ohms. Reset the J 39200 test leads to zero prior to making this low resistance measurement.

  2. This step determines the resistance of the EBCM ground circuit.

  3. This step determines the ignition voltage available to the EBCM.

Step

Action

Value(s)

Yes

No

1

Was the Diagnostic System Check performed?

--

Go to Step 2

Go to Diagnostic System Check - ABS

2

  1. Turn the ignition to OFF.
  2. Disconnect the 2-way pump motor pigtail connector from the EBCM.
  3. Inspect the connector and the wiring for damage or corrosion that could result in an open circuit between the pump motor and the EBCM.

Is the connector and the wiring in good condition?

--

Go to Step 3

Go to Step 10

3

Measure the resistance between terminal A and terminal B of the 2-way pump motor pigtail connector using a J 39200 .

Reset the J 39200 test leads to zero prior to making this resistance measurement.

Is the resistance within the specified range?

0.1-1.0 ohms

Go to Step 4

Go to Step 15

4

  1. Turn the ignition to OFF.
  2. Disconnect the 2-way EBCM harness connector from the EBCM.
  3. Inspect the connector for damage or corrosion that could cause a loss of power to the EBCM.

Is the connector in good condition?

--

Go to Step 5

Go to Step 9

5

Measure the resistance between terminal B of the 2-way EBCM harness connector and the ground using a J 39200 .

Is the resistance within the specified range?

0-2 ohms

Go to Step 6

Go to Step 11

6

  1. Turn the ignition to RUN.
  2. Measure the voltage between terminal A of the 2-way EBCM harness connector and the ground using a J 39200 .

Is the voltage equal to or greater than the specified value?

10.0 V

Go to Step 8

Go to Step 7

7

Inspect the 60-amp ABS maxi-fuse.

Is this fuse open?

--

Go to Step 13

Go to Step 14

8

Malfunction is intermittent, perform the following:

  1. Inspect the 2-way EBCM harness connectors for poor terminal contact or corrosion.
  2. Inspect CKT 442 and CKT 350 for damage that could result in an intermittent open circuit.
  3. Repair any evident damage.
  4. Replace the terminals if poor contact or corrosion exists.
  5. Reconnect all the connectors.
  6. Using the Scan Tool , clear all DTCs .
  7. Test drive the vehicle above the 16 km/h (10 mph)

Does the DTC set as a current DTC?

--

Go to Step 12

Go to Diagnostic Aids

9

Repair the 2-way EBCM harness connector if necessary. Refer to Connector Repairs .

Is the repair complete?

--

Go to Diagnostic System Check - ABS

--

10

Repair the 2-way pump motor pigtail connector or wiring if necessary. Refer to Connector Repairs .

Is the repair complete?

--

Go to Diagnostic System Check - ABS

--

11

Repair the open or the high resistance in the CKT 350. Refer to Wiring Repairs

Is the repair complete?

--

Go to Diagnostic System Check - ABS

--

12

Replace the EBCM. Refer to Electronic Brake Control Module Replacement .

Is the repair complete?

--

Go to Diagnostic System Check - ABS

--

13

Repair short to ground in CKT 442. Refer to Wiring Repairs .

Is the repair complete?

--

Go to Diagnostic System Check - ABS

--

14

Repair the open or the high resistance in CKT 442. Refer to Wiring Repairs .

Is the repair complete?

--

Go to Diagnostic System Check - ABS

--

15

Replace the BPMV. Refer to Brake Pressure Modulator Valve Replacement .

Is the repair complete?

--

Go to Diagnostic System Check - ABS

--