GM Service Manual Online
For 1990-2009 cars only

DTC 53 System Voltage High L57 MFI


Object Number: 372635  Size: MF
Automatic Transmission Components Diesel
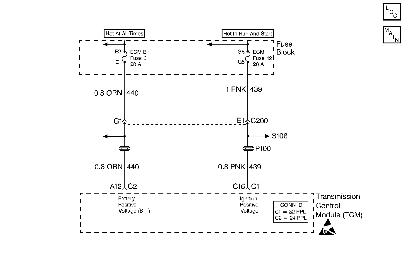
Automatic Transmission Controls Schematics TCM Control
Handling ESD Sensitive Parts Notice

Circuit Description

Ignition voltage is supplied to the transmission control module (TCM) to indicate the ignition status of the ignition switch. Battery voltage is supplied to the TCM to maintain memory of learned functions and parameters.

If the TCM detects a high ignition voltage for a long time, then DTC 53 sets.

Conditions for Running the DTC

The ignition is ON.

Conditions for Setting the DTC

    • The ignition system voltage is greater than 19.5 volts.
    • All conditions are met for 2 minutes.

Action Taken When the DTC Sets

    • The TCM commands maximum line pressure.
    • The TCM commands 2nd gear.
    • The TCM inhibits TCC.
    • The TCM stores DTC 53 in TCM history.

Conditions for Clearing the DTC

    • A scan tool clears the DTC from TCM history.
    • The TCM clears the DTC from TCM history if the vehicle completes 40 consecutive key cycles without a diagnostic fault occurring.
    • The TCM cancels the DTC default actions when the fault no longer exists and the ignition switch is OFF long enough in order to power down the TCM.

Diagnostic Aids

    • Charging the battery and jump-starting an engine may set DTC 53. If DTC sets when an accessory is operated, check for faulty connections or excessive current draw. Refer to the appropriate service manual for circuit details.
    • Check for faulty connections at the starter solenoid, fusible link, or battery cable connections.

Test Description

The numbers below refer to the step numbers on the diagnostic table.

  1. Normal battery voltage is between 12-15 volts.

  2. This determines if the Scan Tool is reading a non-actual system voltage from a faulty TCM.

DTC 53

Step

Action

Value(s)

Yes

No

1

Was the Powertrain On-Board Diagnostic (OBD) System Check performed?

--

Go to Step 2

Go to Powertrain On Board Diagnostic (OBD) System Check

2

  1. Start the vehicle.
  2. Increase the engine speed to above 1200 RPM.
  3. Using the J 39200 digital multimeter (DMM), measure the voltage across the battery terminals.

Is the voltage greater than the specified voltage?

16.0 volts

Go to Charging System Check

Go to Step 3

3

  1. Install the Scan Tool .
  2. Start the vehicle.
  3. Important:: Before clearing the DTCs, use the scan tool in order to record the Failure Records. Using the Clear Info function erases the Failure Records from the TCM.

  4. Record the Failure Records.
  5. Clear the DTC.
  6. Increase engine speed to above 1200 RPM.
  7. Observe Ignition Voltage on the Scan Tool .

Is the voltage greater than the specified voltage?

16.0 volts

Go to Step 4

Go to Diagnostic Aids

4

Replace the TCM.

Refer to Powertrain Control Module Replacement/Programming in Engine Controls.

Is the replacement complete?

--

Go to Step 5

--

5

Perform the following procedure in order to verify the repair:

  1. Select DTC.
  2. Select Clear Info.
  3. Operate the vehicle for at least 2 minutes, with the engine speed greater than 1200 RPM.
  4. Observe ignition voltage on the Scan Tool .

Is the Ignition Voltage below the specified value for the full 2 minutes?

16.0 volts

System OK

Go to Step 1