GM Service Manual Online
For 1990-2009 cars only

DTC 58 TFT Sensor Circuit Low L57 MFI


Object Number: 372638  Size: MF
Automatic Transmission Components Diesel
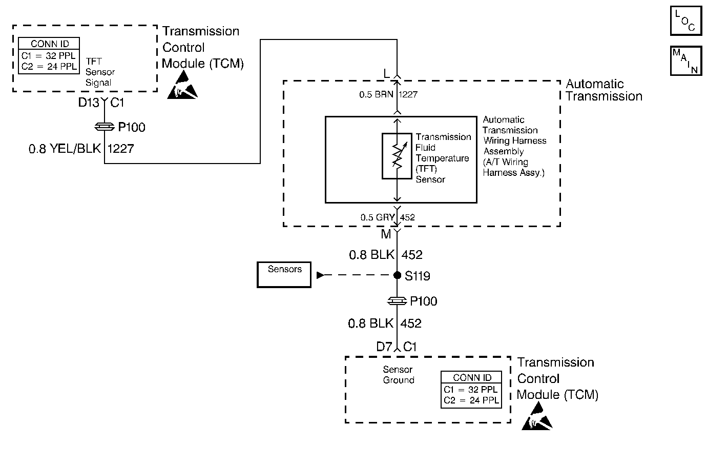
Automatic Transmission Controls Schematics TCM Control
Handling ESD Sensitive Parts Notice
Handling ESD Sensitive Parts Notice

Circuit Description

The automatic transmission fluid temperature (TFT) sensor is a thermistor that controls the signal voltage to the transmission control module (TCM). The TCM supplies a 5 volt reference signal to the sensor on circuit 1227. When the transmission fluid is cold, the sensor resistance is high and the controller will sense high signal voltage.

As the transmission fluid temperature warms to normal transmission operating temperature, the sensor resistance becomes less and the voltage decreases. With a DTC 79 also set, check the transmission cooling system.

If the TCM detects a continuous short to ground in the TFT signal circuit, then DTC 58 sets.

Conditions for Running the DTC

    • The ignition is ON.
    • System voltage is 12.0-16.0 volts.

Conditions for Setting the DTC

    • The TFT signal voltage indicates TFT greater than 151°C (306°F).
    • All conditions met for 1 second.

Action Taken When the DTC Sets

    • The TCM does not illuminate the malfunction indicator lamp (MIL).
    • The TCM defaults to 140°C for a transmission fluid temperature (causing a hot mode shift pattern to occur).
    • The TCM stores DTC 58 in TCM history.

Conditions for Clearing the DTC

    • A scan tool clears the DTC from TCM history.
    • The TCM clears the DTC from TCM history if the vehicle completes 40 consecutive key cycles without a diagnostic fault occurring.
    • The TCM cancels the DTC default actions when the fault no longer exists and the ignition switch is OFF long enough in order to power down the TCM.

Diagnostic Aids

    • With a transmission fluid overtemperature DTC 79 also set, inspect the transmission cooling system.
    • Inspect the harness routing for a potential short to ground in circuit 1227. The scan tool transmission fluid temperature display should rise steadily, then stabilize.
    • Inspect the wiring at the TCM, the transmission connector and all other circuit connecting points for the following conditions:
       - A backed out terminal
       - A damaged terminal
       - Reduced terminal tension
       - A chafed wire
       - A broken wire inside the insulation
       - Moisture intrusion
       - Corrosion
    • When diagnosing for an intermittent short or open, massage the wiring harness while watching the test equipment for a change.
    • Test the TFT sensor at the various temperatures in order to evaluate the possibility of a skewed (mis-scaled) sensor. Refer to the Temperature vs Resistance table. A skewed sensor may cause firm shifts or TCC complaints, extended shift patterns, and early TCC applies to occur.
    • Verify the customer driving habits, trailer towing, weight or towing in OVERDRIVE.
    • First, diagnose and clear any engine DTCs that are present. Then inspect for any transmission DTCs that may have reset.

Test Description

The numbers below refer to the step numbers on the diagnostic table.

  1. This step tests for a short to ground or a skewed sensor by verifying the fault still exists.

  2. This step tests for an internal fault within the transmission by creating an open.

  3. This step tests circuit 1227, of the interior wiring harness, to ground.

DTC 58

Step

Action

Value(s)

Yes

No

1

Was the Powertrain On-Board Diagnostic (OBD) System Check performed?

--

Go to Step 2

Go to Powertrain On Board Diagnostic (OBD) System Check

2

Perform the Transmission Fluid Checking Procedure.

Refer to Transmission Fluid Check .

Was the Transmission Fluid Checking Procedure performed?

--

Go to Step 3

Go to Transmission Fluid Check

3

  1. Install the Scan Tool .
  2. With the engine OFF, turn the ignition switch to the RUN position.
  3. Important:: Before clearing the DTCs, use the scan tool in order to record the Failure Records. Using the Clear Info function erases the Failure Records from the TCM.

  4. Record the Failure Records.
  5. Clear the DTC.

Does the Scan Tool display transmission fluid temperature greater than the specified value?

151°C (306°F)

Go to Step 4

Go to Diagnostic Aids

4

  1. Turn the ignition switch OFF.
  2. Disconnect the transmission 20-way harness connector (multiple DTCs will set).
  3. Turn the ignition switch to the RUN position.

Does the Scan Tool display a transmission fluid temperature greater than the specified value?

150°C (305°F)

Go to Step 8

Go to Step 5

5

  1. Turn the ignition switch OFF.
  2. Install the J 39775 jumper harness on the transmission side of the 20-way connector.
  3. Use the J 39200 digital multimeter (DMM) and the J 35616-A connector test adapter kit to measure the resistance between terminals L and M.
  4. Refer to Electronic Component Description .

Is the resistance within specified values?

16 k ohms at 10°C (50°F) to 133 k ohms at 110°C (230°F)

Go to Step 6

Go to Step 7

6

Measure the resistance between terminal L and a good ground on the transmission case.

Is the resistance less than the specified value?

50 kohms

Go to Step 7

Go to Diagnostic Aids

7

Replace the automatic transmission wiring harness assembly.

Refer to A/T Wiring Harness Replacement.

Is the replacement complete?

--

Go to Step 11

--

8

Inspect circuit 1227 (YEL/BLK) for a short to ground.

Refer to General Electrical Diagnosis in Wiring Systems.

Was a condition found?

--

Go to Step 9

Go to Step 9

9

Repair the wiring as necessary.

Refer to Wiring Repairs in Wiring Systems.

Is the repair complete?

--

Go to Step 11

--

10

Replace the TCM.

Refer to Powertrain Control Module Replacement/Programming in Engine Controls.

Is the replacement complete?

--

Go to Step 11

--

11

Perform the following procedure in order to verify the repair:

  1. Select DTC.
  2. Select Clear Info.

Is the transmission fluid temperature less than 150°C (305°F) for 10 seconds?

--

System OK

Go to Step 1