GM Service Manual Online
For 1990-2009 cars only

DTC P0503 Vehicle Speed Sensor (VSS) Circuit Intermittent L29/L31/L35


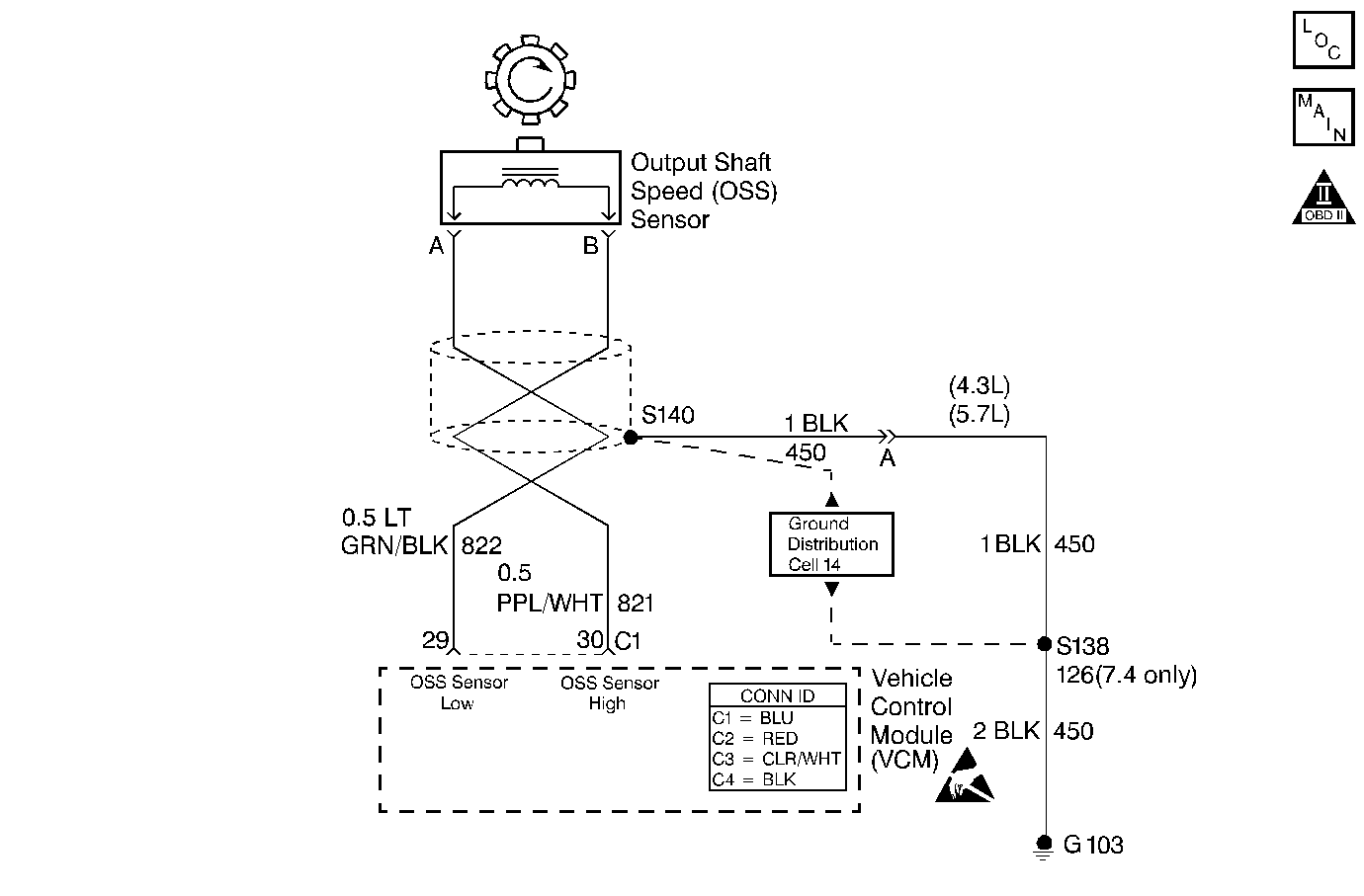
Object Number: 369875  Size: MF
Automatic Transmission Components Gasoline
Automatic Transmission Controls Schematics VCM Control
OBD II Symbol Description Notice
Handling ESD Sensitive Parts Notice

Circuit Description

The output shaft speed sensor (OSS sensor), which is a permanent magnet (PM) generator, provides the vehicle speed information to the vehicle control module (VCM). The PM generator produces a pulsing AC voltage as the transmission speed sensors rotor teeth pass through the sensor's magnetic field. The AC voltage level and the number of pulses increase as the speed of the vehicle increases. The VCM then converts the pulsing voltage to a digital signal for vehicle speed. The vehicle speed is used for engine and transmission calculations.

If the VCM detects a low vehicle speed and there is a high engine speed in a drive gear range, DTC P0503 sets. DTC P0503 is a type D DTC. For California emissions, DTC P0503 is a type B DTC.

Conditions for Running the DTC

    • No TFP manual valve position switch DTC P1810.
    • No TFP manual valve position switch changes in less than 10 seconds.
    • The A/T ISS is greater than 1500 RPM.
    • The engine is running more than 475 RPM for more than 7 seconds.
    • No VSS increase greater than 250 RPM within 2 seconds.

Conditions for Setting the DTC

    • The OSS RPM has dropped more than 1000 RPM for at least 4 seconds
    • The gear range is not PARK or NEUTRAL.

Action Taken When the DTC Sets

    • For California emissions, the VCM illuminates the malfunction indicator lamp (MIL).
    • The VCM commands maximum line pressure.
    • The VCM freezes the shift adapts.
    • The VCM defaults a calculated output speed value by using the ISS values.
    • The VCM stores DTC P0503 in VCM history.

Conditions for Clearing the MIL/DTC

    • For California emissions, the VCM turns OFF the MIL during the third consecutive trip in which the diagnostic test runs and passes.
    • A scan tool clears the DTC from VCM history.
    • For California emissions, the VCM clears the DTC from VCM history if the vehicle completes 40 consecutive warm-up cycles without an emission related diagnostic fault occurring.
    • For Federal emissions, the VCM clears the DTC from VCM history if the vehicle completes 40 consecutive warm-up cycles without a non-emission related diagnostic fault occurring.
    • The VCM cancels the DTC default actions when the fault no longer exists and the ignition switch is OFF long enough in order to power down the VCM.

Diagnostic Aids

    • DTC P0503 sets when the VCM detects an OSS loss.
    • Inspect the wiring at the VCM, the OSS sensor connector and all other circuit connecting points for the following conditions:
       - A backed out terminal
       - A damaged terminal
       - Reduced terminal tension
       - A chafed wire
       - A broken wire inside the insulation.
       - Moisture intrusion
       - Corrosion
    • When diagnosing for an intermittent short or open, massage the wiring harness while watching the test equipment for a change.
    • The vehicle may need to be driven to duplicate the intermittent condition.
    • First diagnose and clear any engine DTCs or TP sensor codes. Then inspect for any transmission DTCs that may have reset.

Test Description

The numbers below refer to the step numbers on the diagnostic table.

  1. This step tests the integrity of the OSS sensor.

  2. This step tests for voltage in the 822 low circuit.

  3. This step tests the 5-volt and ground circuit of the OSS sensor circuit.

  4. This step tests the OSS sensor and the circuit.

DTC P0503 Vehicle Speed Sensor CKT Intermittent (Gas Only)

Step

Action

Value(s)

Yes

No

1

Was the Powertrain On-Board Diagnostic (OBD) System Check performed?

--

Go to Step 2

Go to Powertrain On Board Diagnostic (OBD) System Check (4.3L) or Powertrain On Board Diagnostic (OBD) System Check (5.7L) or Powertrain On Board Diagnostic (OBD) System Check (7.4L)

2

  1. Install the Scan Tool .
  2. With the engine OFF, turn the ignition switch to the RUN position.
  3. Important: Before clearing the DTCs, use the scan tool in order to record the Freeze Frame and Failure Records. Using the Clear Info function erases the Freeze Frame and Failure records from the VCM.

  4. Record the Freeze Frame and Failure Records.
  5. Clear the DTC.
  6. Raise and support the drive axle assembly.
  7. Select Scan Tool Transmission OSS.
  8. Start the engine and place the transmission selector in D3 range.
  9. With the drive wheels rotating, slowly accelerate to 2000 engine RPM and hold.

Does the Transmission OSS drop or fluctuate more than the specified value?

1000 RPM

Go to Step 3

Go to Diagnostic Aids

3

  1. Turn the ignition switch to the OFF position.
  2. Disconnect the OSS sensor harness connector from the OSS sensor.
  3. Using a J 39200 digital multimeter (DMM) on AC voltage scale, and J 35616 connector test adapter kit, connect the J 39200 DMM to terminals A and B on the OSS sensor.
  4. Turn the ignition switch to the RUN position and start the engine.
  5. Place the transmission selector in D3 range.
  6. With the drive wheels rotating, slowly accelerate to 2000 engine RPM and hold.

Does the DMM voltage drop or fluctuate at 2000 RPM?

--

Go to Step 11

Go to Step 4

4

  1. With the engine OFF, turn the ignition switch to the RUN position.
  2. Using the J 39200 DMM on DC volts, connected to a good ground, measure the voltage at cavity A of the OSS sensor connector.

Is the voltage within the specified value and steady?

4.0-5.1 volts DC

Go to Step 5

Go to Step 6

5

With the ignition switch in the RUN position, measure the voltage at cavity B of the OSS sensor connector.

Is the voltage less than the specified value?

0.2 volts

Go to Step 7

Go to Step 12

6

Is the voltage reading in Step 4 greater than the specified value?

5.1 volts

Go to Step 12

Go to Step 8

7

  1. Connect the J 39200 DMM leads to cavity A and cavity B of the OSS sensor connector.
  2. With the ignition switch in the RUN position, record the voltage.

Is the voltage within the specified value and steady?

4.0-5.1 volts DC

Go to Step 13

Go to Step 9

8

  1. Inspect circuit 821 (PPL/WHT) for high resistance or an open circuit.
  2. Refer to General Electrical Diagnosis in Wiring Systems.

  3. Repair the circuit if necessary.
  4. Refer to Wiring Repairs in Wiring Systems.

Was the condition found?

--

Go to Step 18

Go to Step 10

9

  1. Inspect circuit 822 (GRN/BLK) for high resistance or an open circuit.
  2. Refer to General Electrical Diagnosis in Wiring Systems.

  3. Repair the circuit if necessary.
  4. Refer to Wiring Repairs in Wiring Systems.

Was the condition found?

--

Go to Step 18

--

10

  1. Inspect circuit 821 (PPL/WHT) for a short to ground.
  2. Refer to General Electrical Diagnosis in Wiring Systems.

  3. Repair the circuit if necessary.
  4. Refer to Wiring Repairs in Wiring Systems.

Was the condition found?

--

Go to Step 18

Go to Step 13

11

Using the J 39200 DMM, measure the resistance between terminals A and B of the OSS sensor.

Is the resistance within the specified value?

1042-2088ohms

Go to Step 15

Go to Step 17

12

  1. Inspect circuits 821 (PPL/WHT) and 822 (GRN/BLK) for a short to B+ voltage or shorted together.
  2. Refer to General Electrical Diagnosis in Wiring Systems.

  3. Repair the circuits if necessary.
  4. Refer to Wiring Repairs in Wiring Systems.

Was a shorted condition found?

--

Go to Step 18

Go to Step 14

13

  1. Reconnect the OSS sensor connector to the OSS sensor.
  2. With the ignition OFF disconnect the C1 (blue) VCM connector from the VCM.
  3. Connect the J 39200 DMM to terminals C1-29 and C1-30.
  4. While rotating the rear wheels by hand and ensuring that the driveshaft is turning, measure the output voltage with the DMM on AC volts.

Is the voltage greater than the specified value?

0.5 volts AC

Go to Step 14

--

14

  1. Inspect the VCM pins for corrosion or poor tension.
  2. Inspect the connector terminals for corrosion or poor tension.

Was a condition found?

--

Go to Step 18

Go to Step 16

15

  1. Remove the OSS sensor.
  2. Refer to Vehicle Speed Sensor Replacement .

  3. Inspect the output shaft speed sensor rotor for looseness, damage or misalignment.
  4. Refer to Unit Repair.

Was the condition found?

--

Go to Step 18

Go to Step 17

16

Replace the VCM.

Refer to VCM Replacement/Programming (4.3L) or VCM Replacement/Programming (5.7L) or VCM Replacement/Programming (7.4L) in Engine Controls.

Is the replacement complete?

--

Go to Step 18

--

17

Replace the OSS sensor.

Refer to Vehicle Speed Sensor Replacement .

Is the replacement complete?

--

Go to Step 18

--

18

Perform the following procedure in order to verify the repair:

  1. Select DTC.
  2. Select Clear Info.
  3. Operate the vehicle so that the transmission OSS is greater than 500 RPM with no RPM change greater than 450 for one second.
  4. Select Specific DTC.
  5. Enter DTC P0503.

Has the test run and passed?

--

System OK

Go to Step 1