GM Service Manual Online
For 1990-2009 cars only

DTC P0723 Output Speed Sensor Circuit Intermittent L57/L65 EFI


Object Number: 370945  Size: LF
Automatic Transmission Components Diesel
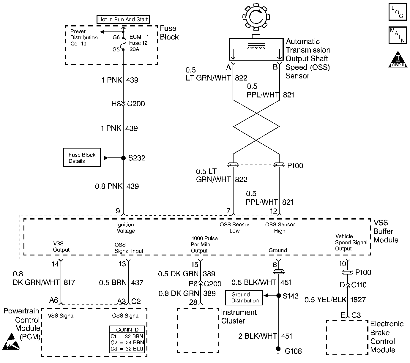
Automatic Transmission Controls Schematics PCM Control
OBD II Symbol Description Notice
Handling ESD Sensitive Parts Notice

Circuit Description

The speed sensor circuit consists of a magnetic induction type sensor, which is the output shaft speed (OSS) sensor, a vehicle speed sensor (VSS) buffer module, and wiring. Gear teeth pressed onto the output shaft carrier assembly induce an alternating voltage into the sensor. This signal transmits to the VSS buffer module. The VSS buffer module compensates for various final drive ratios. The VSS buffer module also converts the alternating current (AC) OSS signal into a 40 pulse per revolution (PPR) 5-volt DC square wave form signal on circuit 437 to indicate transmission output speed.

If the PCM detects an unrealistically large change in the output shaft speed (OSS) sensor reading, then DTC P0723 sets. DTC P0723 is a type B DTC.

Conditions for Running the DTC

    • No TFP manual valve position switch DTC P1810.
    • No TFP manual valve position switch change for greater than 6 seconds.
    • The engine must be running more than 475 RPM for at least 7 seconds.
    • System voltage is 8.0-18.0 volts.

Conditions for Setting the DTC

The OSS RPM decrease is greater than 1000 RPM while in a DRIVE gear for at least 3.5 seconds.

Action Taken When the DTC Sets

    • The PCM illuminates the malfunction indicator lamp (MIL).
    • The PCM commands to maximum line pressure.
    • The PCM freezes shift adapts.
    • The PCM defaults to the calculated output speed value using the ISS sensor values.
    • The PCM stores DTC P0723 in PCM history.

Conditions for Clearing the MIL/DTC

    • For Federal and California emissions, the PCM turns OFF the MIL during the third consecutive trip in which the diagnostic test runs and passes.
    • A scan tool clears the DTC from PCM history.
    • For Federal and California emissions, the PCM clears the DTC from PCM history if the vehicle completes 40 consecutive warm-up cycles without an emission related diagnostic fault occurring.
    • For vehicles equal to or greater than 15,000 lbs GVW, the PCM clears the DTC from PCM history if the vehicle completes 40 consecutive warm-up cycles without a non-emission related diagnostic fault occurring.
    • The PCM cancels the DTC default actions when the fault no longer exists and the ignition switch is OFF long enough in order to power down the PCM.

Diagnostic Aids

    • Inspect the wiring at the PCM, the A/T OSS, the VSS buffer module connectors and all other circuit connecting points for the following conditions:
       - A backed out terminal
       - A damaged terminal
       - Reduced terminal tension
       - A chafed wire
       - A broken wire inside the insulation
       - Moisture intrusion
       - Corrosion
    • It may be necessary to drive the vehicle.
    • When diagnosing for an intermittent short or open, massage the wiring harness while watching the test equipment for a change.

Test Description

The numbers below refer to the step numbers on the diagnostic table.

  1. This step verifies the fault condition.

  2. This step verifies the OSS sensor and circuit output to the VSS buffer module.

  3. This step tests the voltage supply to the VSS buffer module.

  4. This step tests the integrity of the ground circuit.

P0723

Step

Action

Value(s)

Yes

No

1

Was the Powertrain On-Board Diagnostic (OBD) System Check performed?

--

Go to Step 2

Go to Powertrain On Board Diagnostic (OBD) System Check

2

  1. Install the Scan Tool .
  2. With the engine OFF, turn the ignition switch to the RUN position.
  3. Important: Before clearing the DTCs, use the scan tool in order to record the Freeze Frame and Failure Records. Using the Clear Info function erases the Freeze Frame and Failure Records from the PCM.

  4. Record the Freeze Frame and Failure Records.
  5. Clear the DTC.
  6. Raise the drive wheels and support the axle assembly.
  7. Start the engine and place the transmission in D3 range.
  8. With the drive wheels rotating, slowly accelerate to 2,000 RPM and hold.

Does the transmission OSS fluctuate more than the specified value?

1,000 RPM

Go to Step 3

Go to Diagnostic Aids

3

  1. Turn the ignition OFF.
  2. Disconnect the OSS sensor connector from the OSS sensor.
  3. Connect a J 39200 digital multimeter (DMM) on AC voltage scale between terminals A and B on the OSS sensor.
  4. Start the engine.
  5. Place the transmission in D3 range.
  6. With the wheels rotating, slowly accelerate to 2,000 engine RPM and hold.

Does the voltage fluctuate at 2000 RPM?

--

Go to Step 17

Go to Step 4

4

  1. Turn the ignition OFF.
  2. Reconnect the OSS sensor harness to the sensor.
  3. Disconnect the VSS buffer module harness connector from the component.
  4. Turn the ignition to the RUN position.
  5. Set the J 39200 DMM on AC volts.
  6. Connect the J 39200 DMM between terminals 7 and 12 of the VSS buffer module harness connector.
  7. Start the engine.
  8. Place the transmission in D3 range.
  9. With the wheels rotating, slowly accelerate to 2,000 engine RPM and hold steady.

Does the voltage fluctuate at 2,000 RPM?

Greater than 2.0 volts AC

Go to Step 5

Go to Step 7

5

Inspect circuit 821 (PPL/WHT) and circuit 822 (LT GRN/WHT) for an intermittent open. Refer to General Electrical Diagnosis in Wiring Systems.

Was the condition found?

--

Go to Step 12

Go to Step 6

6

Inspect circuit 821 (PPL/WHT) and circuit 822 (LT GRN/WHT) for an intermittent short together or a short to ground. Refer to General Electrical Diagnosis in Wiring Systems.

Was the condition found?

--

Go to Step 12

--

7

  1. With the engine OFF, turn the ignition switch to the RUN position.
  2. Select DC volts, and measure ignition voltage at terminal 9 of the VSS buffer module harness.

Is the voltage greater than the specified value?

10.5 volts DC

Go to Step 9

Go to Step 8

8

Repair the intermittent open or high resistance in circuit 439 (PNK). Refer to Wiring Repairs in Wiring Systems.

Is the repair complete?

--

Go to Step 21

--

9

  1. Connect the J 39200 DMM between terminals 8 and 9 of the VSS buffer module harness connector. Set the J 39200 DMM on DC volts.
  2. Turn the ignition to the RUN position.

Is the voltage greater than the specified value?

10.5 volts DC

Go to Step 11

Go to Step 10

10

Repair the open or high resistance in circuit 451 (BLK/WHT) (ground). Refer to Wiring Repairs in Wiring Systems.

Is the repair complete?

--

Go to Step 21

--

11

  1. With the engine OFF, turn the ignition to the RUN position.
  2. Using the J 39200 DMM, measure the voltage at the VSS buffer connector terminal 13

Is the voltage steady and within the specified value?

4.8-5.2 volts DC

Go to Step 13

Go to Step 14

12

Repair the short in circuit 821 (PPL/WHT) and circuit 822 (LT GRN/WHT).

Refer to Wiring Repairs in Wiring Systems.

Is the repair complete?

--

Go to Step 21

--

13

  1. Turn the ignition to the OFF position.
  2. Reconnect the VSS buffer module harness to the VSS buffer module.
  3. Set the J 39200 DMM on the DC volts scale.
  4. Back probe terminal 13 of the VSS buffer harness connector with the J 39200 DMM.
  5. Start the engine.
  6. Place the transmission in a D3 range.
  7. With the wheels rotating, slowly accelerate the engine to 2,000 RPM and hold.

Is the voltage reading steady within the specified value?

1.5-3.5 volts DC

Go to Step 19

Go to Step 18

14

Is the voltage from step 11 greater than the specified value?

5.2 Volts DC

Go to Step 15

Go to Step 16

15

Inspect for a short to power in circuit 437 (BRN).

Refer to General Electrical Diagnosis in Wiring Systems.

Was the condition found?

--

Go to Step 21

Go to Step 20

16

Inspect circuit 437 (BRN) for continuity or short to ground.

Refer to General Electrical Diagnosis in Wiring Systems.

Was the condition found?

--

Go to Step 21

Go to Step 19

17

Replace the OSS sensor.

Refer to Vehicle Speed Sensor Replacement .

Is the replacement complete?

--

Go to Step 21

--

18

Replace the VSS buffer module.

Is the replacement complete?

--

Go to Step 21

--

19

Inspect the PCM terminals and connector for reduced terminal tension or corrosion.

Was the condition found?

--

Go to Step 21

Go to Step 20

20

Replace the PCM.

Refer to Powertrain Control Module Replacement/Programming in Engine Controls.

Is the replacement complete?

--

Go to Step 21

--

21

Repair the circuit as necessary.

Refer to Wiring Repairs in Wiring Systems.

Is the repair complete?

--

Go to Step 22

--

22

Perform the following procedure in order to verify the repair:

  1. Select DTC.
  2. Select Clear Info.
  3. Operate the vehicle under the following conditions:
  4. • Drive the vehicle in D3.
    • The PCM must see a transmission OSS greater than 500 RPM and no change greater than 450 RPM for 1 second.
  5. Select Specific DTC
  6. Enter DTC P0723.

Has the test run and passed?

--

System OK

Go to Step 1