GM Service Manual Online
For 1990-2009 cars only

DTC 37 TCC Brake Switch Low Input L57 MFI


Object Number: 372629  Size: MF
Automatic Transmission Components Diesel
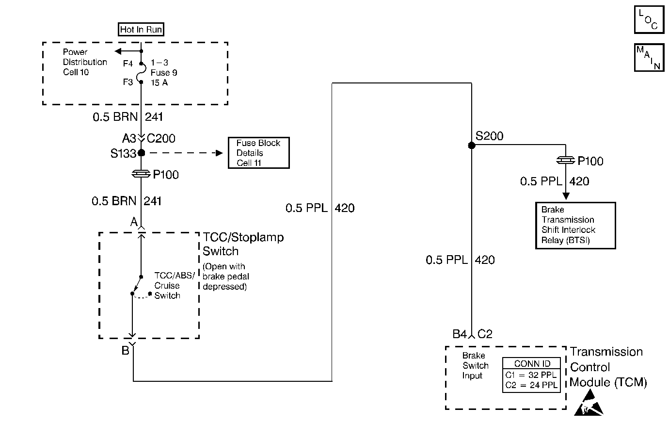
Automatic Transmission Controls Schematics TCM Control
Handling ESD Sensitive Parts Notice

Circuit Description

The TCC stoplamp switch indicates the brake pedal status. The normally-closed TCC stoplamp switch supplies a B+ signal on circuit 420 to the transmission control module (TCM). The signal voltage circuit opens when the brakes are applied. The TCM uses the open signal voltage circuit in order to de-energize the torque converter clutch pulse width modulation (TCC PWM) solenoid valve when the brakes are applied.

If the TCM detects an open TCC stoplamp switch circuit during accelerations, then DTC 37 sets.

Conditions for Running the DTC

The following sequence of events occurs:

    • The vehicle speed is less than 8 km/h (5 mph) for 6 seconds.
    • Then vehicle speed is 8-40 km/h (5-25 mph) for 6 seconds.
    • Then the vehicle speed is greater than 40 km/h (25 mph) for 6 seconds.

Conditions for Setting the DTC

    • The TCM detects an open TCC stoplamp switch/circuit (0 volts).
    • All conditions are met for seven occurrences.

Action Taken When the DTC Sets

    • The TCM does not illuminate the malfunction indicator lamp (MIL).
    • The TCM inhibits TCC.
    • The TCM inhibits 4th gear if in hot mode.
    • The TCM stores DTC 37 in TCM history.

Conditions for Clearing the DTC

    • A scan tool clears the DTC from TCM history.
    • The TCM clears the DTC from TCM history if the vehicle completes 40 consecutive key cycles without a diagnostic fault occurring.
    • The TCM cancels the DTC default actions when the fault no longer exists and the ignition switch is OFF long enough in order to power down the TCM.

Diagnostic Aids

    • Inspect the wiring at the TCM, the TCC stoplamp switch and all other circuit connecting points for the following conditions:
       - A backed out terminal
       - A damaged terminal
       - Reduced terminal tension
       - A chafed wire
       - A broken wire inside the insulation
       - Moisture intrusion
       - Corrosion
    • When diagnosing for an intermittent short or open, massage the wiring harness while watching the test equipment for a change.
    • Ask about the customer's driving habits and any unusual driving conditions he or she might have, such as stop and go traffic or expressway driving.
    • Inspect the brake switch for proper mounting and adjustment.
    • Inspect for the most current calibration ID and the latest bulletins.

Test Description

The numbers below refer to the step numbers on the diagnostic table.

  1. This step tests for TCC stoplamp switch voltage to the TCM connector.

  2. This step isolates the TCC stoplamp switch as a source for setting the DTC.

  3. This step tests for a short to ground in circuit 241 (ignition voltage) to the TCC stoplamp switch.

  4. This step tests for a short to ground in circuit 420, from the TCC stoplamp switch to the TCM.

  5. This step isolates the TCM as a source for causing the fuse to open.

DTC 37

Step

Action

Value(s)

Yes

No

1

Was the Powertrain On-Board Diagnostic (OBD) System Check performed?

--

Go to Step 2

Go to Powertrain On Board Diagnostic (OBD) System Check

2

  1. Install the Scan Tool .
  2. With the engine OFF, turn the ignition switch to the RUN position.
  3. Important:: Before clearing the DTCs, use the scan tool in order to record the Failure Records. Using the Clear Info function erases the Failure Records from the TCM.

  4. Record the Failure Records.
  5. Clear the DTC.
  6. Select the TCC Brake Switch on the Scan Tool .
  7. Do not apply the brake pedal.

Does the Scan Tool TCC Brake Switch indicate CLOSED, when the brake pedal is not applied?

--

Go to Diagnostic Aids

Go to Step 3

3

  1. Remove the 1-3 (#9) fuse.
  2. Inspect the 1-3 fuse for an open.

Refer to General Electrical Diagnosis in Wiring Systems.

Is the fuse open?

--

Go to Step 10

Go to Step 4

4

  1. Turn the ignition switch to the OFF position.
  2. Disconnect the C2 connector from the TCM. (Additional DTCs may set.)
  3. Connect a 12 volt test lamp to a good ground.
  4. Using the J 35616-A connector test adapter kit and the 12 volt test lamp connected to ground, probe terminal C2-B4.
  5. Re-install the fuse.
  6. Turn the ignition switch to the RUN position.
  7. Do not apply the brake pedal.

Is the test lamp on?

--

Go to Step 15

Go to Step 5

5

  1. Turn the ignition switch to the OFF position.
  2. Remove the connector from the TCC/Stoplamp switch.
  3. Use the J 39200 digital multimeter (DMM) to measure B+ voltage at terminal A of the TCC stoplamp switch connector.
  4. Turn the ignition switch to the RUN position.

Is B+ voltage indicated?

10.0-13.0 volts

Go to Step 7

Go to Step 6

6

Inspect circuit 241 (BRN) for an open.

Refer to General Electrical Diagnosis in Wiring Systems.

Was a condition found?

--

Go to Step 16

--

7

  1. Turn the ignition switch to the RUN position.
  2. Install a fused jumper wire from terminal B to terminal A of the TCC/Stoplamp switch connector.
  3. Probe the TCM connector terminal C2-B4 with the test lamp.

Is the test lamp on?

--

Go to Step 9

Go to Step 8

8

Inspect circuit 420 (PPL) for an open.

Refer to General Electrical Diagnosis in Wiring Systems.

Was a condition found?

--

Go to Step 16

--

9

Replace the TCC/stoplamp switch.

Refer to Stoplamp Switch Replacement in Hydraulic Brakes.

Is the replacement complete?

--

Go to Step 17

--

10

  1. Turn the ignition switch to the RUN position.
  2. Apply, and hold, the brake pedal.
  3. Install a new fuse while keeping the brake pedal applied.

Does the fuse open with the brake pedal applied?

--

Go to Step 11

Go to Step 12

11

Inspect circuit 241 (BRN) for a short to ground.

Refer to General Electrical Diagnosis in Wiring Systems.

Was a condition found?

--

Go to Step 16

--

12

With the ignition switch in the RUN position, release the brake pedal.

Does the fuse open when the brake pedal is released?

--

Go to Step 13

Go to Diagnostic Aids

13

  1. Turn the ignition switch to the OFF position.
  2. Disconnect the TCM (24 PIN) connector C2. (Additional DTCs may set).
  3. Turn the ignition switch to the RUN position.
  4. Install a new fuse.
  5. Do not apply the brake pedal.

Does the fuse open?

--

Go to Step 14

Go to Step 15

14

Inspect circuit 420 (PPL) for a short to ground.

Refer to General Electrical Diagnosis in Wiring Systems.

Was a condition found?

--

Go to Step 16

--

15

Replace the TCM.

Refer to Powertrain Control Module Replacement/Programming in Engine Controls.

Is the replacement complete?

--

Go to Step 17

--

16

Repair the wiring as necessary.

Refer to Wiring Repairs in Wiring Systems.

Is the repair complete?

--

Go to Step 17

--

17

Perform the following procedure in order to verify the repair:

  1. Select DTC.
  2. Select Clear Info.
  3. Operate the vehicle under the following conditions:
  4. 3.1. With the engine OFF, turn the ignition switch to RUN position.
    3.2. The brake pedal is not applied.
    3.3. Select TCC Brake Switch on the Scan Tool .
    3.4. Observe the Scan Tool TCC Brake Switch status.
    3.5. Apply the brake pedal.

Does the TCC brake switch indicate CLOSED when the brake pedal is not applied, then indicate OPEN when the brake pedal is applied?

--

System OK

Go to Step 1