GM Service Manual Online
For 1990-2009 cars only

Rack Piston and Worm Shaft Replacement - Off Vehicle 708 Model

Disassembly Procedure

Tools Required

J 21552 Rack Piston Arbor


    Object Number: 322017  Size: SH
  1. Remove the pitman shaft.
  2. To remove the side cover; refer to Steering Gear Pitman Shaft and Housing Cover Replacement - Off Vehicle .
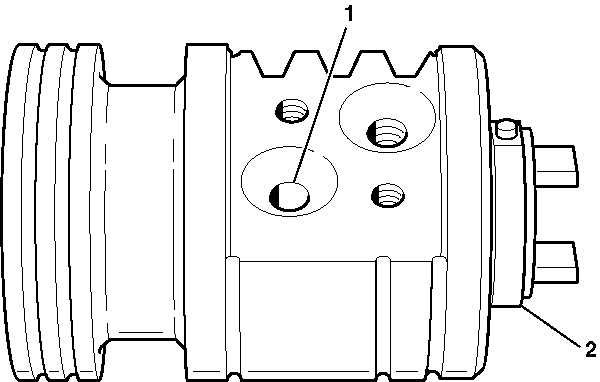
  3. To remove the steering gear housing end plug (1); refer to Steering Gear Housing Plug Replacement - Off Vehicle .
  4. Turn the stub shaft counterclockwise until the rack piston (2) begins to come out of the steering gear housing.
  5. Remove the rack piston plug.
  6. Insert J 21552 into the bore of the rack piston (2).
  7. Hold J 21552 tightly against the worm shaft while turning the stub shaft counterclockwise. Turning the stub shaft forces the rack piston (2) onto J 21552 . The rack piston balls remain in place.

  8. Object Number: 322087  Size: SH
  9. Remove the following items as an assembly from the steering gear housing (9):
  10. • The rack piston (4)
    • The rack piston balls (5)
    • J 21552
  11. To remove the valve; refer to Steering Gear Valve Replacement - Off Vehicle .
  12. Remove the worm shaft (14).
  13. Remove the thrust bearing (12).
  14. Remove the flat races (11).
  15. Remove J 21552 from the rack piston (4).
  16. Remove the rack piston balls (5).
  17. Remove the following items from the rack piston (4):
  18. 15.1. The screws (8)
    15.2. The clamp (7)
    15.3. The ball guide (6)
  19. Remove the teflon ring (2).
  20. Remove the O-ring seal (3).
  21. Clean all of the disassembled parts.
  22. Inspect all of the disassembled parts for wear.
  23. Replace the parts if necessary.

Assembly Procedure

Tools Required

    • J 8947 Rack Piston Teflon Ring Compressor
    • J 21552 Rack Piston Arbor

    Object Number: 322018  Size: SH
  1. Lubricate the following items with power steering fluid while installing to the rack piston (4):
  2. 1.1. The O-ring seal (3)
    1.2. The teflon ring (2)
  3. Install the worm shaft (14) to the rack piston (4) outside of the steering gear housing (9).

  4. Object Number: 322019  Size: SH

    Important: Reinstall all of the rack piston balls in the rack piston. Improper rack piston ball installation may result in personal injury.

  5. Fully seat the worm shaft to the rack piston.
  6. Align the worm shaft spiral groove with the rack piston ball return guide hole (1).
  7. Lubricate the rack piston balls with power steering fluid.
  8. Insert the rack piston balls through the ball return guide hole (1) while turning worm shaft (2) counterclockwise in order to install the rack piston balls into the rack piston.

  9. Object Number: 322022  Size: SH
  10. Install the remaining rack piston balls (3) into the ball guide (1) using grease at each end (2) in order to retain the rack piston balls (3).

  11. Object Number: 322024  Size: SH
  12. Install the ball guide (5) to the rack piston (4).
  13. Install the ball guide clamp (6).
  14. Install the screws (7).
  15. Tighten
    Tighten the screws (7) to 58 N·m (43 lb in).

  16. Insert J 21552 into the bore of the rack piston while turning the worm shaft counterclockwise. The turning of the worm shaft forces the rack piston onto J 21552 . The rack piston balls remain in place.

  17. Object Number: 322025  Size: SH
  18. Install the flat races (2) (4) and the thrust bearing (3) onto the worm shaft (1).

  19. Object Number: 322026  Size: SH
  20. Install the worm shaft (4) to the steering gear housing (3).
  21. To install the valve; refer to Steering Gear Valve Replacement - Off Vehicle .
  22. Install the rack piston (2) to the worm shaft (4) from J 21552 , using J 8947 to compress the seals.
  23. Important: Reinstall all of the rack piston balls into the rack piston. Improper rack piston ball installation may result in personal injury.

  24. Hold J 21552 tightly against the worm shaft (4).
  25. Turn the stub shaft clockwise until the rack piston is seated on the worm shaft.
  26. Install the rack piston plug.
  27. Tighten
    Tighten the rack piston plug to 150 N·m (111 lb ft).

  28. To install the steering gear housing end plug (1); refer to Steering Gear Housing Plug Replacement - Off Vehicle .
  29. Install the pitman shaft.
  30. To install the side cover; refer to Steering Gear Pitman Shaft and Housing Cover Replacement - Off Vehicle .
  31. To adjust the steering gear; refer to Steering Gear Pitman Shaft Over-Center Preload Adjustment - Off Vehicle .

Rack Piston and Worm Shaft Replacement - Off Vehicle Saginaw - 710 Model

Disassembly Procedure

Tools Required

J 21552 Rack Piston Arbor


    Object Number: 446903  Size: SH
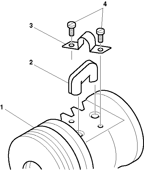
  1. Remove the pitman shaft.
  2. Remove the side cover. Refer to Steering Gear Pitman Shaft and Housing Cover Replacement - Off Vehicle .
  3. Remove the steering gear housing end plug. Refer to Steering Gear Housing Plug Replacement - Off Vehicle .
  4. Turn the stub shaft (2) counterclockwise until the rack piston begins to come out of the steering gear housing.
  5. Remove the rack piston plug.
  6. Insert J 21552 into the bore of the rack piston.
  7. Hold J 21552 tightly against the worm shaft while turning the stub shaft (2) counterclockwise. Turning the stub shaft (2) forces the rack piston onto J 21552 . The rack piston balls remain in place.

  8. Object Number: 446937  Size: SH
  9. Remove the following items as an assembly from the steering gear housing (2):
  10. • The rack piston (1)
    • The rack piston balls
    • J 21552
  11. Remove the valve. Refer to Steering Gear Thrust Support Replacement - Off Vehicle (Saginaw - 710 Model) .

  12. Object Number: 322025  Size: SH
  13. Remove the worm shaft (1).
  14. Remove the roller thrust bearing (3).
  15. Remove the flat races (2) (4).
  16. Remove J 21552 from the rack piston.

  17. Object Number: 446940  Size: SH
  18. Remove the rack piston balls.
  19. Remove the following items from the rack piston (1):
  20. • The screws (4)
    • The clamp (3)
    • The ball guide (2)
  21. Remove the valve body ring.
  22. Remove the O-ring seal.
  23. Clean all of the disassembled parts.
  24. Inspect all of the disassembled parts for wear.
  25. Replace the parts if necessary.

Assembly Procedure

Tools Required

    • J 8947 Rack Piston Valve Body Ring Compressor
    • J 21552 Rack Piston Arbor

    Object Number: 446942  Size: SH
  1. Lubricate the following items with power steering fluid while installing to the rack piston (2):
  2. • The O-ring seal (1)
    • The valve body ring

    Object Number: 446996  Size: SH
  3. Install the worm shaft (2) to the rack piston outside of the steering gear housing.
  4. Fully seat the worm shaft (2) to the rack piston.
  5. Align the worm shaft (2) spiral groove with the rack piston ball return guide hole (1).
  6. Important: Reinstall all of the rack piston balls in the rack piston. Improper rack piston ball installation may result in personal injury. The black rack piston balls are smaller than the silver rack piston balls. Install the black and the silver rack piston balls alternately into the rack piston and the ball guide to maintain the rack piston to the worm shaft preload.

  7. Lubricate the rack piston balls with power steering fluid.
  8. Insert the rack piston balls through the ball return guide hole (1) while turning worm shaft (2) counterclockwise in order to install the rack piston balls into the rack piston.

  9. Object Number: 322022  Size: SH
  10. Install the remaining rack piston balls (3) into the ball guide (1) use grease (2) at each end in order to retain the rack piston balls.

  11. Object Number: 446940  Size: SH

    Notice: Use the correct fastener in the correct location. Replacement fasteners must be the correct part number for that application. Fasteners requiring replacement or fasteners requiring the use of thread locking compound or sealant are identified in the service procedure. Do not use paints, lubricants, or corrosion inhibitors on fasteners or fastener joint surfaces unless specified. These coatings affect fastener torque and joint clamping force and may damage the fastener. Use the correct tightening sequence and specifications when installing fasteners in order to avoid damage to parts and systems.

  12. Install the ball guide (2) to the rack piston (1).
  13. Install the ball guide clamp (3).
  14. Install the screws (4).
  15. Tighten
    Tighten the screws to 58 N·m (43 lb in).


    Object Number: 446998  Size: SH
  16. Insert J 21552 into the bore of the rack piston (2) while turning the worm shaft (1) counterclockwise. The turning of the worm shaft (1) forces the rack piston (2) onto J 21552 . The rack piston balls remain in place.

  17. Object Number: 322025  Size: SH
  18. Install the flat races (2) and (4) the roller thrust bearing (3) onto the worm shaft (1).
  19. Install the worm shaft (1) to the steering gear housing.
  20. Install the valve. Refer to Steering Gear Thrust Support Replacement - Off Vehicle (Saginaw - 710 Model) .
  21. Install the rack piston to the worm shaft (1) from J 21552 , using J 8947 to compress the seals.

  22. Object Number: 446937  Size: SH

    Important: Reinstall all of the rack piston balls into the rack piston. Improper rack piston ball installation may result in personal injury.

  23. Hold J 21552 tightly against the worm shaft (3) .
  24. Turn the stub shaft clockwise until the rack piston (1) is seated on the worm shaft (3).
  25. Remove J 21552 from the rack piston (1).
  26. Install the rack piston plug (4).
  27. Tighten
    Tighten the rack piston plug (4) to 150 N·m (111 lb ft).

  28. Install the steering gear housing end plug. Refer to Steering Gear Housing Plug Replacement - Off Vehicle .
  29. Install the pitman shaft.
  30. Install the side cover. Refer to Steering Gear Pitman Shaft and Housing Cover Replacement - Off Vehicle .