GM Service Manual Online
For 1990-2009 cars only
Makes
🢒
Chevrolet
🢒
1999
🢒
Chevy P42 Commercial Chassis
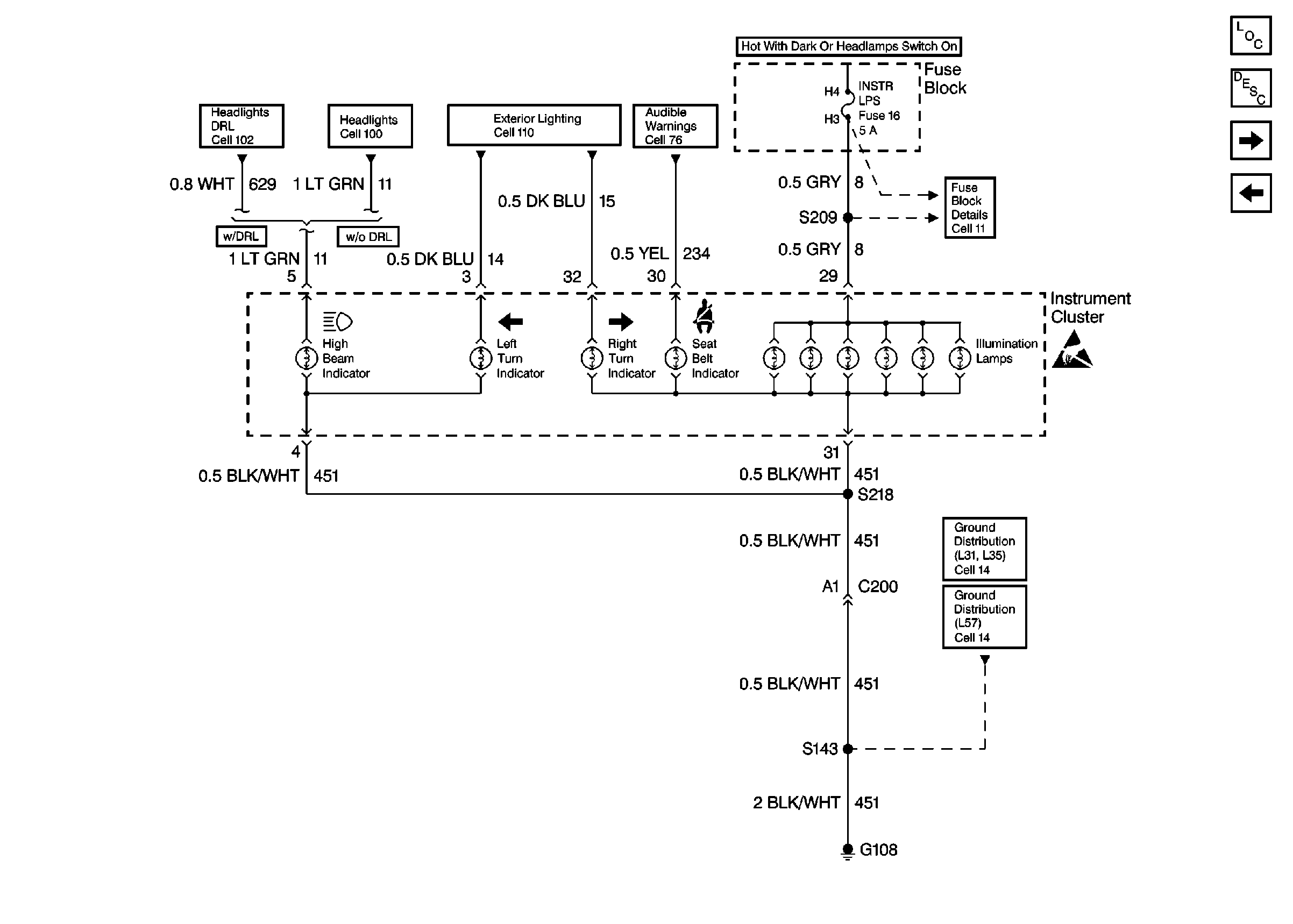
🢒 Cell 81: Indicators and Illumination Lamps
Cell 81: Indicators and Illumination Lamps
Cell 81: Indicators and Illumination Lamps
Instrument Panel, Gages, and Console Component Views P42
Instrument Cluster Circuit Description
Cell 81: Gauges [L57]
Cell 81: Indicators
Cell 102: DRL Indicator
Cell 100
Cell 110: Headlamps Switch and Turn Signal Indicators
Cell 76
Cell 11: INSTR LPS, TRANS, and ENG-I fuses
Handling ESD Sensitive Parts Notice
Cell 14: G108 [L57]
Cell 14: G108 [L31/L35]