GM Service Manual Online
For 1990-2009 cars only
Makes
🢒
Chevrolet
🢒
1999
🢒
Chevy P42 Commercial Chassis
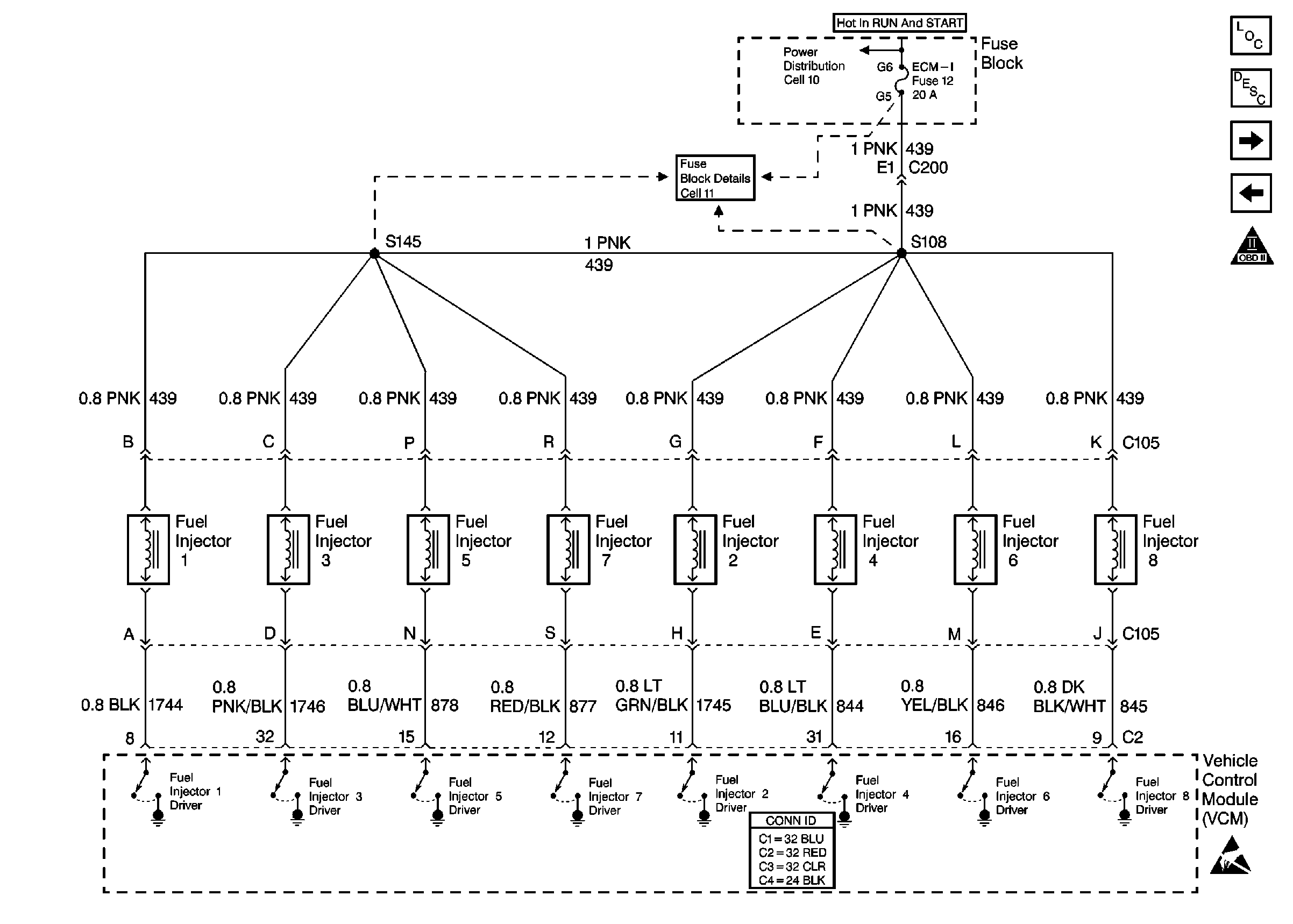
🢒 Cell 21: Fuel Controls - Injectors
Cell 21: Fuel Controls - Injectors
Cell 21: Fuel Controls -- Injectors
Engine Controls Components
Central Sequential Duel Injection Fuel System Description
Cell 21: Engine Data Sensors - MAP, IAT, TP ECT
Cell 21: Fuel Controls - Pump Control
OBD II Symbol Description Notice
Cell 11: ECM-I fuse [L35]
Cell 10: Ignition Switch and Fuse Block
Handling ESD Sensitive Parts Notice