GM Service Manual Online
For 1990-2009 cars only

STG. COLUMN LOWER BRACKET MAY BECOME LOOSE (INST. BRACKETS)

SUBJECT: STEERING COLUMN LOWER BRACKET MAY BECOME LOOSE (INSTALL SERVICE BRACKETS)

MODELS: 1988-94 CHEVROLET AND GMC TRUCK P3 MODELS

CONDITION:

THE STEERING COLUMN MAY BECOME LOOSE AT THE FLOOR RESULTING IN MOVEMENT OF THE LOWER COLUMN WITHIN THE DRIVER'S ISLAND CLEARANCE HOLE. THIS COULD CAUSE SOME DRIVERS TO COMMENT OF A RATTLING NOISE. STEERING IS NOT AFFECTED.

CAUSE:

LOWER STEERING COLUMN SUPPORT BRACKET FLANGE FATIGUE.

CORRECTION:

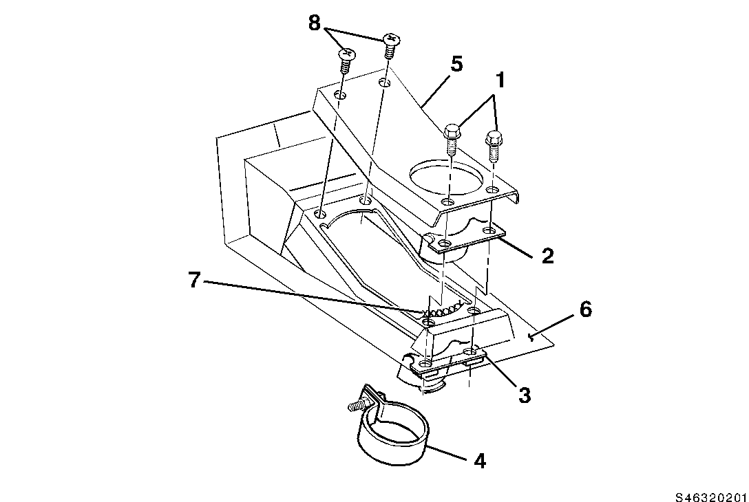
1. BLOCK AND SECURE THE VEHICLE. REFER TO SECTION OA IN THE P3 AND P/G CHASSIS SERVICE MANUAL NATP-9432. 2. IDENTIFY THE TYPE OF FRONT AXLE ASSEMBLY ON THE VEHICLE, IT WILL HAVE EITHER AN INDEPENDENT OR I-BEAM SUSPENSION. - IF THE VEHICLE IS EQUIPPED WITH AN INDEPENDENT SUSPENSION, REFER TO FIGURE 1. - IF THE VEHICLE IS EQUIPPED WITH AN I-BEAM SUSPENSION, REFER TO FIGURE 2. 3. REMOVE THE LEFT FRONT WHEEL ASSEMBLY. REFER TO SECTION 3E-9 IN THE P3 AND P/G CHASSIS SERVICE MANUAL NATP-9432. IT MAY BE NECESSARY TO REMOVE THE INNER FENDER TO ACCESS THE INSPECTION AND REPAIR AREA. 4. THROUGH THE WHEEL HOUSE OPENING, LOOSEN THE CLAMP BOLT ASSEMBLY (ITEM 4) FROM THE STEERING COLUMN SHAFT AND SLIDE THE ASSEMBLY OUT OF THE WAY. 5. PROCEED TO THE INTERIOR OF THE VEHICLE AND LOCATE THE STEERING COLUMN LOWER PANEL TO THE FLOOR COVER (ITEM 5). IT MAY BE NECESSARY TO PULL THE FLOOR MAT BACK TO PROVIDE ADEQUATE ACCESS. 6. IF EQUIPPED WITH AN INDEPENDENT SUSPENSION, REMOVE THE LOWER TWO ORIGINAL ATTACHMENT FASTENERS (FIGURE 1, ITEM 1) AND DISCARD. USE A 3/8 INCH DRILL BIT AND DRILL THROUGH THE UPPER PANEL (FIGURE 1, ITEM 5) AND THE LOWER PANEL (FIGURE 1, ITEM 6). REMOVE THE UPPER TWO ATTACHMENT FASTENERS (FIGURE 1, ITEM 8) AND SAVE. LIFT THE PANEL AND FLOOR SEAL ASSEMBLY SLIDING THEM UP THE STEERING COLUMN SHAFT AND SECURE OUT OF THE WAY.

IF EQUIPPED WITH AN I-BEAM AXLE, REMOVE THE UPPER TWO ORIGINAL ATTACHMENT FASTENERS (FIGURE 2, ITEM 1) AND DISCARD. USE A 3/8 INCH DRILL BIT AND DRILL THROUGH THE UPPER PANEL, (FIGURE 2, ITEM 5) AND THE LOWER PANEL, (FIGURE 2, ITEM 6). REMOVE THE LOWER TWO ORIGINAL ATTACHMENT FASTENERS (FIGURE 2, ITEM 8) AND SAVE. LIFT THE PANEL AND FLOOR SEAL ASSEMBLY, SLIDING THEM UP THE STEERING COLUMN SHAFT AND SECURE OUT OF THE WAY. 7. LOCATE THE EXISTING CLAMP FLANGE AREA (ITEM 7) (MARKED WITH X'S). THE FLANGE MAY BE COMPLETELY OR PARTIALLY BROKEN OR CRACKED. TRIM THE FLANGE EDGE TO REMOVE ALL RADII MATERIAL THAT IS NOT FLUSH WITH THE FLOOR PAN ASSEMBLY. IT WILL BE NECESSARY TO CUT OR GRIND THE OLD FLANGE AREA. 8. POSITION THE NEW STEERING COLUMN LOWER BRACKET (ITEM 2) ON THE TOP OF FLOOR PAN (ITEM 6). LOWER THE FLOOR SEAL ASSEMBLY ON TOP OF THE BRACKET. THEN LOWER THE UPPER PANEL (ITEM 5) AND LOOSELY INSTALL THE TWO ORIGINAL ATTACHMENT FASTENERS (ITEM 8) INTO THE EXISTING NON-ENLARGED HOLES TO HOLD THE STEERING COLUMN FLOOR COVER IN POSITION. 9. AT THIS POINT, IT MAY TAKE TWO TECHNICIANS TO INSTALL THE NEW STEERING COLUMN LOWER BRACKET ASSEMBLY (ITEM 3). THROUGH THE WHEEL HOUSE OPENING, ALIGN THE BRACKET ASSEMBLY TO THE PREVIOUSLY DRILLED HOLES IN THE FLOOR PAN (ITEM 6) AND HOLD IN POSITION. FROM INSIDE THE VEHICLE, HAVE A SECOND TECHNICIAN INSTALL THE NEW BOLTS THROUGH THE ENLARGED HOLES IN THE UPPER PANEL (ITEM 5), THE FLOOR SEAL, THE BRACKET ASSEMBLY (ITEM 2), AND THE FLOOR PAN (ITEM 6). TURN THE BOLT (ITEM 1) TO HAVE A POSITIVE THREAD ENGAGEMENT WITH THE WELD NUT LOCATED ON THE LOWER STEERING COLUMN BRACKET (ITEM 3) AND TORQUE THE BOLT TO 17 N.M (12.5 LBS. FT.). TIGHTEN THE SCREWS (ITEM 8) AND REPOSITION THE FLOOR MAT. 10. REINSTALL THE CLAMP ASSEMBLY (ITEM 4) AROUND THE NEW STEERING COLUMN LOWER BRACKET ASSEMBLY. TIGHTEN CLAMP NUT TO 17 N.M (12.5 LBS. FT.). 11. REINSTALL THE INNER FENDER ASSEMBLY. 12. REINSTALL THE LEFT FRONT WHEEL ASSEMBLY. REFER TO SECTION 3E-9 IN THE NATP-9432 SERVICE MANUAL.

SERVICE PARTS INFORMATION:

P/N DESCRIPTION QUANTITY 15989777 SERVICE KIT - INDEPENDENT SUSPENSION 1 15991038 SERVICE KIT - I-BEAM SUSPENSION 1

PARTS ARE CURRENTLY AVAILABLE FROM GMSPO.

WARRANTY INFORMATION:

FOR VEHICLES REPAIRED UNDER WARRANTY, USE:

LABOR OP DESCRIPTION LABOR TIME E7642 BRACKET ASSEMBLY, INSTALL 0.8 HRS.

FIGURES: 2

CAPTIONS: FIGURE 1 - INDEPENDENT FRONT SUSPENSION FIGURE 2 - I-BEAM FRONT SUSPENSION


Object Number: 82943  Size: FS


Object Number: 82942  Size: FS

GENERAL MOTORS BULLETINS ARE INTENDED FOR USE BY PROFESSIONAL TECHNICIANS, NOT A "DO-IT-YOURSELFER". THEY ARE WRITTEN TO INFORM THOSE TECHNICIANS OF CONDITIONS THAT MAY OCCUR ON SOME VEHICLES, OR TO PROVIDE INFORMATION THAT COULD ASSIST IN THE PROPER SERVICE OF A VEHICLE. PROPERLY TRAINED TECHNICIANS HAVE THE EQUIPMENT, TOOLS, SAFETY INSTRUCTIONS AND KNOW-HOW TO DO A JOB PROPERLY AND SAFELY. IF A CONDITION IS DESCRIBED, DO NOT ASSUME THAT THE BULLETIN APPLIES TO YOUR VEHICLE, OR THAT YOUR VEHICLE WILL HAVE THAT CONDITION. SEE A GENERAL MOTORS DEALER SERVICING YOUR BRAND OF GENERAL MOTORS VEHICLE FOR INFORMATION ON WHETHER YOUR VEHICLE MAY BENEFIT FROM THE INFORMATION.

COPYRIGHT 1994 GENERAL MOTORS CORPORATION. ALL RIGHTS RESERVED.