GM Service Manual Online
For 1990-2009 cars only

FRONT SUSPENSION NOISE / TRUCK LEANS

SUBJECT: FRONT SUSPENSION NOISE/TRUCK LEANS EXCESSIVELY ON TURNS (INSTALL NEW SERVICE KIT)

MODELS: 1985-95 CHEVROLET AND GMC TRUCK P300 WITH RPO FS3 (I-BEAM AXLE)

CONDITION:

SOME CUSTOMERS MAY COMMENT ABOUT A NOISE FROM THE FRONT SUSPENSION AND/OR THAT THE TRUCK LEANS EXCESSIVELY ON TURNS.

CAUSE:

THE FRONT STABILIZER SHAFT CLAMP BOLTS MAY HAVE BROKEN AT THE FRAME RAIL.

CORRECTION:

A FRONT STABILIZER SHAFT SERVICE KIT, WITH NEW PARTS HAS BEEN RELEASED. INSTALL THE KIT FOLLOWING THE SERVICE PROCEDURE BELOW.

SERVICE PROCEDURE

1. RAISE THE VEHICLE AND SUPPORT WITH SAFETY STANDS.

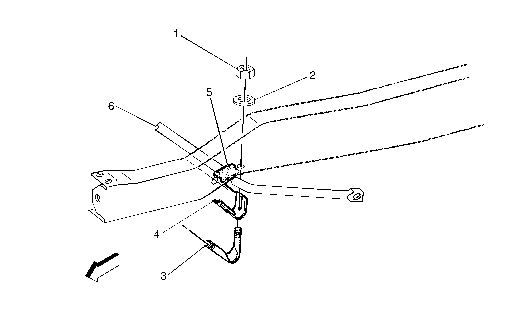
2. REMOVE NUTS (1), WASHERS (2), CLAMP BOLT (3), AND CLAMP (4) (FIGURE 1).

3. REMOVE INSULATOR (5) FROM THE STABILIZER SHAFT (6) (FIGURE 1) AND DISCARD.

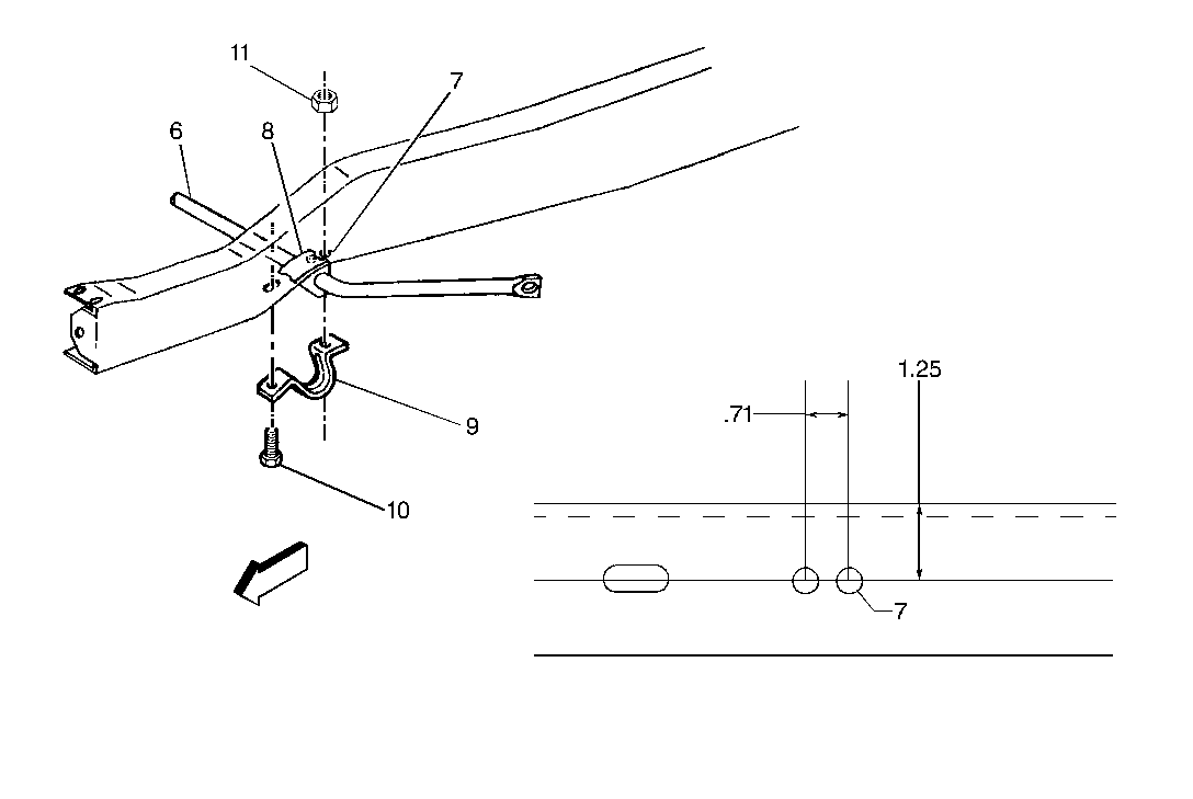
4. DRILL ONE .406 INCH DIAMETER HOLE AT TWO LOCATIONS AS DESCRIBED IN THE INSTRUCTION SHEET INCLUDED WITH THE KIT. DRILL EACH NEW HOLE AT 0.71 INCHES FROM THE EXISTING FRAME RAIL HOLE AND INBOARD 1.25 INCHES (7) (FIGURE 2). ONE NEW HOLE IS REQUIRED ON EACH FRAME RAIL.

CAUTION:

WEAR SAFETY GLASSES DURING THIS OPERATION TO AVOID EYE INJURY FROM DEBRIS.

5. INSTALL THE NEW INSULATOR (8) (FIGURE 2) WITH THE SPLIT TOWARD THE FRONT OF THE VEHICLE.

6. INSTALL NEW CLAMPS (9), BOLTS (10) AND NUTS (11) (FIGURE 2). TORQUE BOLTS TO 54 N.M (40 LB. FT.).

7. REMOVE SUPPORT STANDS.

8. LOWER THE VEHICLE.

SERVICE PARTS INFORMATION

P/N DESCRIPTION QTY 15723825 FRONT STABILIZER SHAFT SERVICE KIT 1

WARRANTY INFORMATION

FOR VEHICLES REPAIRED UNDER WARRANTY, USE:

LABOR OP DESCRIPTION LABOR TIME E2180 INSULATOR AND/OR BRACKET USE PUBLISHED FRONT STABILIZER AT FRAME LABOR OPERATION REPLACE TIME

FIGURES: 2

CAPTIONS: FIGURE 1 - ORIGINAL STABILIZER SHAFT CLAMP ASSEMBLY FIGURE 2 - NEW STABILIZER SHAFT CLAMP ASSEMBLY


Object Number: 82657  Size: MF


Object Number: 82656  Size: FS

GENERAL MOTORS BULLETINS ARE INTENDED FOR USE BY PROFESSIONAL TECHNICIANS, NOT A "DO-IT-YOURSELFER". THEY ARE WRITTEN TO INFORM THOSE TECHNICIANS OF CONDITIONS THAT MAY OCCUR ON SOME VEHICLES, OR TO PROVIDE INFORMATION THAT COULD ASSIST IN THE PROPER SERVICE OF A VEHICLE. PROPERLY TRAINED TECHNICIANS HAVE THE EQUIPMENT, TOOLS, SAFETY INSTRUCTIONS AND KNOW-HOW TO DO A JOB PROPERLY AND SAFELY. IF A CONDITION IS DESCRIBED, DO NOT ASSUME THAT THE BULLETIN APPLIES TO YOUR VEHICLE, OR THAT YOUR VEHICLE WILL HAVE THAT CONDITION. SEE A GENERAL MOTORS DEALER SERVICING YOUR BRAND OF GENERAL MOTORS VEHICLE FOR INFORMATION ON WHETHER YOUR VEHICLE MAY BENEFIT FROM THE INFORMATION.

COPYRIGHT 1995 GENERAL MOTORS CORPORATION. ALL RIGHTS RESERVED.