GM Service Manual Online
For 1990-2009 cars only
Makes
🢒
Chevrolet
🢒
1998
🢒
Chevy Suburban 4WD - RHD
🢒
Body and Accessories
🢒
Wiring Systems
🢒 Power Distribution Schematics
Figure
1:
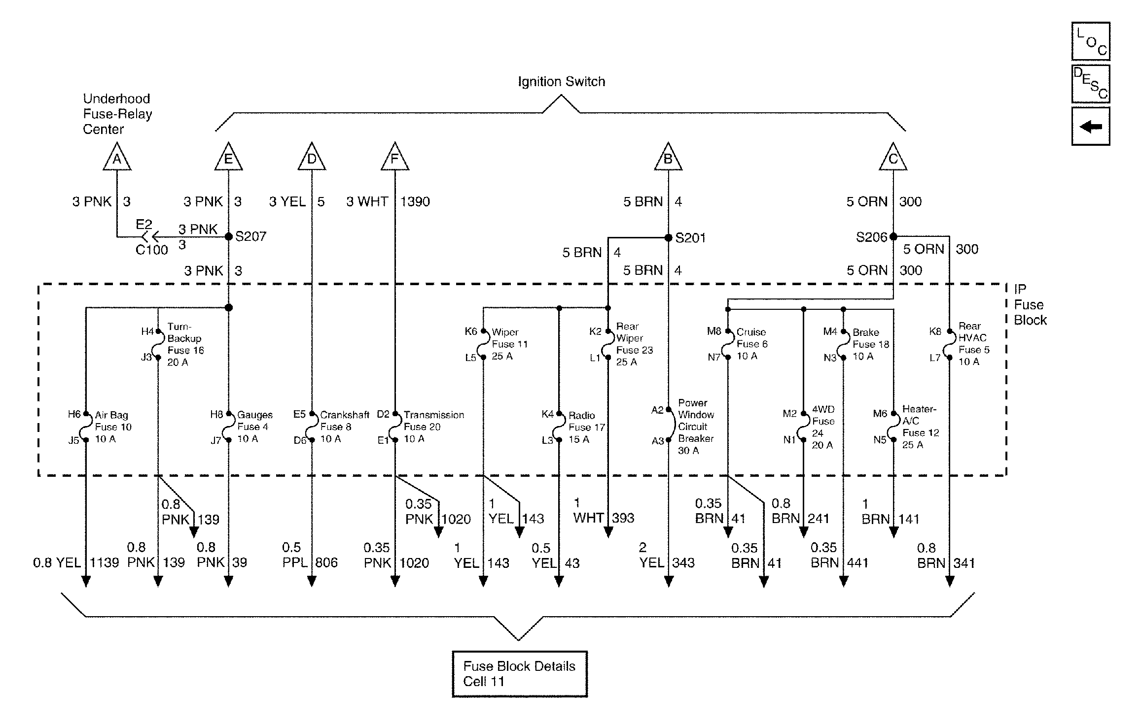
Cell 10: Underhood Fuse Relay Center
Power and Grounding Components
Cell 10: IP Fuse Block
Figure
2:
Cell 10: IP Fuse Block
Power and Grounding Components
Cell 10: Underhood Fuse Relay Center